63328 (695289)
Текст из файла
БЕЛОРУССКИЙ ГОСУДАРСТВЕННЫЙ УНИВЕРСИТЕТ ИНФОРМАТИКИ И РАДИОЭЛЕКТРОНИКИ
КАФЕДРА РЭС
РЕФЕРАТ
НА ТЕМУ:
ФИЗИКО-ТОПОЛОГИЧЕСКАЯ МОДЕЛЬ ИНТЕГРАЛЬНОГО БИПОЛЯРНОГО п-р-п-ТРАНЗИСТОРА
МИНСК, 2009
Физико-топологическая модель — модель расчета электрических параметров, исходными параметрами которой являются электрофизические характеристики полупроводниковой структуры и топологические размеры транзистора (см. рис.1). Электрофизические характеристики: концентрация собственных носителей заряда, ширина запрещенной зоны и диэлектрическая проницаемость полупроводника, времена жизни, тепловые скорости, концентрации и сечения ловушек захвата, подвижности, коэффициенты диффузии и концентрации примесных электронов и дырок. Многие из этих параметров зависят от профиля легирования (распределения концентрации легирующих примесей вглубь) транзисторной структуры.
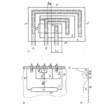
Топологические размеры: длина эмиттера Lэ; ширина эмиттера Zэ; расстояния от базового контакта до края базы dбб.
Параметры профиля легирования (см. рис. 1,в): концентрация донорной примеси в эпитаксиальном коллекторном слое Nдк, глубины залегания р-п-переходов коллектор-база хк и эмиттер-база хэ, концентрации акцепторной примеси на поверхности базы Nan и донорной примеси на поверхности эмиттера Nдn, толщина эпитаксиальной пленки WЭП.
Распределение концентрации акцепторной примеси при формировании базы путем двухстадийной диффузии находится из выражения
(1)
где t1a и t2a — время "загонки" и "разгонки" акцепторной примеси;
D1a и D2a — коэффициенты диффузии акцепторной примеси при "загонке" и "разгонке".
Рис. 1. Разрез структуры и топология БТ: а - структура БТ; б - эскиз топологии БТ;в - параметры профиля легирования БТ
Распределение концентрации донорной примеси при формировании эмиттера путем одностадийной диффузии рассчитывается по формуле
(2)
где Dд и tд — коэффициент и время диффузии донорной примеси.
Коэффициент диффузии определяется выражением
D = Doexp(∆E/KT), (3)
где Do — постоянная коэффициента диффузии примеси;
∆E — энергия активации примеси;
К — постоянная Больцмана;
Т — абсолютная температура диффузии примеси.
Согласно (1) и (2) для расчета концентрации на любой глубине х транзисторной структуры необходимо знать значения времени диффузии t2a и tд (t1a задается), которые определяются при решении уравнений
Na ( xк, t ) = Nдк, (4)
Nд ( xэ, t ) = N.( xэ, t2а ). (5)
Уравнения (4) и (5) являются условиями образования p-n-перехода. При решении этих уравнений относительно t2a и tд величины Naп, Nдn, Nдк, хэ, хк являются исходными параметрами модели и задаются разработчиком.
Интегральные БТ работают при малых токах коллектора Iк (1... 1000 мкА).
При таких токах коллектора статический коэффициент передачи тока в схеме с общим эмиттером может быть рассчитан по формуле
(6)
где Iби — составляющая тока базы, обусловленная инжекцией дырок из базы в эмиттер;
Iбп и Iб р-п — составляющие тока базы, обусловленные рекомбинацией на поверхности пассивной базы и в области пространственного заряда (ОПЗ) р-п-перехода база-эмиттер.
Для БТ, включенного по схеме с общим эмиттером (ОЭ), соблюдается следующее соотношение между токами эмиттера Iэ, коллектора Iк и базы Iб:
(7)
Для типичных значений Вст > 20 можно с погрешностью менее пяти процентов записать Iз = Iк.
Ток Iэ обусловлен движением электронов, инжектированных из эмиттера в базу от эмиттерного к коллекторному p-n-переходу. Движение электронов по базе обусловлено двумя механизмами: диффузией и дрейфом. Диффузия электронов происходит из-за возникновения градиента электронов в результате увеличения их концентрации у эмиттерного края базы вследствие инжекции. Дрейф (движение под действием электрического поля) электронов по базе обусловлен наличием в ней ускоряющего поля, образующегося в неравномерно легированной (диффузионной базе) в результате диффузии дырок от эмиттерного к коллекторному краю базы. Возникает это поле в части базы, расположенной под эмиттером. На основании изложенного ток эмиттера может быть рассчитан по формуле
, (8)
где q — заряд электрона;
μп(х) — подвижность электронов в базе;
Е(х) — напряженность поля в базе;
п(х) — концентрация электронов в базе;
Dn(x) — коэффициент диффузии электронов в базе;
dn(x)/dx — градиент электронов в базе.
Концентрация инжектированных электронов описывается выражением
(9)
где про(х) — равновесная концентрация (при Uэб = 0) электронов в точке (см. рис. 1,в), которая определяется соотношением
(10)
где ni, - концентрация собственных носителей зарядов в кремнии.
Согласно (9) и (10) при уменьшении концентрации |Na(xэ")-Nд(xэ")| увеличивается концентрация инжектированных электронов в базу. Из чего следует, что инжекция электронов в данной части эмиттера будет больше, чем в базовой. Кроме того, в базе под эмиттером имеет место ускоряющее попе. Следовательно, наибольший ток эмиттера протекает через дно эмиттерной области и часть базы, расположенной под ней. Поэтому базу под эмиттером называют "активной", а окружающую эмиттер - "пассивной".
Подвижность μп(х) и коэффициент диффузии Dn(x) растут с уменьшением концентрации легирующей примеси в базе (благодаря уменьшению столкновений с ионами легирующей примеси).
Напряженность поля Е(х) равна
(11)
где φТ = k∙T/q — температурный потенциал,
W'б = х'к- хэ" — толщина квазинейтральной базы (см. рис.1,в).
Из выражения (11) следует, что Е(х) увеличивается при уменьшении концентрации Nк и координаты х'к.
Границы областей пространственного заряда (ОПЗ) р-п-переходов, определяющие толщину квазинейтральной базы, рассчитываются следующим образом.
Переход база-эмиттер можно считать плавным и ширина его ОПЗ равна
(12)
где α(xэ)=dn(xэ)/dx — градиент распределения концентрации легирующих примесей в ОПЗ, снижающийся при их уменьшении;
εεо — диэлектрическая проницаемость кремния;
фкз — потенциальный барьер p-n-перехода база-эмиттер.
Потенциальный барьер p-n-перехода база-эмиттер рассчитывается по формуле
(13)
Ширина ОПЗ p-n-перехода коллектор-база
(14)
где
— характеристическая длина в распределении акцепторов в базе;
фкк и Uкб — потенциальный барьер и напряжение на р-п-переходе коллектор-база.
Потенциальный барьер p-n-перехода коллектор-база находится из выражения
(15)
Из соотношений (12)...(15) следует, что ширина p-n-переходов база-эмиттер и коллектор-база увеличивается при уменьшении концентрации легирующих примесей в них, в частности при уменьшении Na(xэ) и Nдк.
Напряжение Uкб при включении БТ по схеме с ОЭ определяется из соотношения
(16)
где Uкэ — напряжение питания коллектора в схеме с ОЭ;
Rк — сопротивление области коллектора, по которой течет ток Iк.Граница ОПЗ p-n-перехода коллектор-база в базе х'к равна
(17)
Сопротивление области коллектора в соответствии с рис. 1,а определяется выражением (при этом сопротивление скрытой коллекторной области n+-типа и подконтактной области n+-типа не учитываются)
(18)
Градиент dn/dx можно найти из соотношения
(19)
или в соответствии с выражениями (9) и (10):
(20)
С учетом (10), (11) и (20) выражение (8) можно преобразовать к следующему виду:
(21)
где
‑ начальное (при Uбэ = 0) значение тока эмиттера.
Инжекционная составляющая тока базы Iби согласно (1) определяется выражением
(22)
где
— начальное значение тока;
— равновесная концентрация дырок в эмиттере;
— напряженность тормозящего поля в эмиттере, образующегося в результате диффузии электронов от поверхности к р-п-переходу эмиттер-база;
— время жизни инжектированных дырок в эмиттере.
Рекомбинационная составляющая тока базы Iбп согласно (1) описывается выражением
(23)
где
— начальное значение тока;
q — концентрация ловушек захвата электронов и дырок;
Sn, Sp — сечения ловушек захвата электронов и дырок;
Vtn, Vtp — тепловые скорости электронов и дырок;
Dп пов — коэффициент диффузии электронов на поверхности пассивной базы;
τп пов — время жизни электронов на поверхности пассивной базы;
Рэ — периметр эмиттера.
Параметры Nt, Sn, Sp, Vtn, Vtp не зависят от топологических размеров и профиля легирования. Коэффициент Dп пов и время τп пов слабо зависят от концентрации акцепторов на поверхности. Кроме того, следует заметить, что ток Iбр в отличие от других составляющих тока базы пропорционален не площади, а периметру эмиттера. Последнее обстоятельство необходимо учитывать при анализе зависимости коэффициента передачи тока от топологических размеров эмиттера.
Рекомбинационная составляющая тока базы Iбр-п согласно (1) находится из выражения
(24)
где
— времена жизни электронов и дырок в ОПЗ р-п-перехода эмиттер-база.
Времена τпо и τро уменьшаются с ростом концентрации легирующих примесей в ОПЗ.
На рис.2 приведены графики зависимостей всех рассмотренных токов от напряжения Uбэ, построенные для типичных значений электрофизических параметров (1), определяющих значения этих токов.
Рис. 2. Графики зависимостей:
а ‑ токов Iк, Iби, 1бn, 1бp-n, от напряжения Uбэ;
б ‑ коэффициента передачи тока от коллектора
Следует отметить, что рекомбинационные токи слабее зависят от напряжения база-эмиттер, что учитывается коэффициентом два в знаменателе экспоненциальных множителей выражений (23) и (24).
С учетом (6) и графиков, приведенных на рис.2,а, можно построить график зависимости Вст(Iк), представленный на рис.2,б.
Сильная зависимость коэффициента передачи тока от тока коллектора имеет место в диапазоне рабочих токов коллектора БТ. Поэтому при проведении исследований зависимости коэффициента Вст(Iк) от конструктивно-технологических параметров необходимо поддерживать ток Iк постоянным, что обеспечивается соответствующим изменением напряжения прямого смещения на p-n-переходе база эмиттер Uбэ. Напряжение Uбэ, обеспечивающее заданный ток Iк, с учетом принятого ранее допущения Iэ = Iк и соотношения (21) может быть рассчитано по формуле
(25)
Из выражения (25) следует, что при увеличении Iэо, которое может произойти при изменении конструктивно-технологических параметров БТ (при проведении соответствующих исследований), напряжение Uбэ.уменьшится, что приведет к уменьшению составляющих тока базы.
Граничная частота усиления БТ согласно (1) определяется выражением
, (26)
где
- постоянная цепи заряда барьерной емкости p-n-p-перехода база-эмиттер Сбэ;
Характеристики
Тип файла документ
Документы такого типа открываются такими программами, как Microsoft Office Word на компьютерах Windows, Apple Pages на компьютерах Mac, Open Office - бесплатная альтернатива на различных платформах, в том числе Linux. Наиболее простым и современным решением будут Google документы, так как открываются онлайн без скачивания прямо в браузере на любой платформе. Существуют российские качественные аналоги, например от Яндекса.
Будьте внимательны на мобильных устройствах, так как там используются упрощённый функционал даже в официальном приложении от Microsoft, поэтому для просмотра скачивайте PDF-версию. А если нужно редактировать файл, то используйте оригинальный файл.
Файлы такого типа обычно разбиты на страницы, а текст может быть форматированным (жирный, курсив, выбор шрифта, таблицы и т.п.), а также в него можно добавлять изображения. Формат идеально подходит для рефератов, докладов и РПЗ курсовых проектов, которые необходимо распечатать. Кстати перед печатью также сохраняйте файл в PDF, так как принтер может начудить со шрифтами.















