147725 (692032)
Текст из файла
Оглавление
Введение 2
1. Трансмиссия автомобиля Газ 3102 3
1.1 Краткая техническая характеристика автомобиля 3
1.2 Назначение, устройство и работа трансмиссии 4
1.3 Сцепление 5
1.4 Коробка передач 10
1.5 Карданная передача 13
1.6 Главная передача 15
1.7 Дифференциал и полуоси 16
2. Расчет тягово-скоростных показателей трансмиссии 18
3. Ходовая часть автомобиля ГАЗ-3102 25
3.1 Несущая система – кузов 26
3.2 Передняя подвеска 27
3.3 Задняя подвеска 30
3.4 Амортизаторы 31
3.5 Мосты и колеса 32
Заключение 34
Литература 35
Введение
Целью данной работы является познание автомобиля как сложной технической системы. В том числе для этого требуется знание трансмиссии и ходовой части автомобиля, изучение конструкции ее узлов, механизмов и агрегатов, как базовых элементов системы.
Для достижения поставленной цели описана трансмиссия и ходовая часть легкового автомобиля ГАЗ 3102. Дано иллюстрированное описание этих систем, а также посредством технического расчета найдены крутящий момент и частота вращения валов на выходе всех агрегатов трансмиссии.
1. Трансмиссия автомобиля Газ 3102
1.1 Краткая техническая характеристика автомобиля
Автомобиль ГАЗ 3102 "Волга" (см. рисунок 1.1) - пятиместный легковой автомобиль с передним продольным расположением двигателя. Кузов - несущей конструкции, цельнометаллический, сварной, типа седан. Маркировка автомобиля означает по ГОСТ Р 52051-2003 "Механические транспортные средства и прицепы. Классификация и определение": 31 - класс легковых автомобилей с рабочим объемом двигателя от1800 до 3499 см3; 02-порядковый номер модели. На автомобиль ГАЗ 3102 устанавливается двигатель ЗМЗ-4021 - бензиновый, четырехтактный, четырехцилиндровый, рядный, с верхним расположением распределительного вала. Система питания - карбюраторная. Краткие технические данные приведены по [1, Прил.1] в таблице 1.1
Рисунок 1.1 Автомобиль ГАЗ 3102
Таблица 1.1. Техническая характеристика автомобиля ГАЗ 3102
| Наименование параметра | Значение параметра |
| 1 | 2 |
| Колесная формула | 4*2 |
| Количество мест спереди/сзади. | 2/3 |
| Собственная масса, кг | 1600 |
| Полезная нагрузка, кг | 400 |
| Длина, мм | 4960 |
| Ширина, мм | 1800 |
| Высота снаряженного автомобиля (по кабине), мм | 1422 |
| Колея колес, мм: переднего моста заднего моста | 1500 1444 |
| Максимальная скорость движения, км/ч, не менее | 150 |
| Контрольный расход топлива на 100 км пути при 80 км/ч, л, не более | 8,5 |
1.2 Назначение, устройство и работа трансмиссии
Трансмиссия трактора (автомобиля) объединяет агрегаты и механизмы, передающие крутящий момент двигателя ведущим колесам и изменяющие крутящий момент и частоту вращения по величине и направлению. Трансмиссия необходима по следующим причинам.
Частота вращения валов двигателей значительно выше, чем скорость вращения ведущих колес даже при движении на высоких скоростях.
Сопротивление движению автомобиля меняется непрерывно и в широких пределах. Это объясняется колебаниями удельного сопротивления почвы и загрузки рабочих органов машин, изменениями сопротивления качению колес и сцепления их с грунтом или дорогой, возникающими на пути движения подъемами и уклонами и т.д.
Соответственно этому требуется менять крутящий момент, подводимый к ведущим колесам, как для преодоления возросших сопротивлений, так и для более полного использования мощности двигателя, получения высокой производительности при наименьшем расходе топлива.
Двигатели внутреннего сгорания обладают весьма ограниченными свойствами саморегулирования - автоматического изменения крутящего момента и частоты вращения в зависимости от колебания внешних сопротивлений.
Этими причинами и обусловлена необходимость применения трансмиссий на тракторах и автомобилях. Трансмиссии подразделяются на следующие виды: механические, гидромеханические, гидрообъемные, электромеханические, ступенчатые, бесступенчатые и автоматические. Трансмиссия автомобиля ГАЗ 3102 относится к числу механических.
1.3 Сцепление
Сцепление (рисунок 1.2) автомобиляГАЗ-3102 - сухое, однодисковое. Состоит из следующих основных частей: ведущего диска, кожуха, нажимного диска, рычагов выключения сцепления, опорных вилок и пружин, ведомого диска в сборе.
На боковых поверхностях кожуха 14 имеются три прямоугольных окна, в которые входят выступы нажимного диска 9. Такое соединение обеспечивает передачу крутящего момента от кожуха на нажимной диск, а также центрирование и возможность осевого перемещения нажимного диска относительно кожуха. Нажимное усилие создается с помощью девяти двойных (наружной и внутренней) пружин, расположенных между кожухом и нажимным диском.
1-шаровая опора; 2-регулировочная гайка; 3, 16, 17-пружины; 4-опорная вилка; 5 - вилка выключения сцепления; 6 - толкатель; 7 - рабочий цилиндр; 8-маховик; 9 - нажимный диск; 10-рычаг выключения сцепления; 11 - картер; 12-ведомый диск; 13-теплоизолирующая шайба; 14-кожух; 15-главный цилиндр; 18-подшипник выключения сцепления; 19-муфта выключения сцепления; 20 - защитные поролоновые кольца; 21 - толкатель; 22 - педаль
Рисунок 1.2 Сцепление и привод выключателя сцепления
Рычаги выключения сцепления 10 располагаются в прорезях выступов нажимного диска и с помощью осей и игольчатых подшипников соединяются с нажимным диском и опорными вилками 4, которые шарнирно закреплены на кожухе посредством конических пружин 3 и сферических регулировочных гаек 2.
Ведомый диск сцепления (рисунок 1.3) имеет две фрикционные накладки 7, приклепанные независимо одна от другой к пластинчатым пружинам 8. При увеличении нажатия на нажимный диск пластинчатые пружины постепенно распрямляются, обеспечивая более плавное включение сцепления. Пластинчатые пружины 8 в свою очередь приклепаны к диску 6, который с помощью пальцев 10 соединен с диском 11.
1 - пружина гасителя; 2-теплоизолирующая шайба; 3-фрикционная шайба; 4, 5 - заклепки; 5, 11 - диски; 7 - фрикционные накладки; 8 - пластинчатая пружина; 9 - пружина демпфера; 10 - палец; 12-ступица; 13-балансировочный грузик; 14 - упор
Рисунок 1.3 Ведомый диск сцепления
Цилиндрические демпферные пружины 9 расположены одновременно в окнах ступицы 12 и дисков.6,11. При передаче крутящего момента от фрикционных накладок к ступице пружины сжимаются и обеспечивают плавную передачу крутящего момента от двигателя к. трансмиссии. Поворот фрикционных накладок с дисками относительно ступицы ограничен упором пальцев 10 в края U-образных вырезов.
Ведомый диск сцепления снабжен фрикционным гасителем крутильных колебаний, состоящим из фрикционной шайбы 3, сидящей на лысках ступицы 12 и зажатой между диском 6 и теплоизолирующей шайбой 2. Гашение колебаний происходит благодаря трению между этими деталями при повороте диска 6 с фрикционными накладками относительно ступицы. Постоянство усилия сжатия шайбы 2, а следовательно, и постоянство момента трения в гасителе обеспечивается пружиной 1, упирающейся в отбортовку упора 14, зафиксированного в канавке ступицы ведомого диска.
Наружный диаметр фрикционной накладки равен 225 мм, внутренний-150 мм, толщина накладки 3,5 мм. Размерность шлицев ступицы ведомого диска 4х23х29, число шлицев - 10.
В подшипник выключения сцепления и муфту подшипника заложены специальные смазки, не требующие замены в течение всего срока эксплуатации автомобиля.
Промывать подшипник выключения сцепления запрещается во избежание вымывания из него смазки.
Привод выключения сцепления гидравлический. Состоит из подвесной педали, главного цилиндра, трубопровода и рабочего цилиндра.
Расстояние от площадки педали до наклонной части пола (при снятом коврике) 185-200 мм. Положение педали регулируется изменением длины разрезного толкателя главного цилиндра.
Полный ход педали (включая и свободный ход), обеспечивающий выключение сцепления, 145-160 мм. Свободный ход 12-28 мм обеспечивается конструкцией и не регулируется.
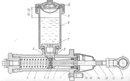
Главный цилиндр привода выключения сцепления показан на рисунке 1.4 Пружина 6 постоянно отжимает поршень в крайнее заднее положение до упора в шайбу 15. Между головкой толкателя и сферической впадиной на поршне предусмотрен постоянный зазор 0,3 - 0,9 мм, за счет которого обеспечивается наличие гарантированного свободного хода педали выключения сцепления.
1 и 4 - манжеты; 2 - поршень; 3 - пластина; 5 - корпус; 6 - пружина; 7-штуцер; 8 - бачок; 9 - сетчатый фильтр; 10 - крышка; 11 - проушина; 12 - контргайка; 13 - толкатель; 14 - чехол; 15 - упорная шайба; 16 - стопорное кольцо; А - компенсационное отверстие; Б - перепускное отверстие
Рисунок 1.4 Главный цилиндр привода выключения сцепления
При нажатии на педаль, происходит перемещение поршня и перекрытие компенсационного отверстия А, после чего рабочая жидкость вытесняется из главного цилиндра и перемещает поршень и толкатель рабочего цилиндра, передавая усилие от педали на вилку выключения сцепления.
При плавном отпускании педали сцепления происходит падение давления в системе и возвращение вытесненной жидкости в главный цилиндр.
При резком отпускании педали жидкость, вытесняемая из системы в главный цилиндр, не успевает заполнить освобожденное поршнем пространство и в главном цилиндре перед головкой поршня создается разряжение. Под его действием жидкость из питательного бачка через перепускное отверстие Б и отверстия в головке поршня проходит в полость перед головкой поршня, отодвигая при этом пружинную пластину 3 и сжимая края уплотнительной манжеты 4. В дальнейшем эта избыточная жидкость вытесняется через компенсационное отверстие обратно в питательный бачок.
Рабочий цилиндр привода выключения сцепления показан на рисунке 1.5 Пружина 1 постоянно отжимает поршень, толкатель и наружный конец вилки выключения сцепления в положение, при котором подшипник выключения сцепления с небольшим усилием упирается в концы рычагов выключения сцепления, и наружное кольцо подшипника вращается вместе с ними.
1-пружина; 2-корпус цилиндра; 3-поршень; 4-манжета; 5-стопорное кольцо; 6 - чехол; 7 - толкатель; 8 - клапан прокачки; 9 - резиновый колпачок
Рисунок 1.5. Рабочий цилиндр привода выключения сцепления
При изнашивании фрикционных накладок и перемещения в связи с этим концов рычагов выключения и сторону коробки передач через те же детали происходят перемещение поршня 3 и дополнительное сжатие пружины. Так как жесткость этой пружины небольшая, то поджатие подшипника к концам рычагов выключении увеличивается незначительно. Таким образом, компенсации износа фрикционных накладок происходит автоматически за счет смещения рабочей зоны поршня по длине рабочего цилиндра.
1.4 Коробка передач
Коробка передач (рисунок 1.6) механическая четырехступенчатая - четыре передачи переднего хода и одна заднего.
Характеристики
Тип файла документ
Документы такого типа открываются такими программами, как Microsoft Office Word на компьютерах Windows, Apple Pages на компьютерах Mac, Open Office - бесплатная альтернатива на различных платформах, в том числе Linux. Наиболее простым и современным решением будут Google документы, так как открываются онлайн без скачивания прямо в браузере на любой платформе. Существуют российские качественные аналоги, например от Яндекса.
Будьте внимательны на мобильных устройствах, так как там используются упрощённый функционал даже в официальном приложении от Microsoft, поэтому для просмотра скачивайте PDF-версию. А если нужно редактировать файл, то используйте оригинальный файл.
Файлы такого типа обычно разбиты на страницы, а текст может быть форматированным (жирный, курсив, выбор шрифта, таблицы и т.п.), а также в него можно добавлять изображения. Формат идеально подходит для рефератов, докладов и РПЗ курсовых проектов, которые необходимо распечатать. Кстати перед печатью также сохраняйте файл в PDF, так как принтер может начудить со шрифтами.














