147360 (691884), страница 2
Текст из файла (страница 2)
Пункты стоянки туристско-экскурсионных поездов должны иметь необходимые устройства для обслуживания пассажиров: бытовые помещения, устройства для подключения холодильных установок вагонов-ресторанов и вагонов с кондиционированием воздуха, устройства канализации от мест стоянки пассажирских вагонов и вагонов-ресторанов, склады топлива для снабжения пассажирских вагонов углем и брикетами и др. устройства.
5. Назначения и классификации пассажирских станций
Основное назначение пассажирских станций является обслуживание пассажиров, пассажирских и пригородных поездов.
В крупных городах с населением более 1,5 млн. человек или с большим пассажиропотоком в пассажирском комплексе может быть две и более пассажирские станции.
В менее крупных городах все примыкающие к узлу направления, как правило, обслуживает одна объединенная пассажирская станция, расположенная вблизи селитебной части города, с учетом обеспечения удобной транспортной связи с основными районами города и уличными магистралями.
На пассажирских станциях выполняются операции по обслуживанию пассажиров, производится продажа билетов, прием и выдача багажа, оказываются бытовые услуги пассажирам и т.д. При этом предъявляются современные требования к комфорту поездки и обслуживанию пассажира.
По характеру выполнения работы пассажирские станции делятся на три основных вида: собственно пассажирские, где производятся операции по обслуживанию и пропуску пассажирских поездов, а также все операции по оформлению поезда пассажиров и перевозки багажа и грузобагажа.
5.1 Технические пассажирские станции
Технические пассажирские станции имеют пути и устройства для экипировки, ремонта, дезинфекции и отстоя пассажирских составов, начинающих и заканчивающих свое следование на этой станции.
Основным назначением пассажирских технических станций является комплексная подготовка пассажирских составов в рейс, переформирование составов, погрузка выгрузка почты, багажа и грузобагажа, формирование почтовобагажных поездов, отцепочный и безотцепочный ремонт пассажирских вагонов.
Комплексная подготовка пассажирских составов в рейс включает: технический осмотр, наружную отчистку, обмывку и внутреннюю уборку, ремонт внутреннего оборудования, санитарную обработку, экипировку постельными принадлежностями, топливом и водой и переформирование состава.
На пассажирской технической станции проходят экипировку и межпоездной ремонт составы, приписанные к ней и оборачиваемые, приписанные к другим станциям.
Для выполнения операций по комплексной подготовке составов в рейс, пассажирской технической станции должны иметь следующие устройства:
парки приема, где выполняется грубая отчистка;
вагономоечные машины стационарные или передвижные.
Если станция формирует в рейс более 5 составов в сутки, необходимо сооружение ремонтно-экипировочного предприятия РЭД, где концентрируются все основные экипировочные операции: техническое обслуживание, в том числе экипировка составов водой, углем, подзарядка аккумуляторных батарей, экипировка вагонов-ресторанов.
На пассажирских технических станциях так же располагают мусоросборники, склад топлива, системы контроля готовности пассажирских составов в рейс, специальные пути для погрузки - выгрузке почтовых и багажных вагонов.
Необходимое техническое оснащение пассажирских технических станций зависит от объёма характера выполняемой работы.
Число приемоотправочных путей на пассажирской технической станции должно быть не менее числа одновременно находящихся на станции составов в любое время. Потребное число приемоотправочных путей для формируемых и оборачиваемых пассажирских составов дальнего следования в ориентировочных расчетах приведены в таблицах № 1,2. Для детальных расчетов путевого развития применяют метод имитационного моделирования работы станции, с учетом взаимного расположения парков станции, наличие в составах поездов почтовых, багажных вагонов и вагонов ресторанов, неравномерности поступления в обработку составов разных категорий.
Таблица1 Примечание: ПП - парк приема, ПО - парк отправления, ПОП - объединенный приемоотправочный парк, РЭД - ремонтное экипировочное предприятие, ЭП - экипировочные пути, ВММ - вагонная машина.
Таблица2
Основным видом являются станции, обслуживающие дальнее, местное и пригородное движение.
В зависимости от дальности поездки по железной дороге пассажиры подразделяются на следующие категории:
пассажиры дальнего следования (прямого и местного сообщения), в том числе транзитные;
пассажиры пригородного сообщения (пригородные).
К пассажирам дальнего следования относятся пассажиры дальних и местных поездов, следующие в пределах одной или нескольких дорог, как правило, на расстоянии свыше 200 км. К транзитным пассажирам - пассажиры дальнего следования, совершающие пересадку с поезда на поезд на данном вокзале. К пассажирам прямого сообщения - пассажиры дальнего следования, совершающие поездку в беспересадочных вагонах. К пассажирам местного сообщения - следующие на расстояние свыше 200 км, в пределах одной дороги.
К пригородным пассажирам относятся пассажиры пригородных поездов, следующих в пределах зон пригородного движения, как правило, в пределах до 150-200 км от головной станции.
Пассажирские станции выполняют следующие основные операции:
прием и отправление пассажирских и пригородных поездов,
подачу и уборку пригородных и пассажирских составов,
погрузку-выгрузку багажа, грузобагажа и почты,
посадку, высадку и обслуживание пассажиров,
обслуживание транзитных пассажирских поездов (технический осмотр, отцепка и прицепка групп или отдельных вагонов, снабжение при необходимости водой, топливом и другие операции),
обслуживание локомотивов пассажирских поездов (выполнение операций по подаче и уборке локомотивов, смене локомотивных бригад, а в некоторых случаях - техническое обслуживание и ремонт локомотивов).
Почтово-багажные сооружения и устройства, иногда располагаются на пассажирской станции (если их невозможно расположить на пассажирской технической станции). Они должны обеспечивать выполнение следующих операций:
прием, погрузку, сортировку, выгрузку и выдачу багажа, почты и грузобагажа,
отцепку и прицепку багажных и почтовых вагонов и подачу их к месту погрузки и выгрузки,
формирование почтово-богажных поездов в соответствии с планом формирования этих поездов на сети железных дорог России.
На путях отстоя пригородных составов выполняются операции по обслуживанию составов пригородных поездов: отстой, уборка, а в необходимых случаях - техническое обслуживание и ремонт. Основные операции по техническому обслуживанию и ремонту составов пригородных поездов должны быть сосредоточены на путях мотор-вагонных ремонтных предприятий.
Пассажирские станции, обслуживающие дальнее, местное и пригородное движения, в зависимости от характера приемоотправочных путей делятся на три типа: со сквозными приемоотправочными путями, тупикового и комбинированного типов.
По характеру эксплуатационной работы пассажирские станции делятся на два вида: транзитно-конечные, обслуживающие как конечные (дальние, местные и пригородные) поезда, так и транзитные (проходящие с остановкой) поезда и конечные станции, обслуживающие только конечные поезда.
К пассажирским станциям, обслуживающим только пригородное движение, относятся начальные пункты этого движения при отсутствии дальних поездов и зонные станции. Зонные станции часто совмещают с участковыми и промежуточными станциями. В этом случае к зонным станциям относятся лишь устройства для пассажирского движения. Пассажирские остановочные пункты можно считать элементарными пассажирскими станциями для пригородного движения (если они имеют устройства для обслуживания пассажиров).
5.2 Пассажирские станции со сквозными путями
Новые пассажирские станции строят толь со сквозными приемоотправочными путями. На пассажирских станциях со сквозными путями производится работа с транзитными пассажирскими поездами, конечными дальними. Местными и пригородными. В зависимости от расположения приемоотправочных путей и вокзала различают схемы с боковым расположением вокзала, островным расположением и расположением вокзала над приемоотправочными пулями в виде конкорса.
Техническая пассажирская станция может располагаться параллельно пассажирской станции и последовательно между главными путями и сбоку от путей. Наилучшее расположение технической станции в схемах со сквозными путями - между главными путями, в этом случае меньшее число пересечений при перестановке составов на техническую станцию с приемом и отправлением поездов.
Для того чтобы в горловинах было наименьшее число враждебных пересечений, специализация путей станции устанавливается следующая: на крайние пути принимают сквозные дальние и пригородные поезда, следующие с одного участка на другой; на средние пути - конечные дальние и пригородные. Для подачи и уборки поездного локомотива укладывают ходовой путь.
Горловины станции должны обеспечивать возможность приема с любого главного пути на любой приемоотправочный (перронный) путь и возможность отправления с любого приемоотправочного пути на любой главный путь. Конструкция горловин должна обеспечивать параллельное выполнение операций и наибольшую маневренность.
5.3 Схема пассажирской станции со сквозными приемоотправочными путями
В горловинах пассажирских станций часто применяют двойные стрелочные улицы. Что дает возможность одновременно принимать или отправлять поезда и подавать или убирать локомотив или переставлять состав на техническую станцию.
На крупных пассажирских станциях применяют перекрестные стрелочные переводы и перекрестные съезды. Это сокращает длину горловин и обеспечивает более плавное движение по горловине при приеме и отправлении поезда. Кроме того, укладка перекрестных стрелочных переводов и съездов значительно сокращает длину горловин, а это очень важно в условиях больших городов.
На пассажирских станциях с транзитными пассажирскими поездами выполняются следующие операции: посадка и высадка пассажиров, погрузка и выгрузка почты и багажа, технический осмотр состава, смена локомотивов и локомотивных бригад.
С конечными дальними и местными поездами выполняются следующие операции по прибытию: высадка пассажиров, отцепка поездного локомотива, почтового и багажного вагонов, предварительный осмотр состава и подача его в технический парк или на техническую станцию. По отправлению с дальними и местными поездами выполняют: подачу состава на путь отправления, посадку пассажиров, прицепку почтового и багажного вагонов, погрузку срочной почты багажа, прием состава поездной бригадой, подачу поездного локомотива, опробование тормозов и отправление.
С пригородными поездами выполняются операции: прием поездов, высадка, посадка пассажиров, отправление поездов. Раз в сутки составы пригородных поездов подвергаются влажной уборке в техническом парке или электродепо.
5.4 Пассажирские станции с тупиковыми приемоотправочными путями
Новые станции с тупиковыми приемоотправочными путями не строят. Станции тупикового типа имеют ряд существенных недостатков:
сложности при обработке транзитных поездов,
перегружена горловина станции, так как через горловину выполняются прием и отправление поездов, подача и уборка поездного и маневрового локомотива, перестановка составов в технический парк и подача под посадку.
Схемы пассажирских станций тупикового типа зависят от числа подходов, объемов перевозки, числа главных путей, расположения технического парка.
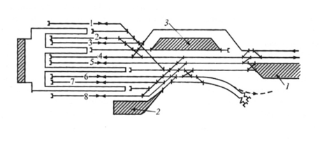
Схема пассажирской станции с тупиковыми приемоотправочными путями:
1. техническая пассажирская станция,2. Багажные и почтовые устройства,
3. парк стоянки пригородных составов
На пассажирских станциях тупикового типа пригородные поезда отправляются с тех же путей, на которые и принимаются, поэтому пути для пригородных поездов располагаются в одном месте.
При небольших размерах движения и двух главных путях на подходе применяется схема, когда для пригородных поездов используются средние пути, технический парк располагается между главными путями. В этом случае не будет пересечения маршрутов приема и отправления дальних и пригородных поездов. Но маршруты приема и пригородных поездов будут пересекаться маневровыми маршрутами уборки составов и локомотивов дальних поездов, а маршруты отправления пригородных поездов пересекаются с маршрутами подачи составов на пути отправления дальних поездов и локомотивов отправляемых дальних поездов.
Лучшим вариантом расположения вокзала по отношению к платформам является торцевой или в виде буквы Г. Расположение вокзала в виде буквы П затрудняет увеличение числа перронных путей.
При значительных размерах пригородного движения, размещают по одному приемоотправочному пути между платформами, при этом платформы специализируют по прибытию и по отправлению. Это позволяет развязать пригородный пассажиропоток.
5.5 Пассажирские станции комбинированного типа
Пассажирские станции комбинированного типа образуются в том случае, если к пассажирской станции со значительными размерами дальнего, местного и пригородного движения, примыкает линия с конечным дальним или пригородным движением.
















