147234 (691807), страница 5
Текст из файла (страница 5)
Холодильная камера. Холодильная камера состоит из двух частей: шахты холодильника (охлаждающего устройства) с блоками секций радиатора, мотор-вентиляторов охлаждения, а также части кузова от дизеля до шахты холодильника. В этой части кузова, которая является продолжением дизельного помещения, кроме оборудования охлаждающего устройства, установлены мотор-компрессор, мотор-вентилятор охлаждения тяговых электродвигателей задней тележки, санузел, задние песочные бункеры, элементы автоматики водяной и масляной системы.
Ходовая часть. Ходовая часть состоит из следующих узлов: тележки, тягового редуктора, колесной пары, тягового электродвигателя, буксового узла, рессорного подвешивания и др.
Тележка. (Рис. 9) Тележка состоит из следующих основных частей: рамы тележки, трех колесно-моторных блоков, рессорного подвешивания, опорно-возвращающего устройства, тормозной рычажной передачи, тормозного воздухопровода, песочного трубопровода.
Рис. 9. Тележка тепловоза. 1-рама тележки, 2-песочный трубопровод тележки, 3-пружинный комплект, 4-подвеска колодок, 5-тормозной воздухопровод тележки, 6,8-ступеньки, 7-труба провода смазки к шкворневому узлу, 9-опорно-возвращающее устройство, 10-колесно-моторный блок.
Эта унифицированная бесчелюстная трехосная тележка с индивидуальным приводом каждой колесной пары через односторонний и одноступенчатый тяговый редуктор от тягового электродвигателя постоянного тока ЭД-118А и ЭД-118Б с циркуляционной принудительной системой смазки моторно-осевых подшипников. Установка двигателей на тележке выполнена опорно-осевой с рядным их расположением.
Рама тележки предназначена для размещения колесно-моторного блока с рессорным подвешиванием, исполнительного тормозного оборудования, опорных устройств надтележечного строения и механизма передачи силы тяги на кузов тепловоза. Связь между рамой тележки и колесными парами осуществляется через поводковые бесчелюстные буксы с жесткими осевыми упорами качения одностороннего действия. Такая связь позволяет передавать от колесных пар на раму тележки упруго, без наличия трения скольжения, силу тяги и торможения, поперечные силы при набегании на рельс, а также обеспечивать симметричность и параллельность осей колесных пар в раме тележки при колебательных ее перемещениях.
В конструкции тележки применен индивидуальный пневматический колодочный тормоз с двусторонним нажатием чугунных гребневых колодок на колеса тепловоза.
Сила тяги от рамы тележки на кузов предается шкворневым узлом, обеспечивающим поперечную свободно-упругую подвижность шкворня кузова. Шкворень также является осью поворота тележки в горизонтальной плоскости.
Техническая характеристика тележки.
Нагрузка оси колесной пары на рельсы, кН (тс) 226/23 конструкционная скорость, км/ч: 100 при транспортировке120 тип тяговых электродвигателейЭД-118А, ЭД-118Б число тяговых электродвигателей3 жесткость рессорного подвешивания, Н/см4435 число тормозных цилиндров 6 расчетное нажатие тормозных колодок на ось, кН (тс) 140/14,24
Колесно-моторный блок. (рис10) Колесно-моторный блок служит для преобразования электрической энергии в механическую и передачи ее от ТЭД через тяговый шестеренчатый редуктор к осям тепловоза. Состоит из колесной пары 4, двух поводковых букс 5, ТЭД 1, тягового редуктора 3, кожуха тягового редуктора.
Колесно-моторный блок тепловоза 2ТЭ116 выполнен с опорно-осевой подвеской ТЭД, имеющей три точки опоры, аналогично тепловозам ТЭ3 и 2ТЭ10Л. Одна точка опоры - на корпусе в виде двух отлитых (одного сверху, одного снизу) кронштейнов, которые обхватывают сверху и снизу пружинную подвеску 7, установленную в кронштейне междурамного крепления рамы тележки. Контактирующие поверхности кронштейнов и пружинной подвески снабжены приваренными к ним термообработанными наличниками, изготовленными из стали 65Г. Две другие точки опоры на оси колесной пары выполнены в виде моторно-осевых подшипников 6.
Рис.10. Колесно-моторный блок. 1-тяговый электродвигатель, 2-кожух тягового редуктора, 3-ведущая шестерня тягового редуктора, 4-колесная пара, 5-поводковая букса, 6-моторно-осевой подшипник, 7-пружинная подвеска.
2.2.5 Краткое описание основных систем тепловоза.
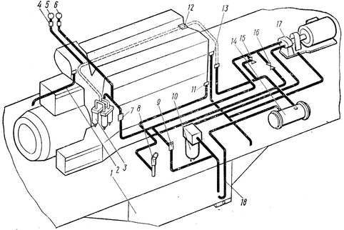
Топливная система (Рис.11). Топливная система предназначена для подачи очищенного и подогретого (в зимнее время) топлива к топливным насосам дизеля. Топливо заправляют через одну из двух заливных горловин в бак. Для предпусковой прокачки системы и подачи топлива к топливным насосам дизеля во время пуска дизель-генератора служит топливоподкачивающий агрегат. После пуска дизель-генератора топливоподкачивающий агрегат отключается, и подача топлива осуществляется топливоподкачивающим насосом, установленным на дизеле. На трубопроводе перед топливоподкачивающим агрегатом предусмотрен штуцер для заполнения всасывающего трубопровода топливом при пуске дизель-генератора нового тепловоза или после длительной стоянки.
Рис. 11. Схема топливной системы. 1-бак для топлива; 2,13-трубы для слива из полок блока дизеля; 3-фильтр тонкой очистки; 4-демпфер; 5-манометр "Топливо после фильтра тонкой очистки"; 6-манометр "Топливо до фильтра тонкой очистки"; 7-карман для ртутного термометра; 8-труба-топливомер; 9-клапан аварийного питания; 10-фильтр грубой очистки; 11-труба для слива топлива из форсунок; 12-клапан перепускной; 14-подогреватель топлива; 15-клапан предохранительный; 16-вентиль; 17-топливоподкачивающий агрегат; 18-заборное устройство бака.
Во время предпусковой прокачки системы и пуска дизель-генератора топливоподкачивающий агрегат засасывает топливо из бака через всасывающую трубу заборного устройства и фильтру грубой очистки, и по нагнетательной трубе через невозвратный клапан и фильтр тонкой очистки подает его в трубу подвода к топливным насосам высокого давления. Избыток топлива через перепускной клапан и топливоподогреватель сливается в заборное устройство топливного бака. Топливные насосы высокого давления подают топливо к форсункам по форсуночным трубкам. Через форсунки происходит впрыск топлива в цилиндры дизеля. Топливо, просочившееся из полости высокого давления форсунок, сливается в топливный бак.
Масляная система. Для подачи масла к трущимся поверхностям дизеля с целью их смазки и охлаждения (особенно поршней) тепловоз оборудован циркуляционной масляной системой. Все основные сборочные единицы и трубопроводы системы, кроме полнопоточного фильтра, трубопроводов к нему, заправочного и сливного трубопроводов, а также устройств системы регулирования температуры масла, установлены на дизель-генераторе. В масляную систему входят: фильтр грубой очистки, два центробежных фильтра, охладитель масла и полнопоточный фильтр.
Для заправки тепловоза маслом в поддизельную раму, кроме горловины с правой стороны рамы имеется трубопровод с вентилями по обеим сторонам тепловоза. Масло из картера сливается также с любой стороны тепловоза через вентили.
От трубопровода перед полнопоточным фильтром масло отводится к бачку, расположенному у правой стенки кузова. На корпусе бачка имеется карман для ртутного термометра, грибки для установки приемников электрических дистанционных термометров и бочки для установки датчиков-реле температуры. Один датчик-реле при достижении предельной температуры масла снимает нагрузку с дизель-генератора; три других датчика-реле служат для управления холодильником тепловоза. На трубопроводах перед полнопоточным фильтром и после него приварены штуцеры для присоединения манометров, позволяющих измерить перепад давления масла на полнопоточном фильтре. Вентиль служит для слива масла из фильтра и трубопроводов в поддизельную раму. Вентиль, установленный на дизеле предназначен для отбора масла на пробу. Давление масла на вход в дизель и перепад на фильтре грубой очистки масла измеряются манометрами, присоединяемыми к штуцерам. Для контроля давления масла на пультах управления обеих секций установлены электрические дистанционные манометры, приемники которых подсоединены к грибкам.
Система охлаждения. Для отвода тепла, выделяющегося при работе дизель-генератора, служит система охлаждения дизеля закрытого типа с принудительной циркуляцией. На тепловозе имеются два самостоятельных контура охлаждения, каждый из которых имеет свои трубопроводы, водяной насос, секции радиатора и мотор-вентиляторы.
Контуры охлаждения дизеля предназначены для охлаждения втулок и крышек цилиндров дизеля, корпуса турбокомпрессора и выпускных коллекторов. В холодное время года охлаждающая жидкость используется для подогрева топлива, воды в баке санитарного устройства, этот контур предусматривает как высокотемпературное, так и низкотемпературное охлаждение, причем переход на высокотемпературное охлаждение допускается при давлении в расширительном баке не менее 0,03 МПа.
Контур охлаждения масла и наддувочного воздуха имеет свой водяной насос, который нагнетает охлаждающую жидкость в левый нижний коллектор холодильника тепловоза, поступающего оттуда по передним секциям радиатора в левый верхний коллектор. Из левого верхнего коллектора охлаждающая жидкость отводится в правый верхний коллектор, далее по левым и правым задним секциям радиатора опускается вниз, охлаждается и от нижних коллекторов подводится к охладителю масла. Охладив масло, жидкость идет на охлаждение наддувочного воздуха и к всасывающей полости водяного насоса, замыкая холодный контур системы охлаждения.
Расширительный бак предназначен для компенсации тепловых расширений охлаждающей жидкости, пополнения системы, создания напора на всасывание циркуляционных насосов.
Датчики-реле температуры предназначены для обеспечения работы холодильника тепловоза в автоматическом режиме и для защиты дизеля от перегрева охлаждающей жидкости.
Охладительно-вентиляционный агрегат предназначен для вентиляции и обогрева воздуха в кабине машиниста. Он собран на раме и установлен в столе помощника машиниста.
Ручной водяной насос служит для пополнения системы охлаждения вручную. Насос состоит из корпуса с цилиндром, диаметром 80 мм, клапанов с седлами, поршня и механизма передачи движения к поршню.
Тормозная система. Тепловоз оборудован автоматическим пневматическим тормозом для торможения тепловоза и поезда. Для независимого управления торможением тепловоза служит вспомогательный пневматический тормоз. Кроме пневматических тормозов, тепловоз снабжен электрическим тормозом для торможения тепловоза и поддержания требуемой скорости поезда на спусках; а также ручным тормозом для удержания одиночного тепловоза на стоянках.
Управление пневматическими тормозами ведется из кабины машиниста с помощью крана вспомогательного тормоза. Экстренное торможение можно выполнить комбинированным краном. С тормозной и питательной магистралями через разобщительный кран связан электропневматический клапан автостопа, который совместно с устройствами автоматической локомотивной сигнализации служит для предотвращения проезда запрещающих сигналов, а также для контроля бдительности машиниста. Электропневматический клапан автостопа при срабатывании на торможение снимает нагрузку дизель-генератора и сообщает тормозную магистраль с атмосферой, т.е. вызывает экстренное торможение.
Песочная система. Для увеличения силы сцепления между колесами и рельсами, а, следовательно, для реализации большей силы тяги при трогании с места и наборе скорости, тепловоз оборудован песочной системой. Песок под колесные пары следует подавать и во время торможения для обеспечения более эффективного сцепления колес с рельсами. Автоматическая подача песка под колесные пары происходит нажатием кнопки аварийной остановки тепловоза, одновременно с экстренным торможением поезда, подачей звукового сигнала и остановкой дизель-генератора. Управление подачей песка осуществляется как педалью с места машиниста тепловоза, так и кнопкой подачи песка на пульте.
Противопожарная система. Установка порошкового пожаротушения дизельного помещения предназначена для тушения пожара на тепловозе и находящихся вблизи от тепловоза объектов. Применение огнетушащих порошковых составов сопровождается следующими, приводимыми к ликвидации пожара, факторами:
разбавление горючей среды газообразными продуктами разложения порошка;
охлаждение зоны горения в результате затрат тепла на нагрев распыленных частиц порошка и их разложение в пламени.
















