147126 (691768)
Текст из файла
Содержание
Исходные данные
Введение
1. Расчет плана формирования вагонов с контейнерами
1.1 Исходные данные к расчету плана формирования
1.2 Расчет плана формирования
2. Расчет основных параметров и проектирование контейнерного пункта
2.1 Расчет параметров контейнерного пункта
2.2 Проектирование контейнерного пункта
3. Расчет эффективности назначения контейнерных поездов
3.1 Общие положения
3.2 Расчет расходов по перевозке контейнеров специальным поездом
3.3 Расчет расходов при перевозке контейнеров в грузовом поезде
Заключение
Список литературы
Введение
Контейнеризация перевозок создает условия для комплексной механизации погрузочно-выгрузочных и складских работ, доставки грузов потребителям без тары или в облегченной таре, по наиболее экономичным схемам с высокой сохранностью. В 1917 – 1989гг. контейнерные перевозки развивались ускоренными темпами. Освоение возрастающих объемов контейнерных перевозок обеспечивалось внедрение специализированных контейнерных железнодорожных платформ, судов, автопоездов, кранов и созданием развитой сети контейнерных пунктов. Внедрение крупнотоннажных контейнеров положительно повлияло на развитие перевозок грузов в международных сообщениях. Крупнотоннажные контейнера перевозятся морским транспортом между портами России и многих других стран. Для этих целей созданы крупные контейнерные терминалы и специализированный флот. На речном транспорте контейнерные перевозки также развиваются быстрыми темпами. Все основные порты имеют специализированные контейнерные причалы, оборудованные перегрузочными механизмами. Речной флот в период навигации разгружает железнодорожный транспорт, доставляя около 2,5 млн. т. грузов в контейнерах. Объемы контейнерных перевозок в прямом автомобильном сообщении непрерывно возрастают. Помимо перевозок в собственных контейнерах; автотранспортом доставляет большое количество грузов в контейнерах, принадлежащих грузовладельцам и другим видам транспорта, при завозе на железнодорожные станции, в морские и речные порты и вывозе из них к грузополучателям. Анализ динамики роста рынка свидетельствует о том, что в России объемные показатели контейнерных перевозок растут быстрее общемировых.
Контейнеризация полностью освобождает грузовладельцев от чисто транспортных операций. Вместе с тем практическая реализация выгод контейнеризации зависит от активной деятельности грузовладельцев в подготовки грузов к отправлению в контейнерах, правильном их использовании, создании совершенной технологии выполнения погрузочно-разгрузочных работ, вспомогательных и начально-конечных коммерческих операций.
Эффективность контейнерных перевозок, возможно, реализовать при ускоренном продвижении грузов по непрерывной цепи между пунктами производства и потребления, в облегченной таре, при механизированной загрузке и разгрузке контейнеров и транспортных средств. На практике эти условия часто не соблюдаются из-за отсутствия необходимой координации в работе различных видов транспорта, отправителей и получателей груза и общетранспортного регулирования. Последствиями приведенных недостатков являются ухудшение использования контейнеров, вагонов и автомобилей, потери перевозочных ресурсов, снижение качества транспортных услуг и эффективности контейнеризации. Также основными сдерживающими факторами развития контейнерных перевозок являются ограниченная пропускная способность портов и неразвитость инфраструктуры.
1. Расчет плана формирования вагонов с контейнерами
1.1 Исходные данные к расчету плана формирования
В число исходных данных входят:
-
контейнеропотоки (табл. 1.1).
-
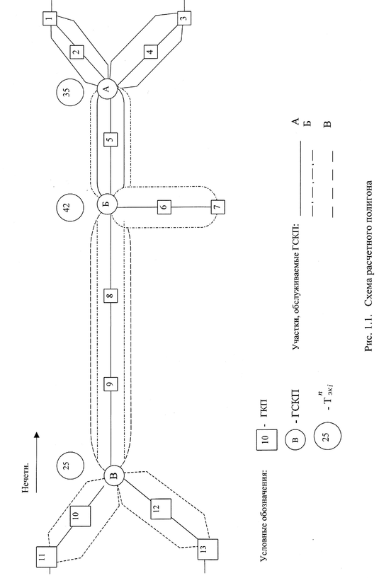
схема железнодорожного полигона (рис. 1.1).
План формирования вагонов с контейнерами рассчитывается для груженых контейнеров и устанавливает категории и назначения вагонов, а также пункты сортировки контейнеров.
В зависимости от схемы перевозки и назначения контейнеров, перевозимых на одном вагоне, последние подразделяются на прямые, сборные, участковые и сборно-участковые.
Прямые вагоны могут формироваться на грузовом (ГКП) или грузосортировочном (ГСКП) пункте и следуют в адрес одной станции назначения.
Сборные вагоны включают в себя контейнеры, имеющие назначение на разные станции и следуют до одного ГСКП где производится их сортировка.
Участковые вагоны формируются ГСКП и следуют в адрес нескольких станций участка, где производится погрузка-выгрузка контейнеров.
Сборно-участковый вагон отличается от участкового тем, что для пополнения комплекта в него могут загружаться контейнеры. Следующие между смежными ГСКП без выполнения с ними грузовых операций на попутных ГПК участка.
Таблица 1.1
| А | Б | В | 1 | 2 | 3 | 4 | 5 | 6 | 7 | 8 | 9 | 10 | 11 | 12 | 13 | |
| А | 2 | 27 | 17 | 4 | 25 | 4 | - | 6 | 44 | 3 | 3 | 3 | 27 | 2 | 16 | |
| Б | 2 | 6 | 9 | 3 | 15 | 5 | - | - | 14 | - | - | 5 | 16 | 3 | 11 | |
| В | 5 | 9 | 280 | 2 | 16 | 5 | 4 | 11 | 18 | - | - | - | 12 | 2 | 5 | |
| 1 | 15 | 5 | 300 | - | 15 | 5 | - | - | 9 | 4 | 3 | 5 | 38 | 5 | 8 | |
| 2 | - | 1 | 14 | - | - | - | - | - | 16 | 3 | 2 | 2 | 5 | 3 | 4 | |
| 3 | 1 | 2 | 17 | 9 | 4 | - | 7 | 4 | 6 | - | 2 | 5 | 16 | 4 | 13 | |
| 4 | 3 | 4 | 14 | 2 | 2 | - | - | 1 | 3 | 2 | 3 | 2 | 4 | 1 | 5 | |
| 5 | - | - | 1 | 3 | 1 | 2 | 1 | 1 | 5 | 2 | 4 | 2 | 18 | 4 | 5 | |
| 6 | - | - | 5 | 3 | 1 | 2 | 1 | 1 | - | 1 | 2 | 2 | 3 | 1 | 4 | |
| 7 | 18 | 3 | 15 | 14 | 3 | 11 | 7 | 1 | - | 2 | - | 5 | 8 | 4 | 7 | |
| 8 | 1 | - | 2 | 12 | 2 | 11 | 3 | 2 | 1 | 5 | - | 1 | 4 | 1 | 3 | |
| 9 | 13 | - | 1 | 6 | 5 | 3 | 4 | 1 | - | 18 | - | 1 | 1 | 1 | 1 | |
| 10 | 12 | 2 | - | 6 | 4 | 5 | 3 | - | - | 5 | - | - | - | - | 1 | |
| 11 | 8 | 2 | 5 | 5 | 1 | 14 | - | 1 | 1 | 10 | 2 | 1 | - | - | 13 | |
| 12 | 2 | 5 | - | 17 | 2 | 13 | 4 | 2 | 2 | 13 | 3 | 2 | 1 | 4 | - | |
| 13 | 20 | 5 | 5 | 18 | 6 | 33 | 1 | 1 | 1 | 15 | 2 | 3 | 2 | 14 | - |
Минимальные среднесуточные контейнеропотоки для оценки целесообразности формирования прямых вагонов со среднетоннажными контейнерами
Таблица 1.2
| Д, дней | Уровень надежности плана формирования вагонов с контейнерами, Р3 |
| 1,00 | |
| 1 2 3 4 5 | 42,644 9,766 5,088 3,394 2,537 |
На втором этапе выполняем корректировку маломощных струй контейнеропотоков отправляемых с ГКП и прибывающих на ГКП. С этой целью в таблице 1.3 подсчитаем суммарные контейнеропотоки прибытия и отправления и разделим их по направлениям следования. В этой связи преобразуем таблицу 1.3 в таблицу 1.4.
Характеристики
Тип файла документ
Документы такого типа открываются такими программами, как Microsoft Office Word на компьютерах Windows, Apple Pages на компьютерах Mac, Open Office - бесплатная альтернатива на различных платформах, в том числе Linux. Наиболее простым и современным решением будут Google документы, так как открываются онлайн без скачивания прямо в браузере на любой платформе. Существуют российские качественные аналоги, например от Яндекса.
Будьте внимательны на мобильных устройствах, так как там используются упрощённый функционал даже в официальном приложении от Microsoft, поэтому для просмотра скачивайте PDF-версию. А если нужно редактировать файл, то используйте оригинальный файл.
Файлы такого типа обычно разбиты на страницы, а текст может быть форматированным (жирный, курсив, выбор шрифта, таблицы и т.п.), а также в него можно добавлять изображения. Формат идеально подходит для рефератов, докладов и РПЗ курсовых проектов, которые необходимо распечатать. Кстати перед печатью также сохраняйте файл в PDF, так как принтер может начудить со шрифтами.















