126306 (691002)
Текст из файла
Курсовой проект
Тема: Производство карбамида.
Содержание
Введение
1. Свойства карбамида и его технические характеристики
2. Область применения карбамида
3. Патентный поиск
4. Технология производства карбамида
5. Конструкция аппарата
6. Технологический расчет
6.1. Материальный баланс
6.2. Тепловой баланс
7. Механические расчеты
7.1. Выбор конструкционного материала и допускаемых напряжений
7.2. Расчет толщины стенки корпуса колонны
7.3. Расчет толщины стенки эллиптического днища корпуса
7.4. Расчет плоской крышки корпуса
7.5. Расчет затвора соединения фланца с плоской крышкой корпуса
7.6. Расчет фланца
7.7. Выбор тарелок. Определение гидравлического сопротивления колонны
7.8. Расчет массы аппарата
7.9. Расчет аппарата на сейсмическую нагрузку
7.10. Расчет опоры аппарата
Заключение
Список использованных источников
Введение
Минеральные удобрения – источник различных питательных элементов для растений и свойств почвы, в первую очередь азота, фосфора и калия, а затем кальция, магния, серы, железа. Все эти элементы относятся к группе макроэлементов («Макрос» по-гречески – большой), так как они поглощаются растениями в значительных количествах. Кроме того, растениям необходимы другие элементы, хотя и в очень небольших количествах. Их называют микроэлементами («Микро» по-гречески – маленький). К микроэлементам относятся марганец, бор, медь, цинк, молибден, йод, кобальт и некоторые другие. Все элементы в равной степени необходимы растениям. При полном отсутствии любого элемента в почве растение не может расти и развиваться нормально. Все минеральные элементы участвуют в сложных преобразованиях органических веществ, образующихся в процессе фотосинтеза. Растения для образования своих органов – стеблей, листьев, цветков, плодов, клубней – используют минеральные питательные элементы в разных соотношениях.
Целью данного проекта является подробное рассмотрение процесса производства минерального удобрения - карбамида, конструирование и расчет колонны синтеза карбамида.
Исходные данные:
Диаметр колонны 2000 мм
Высота колонны 29000 мм
Плотность аммиака 910 кг/м3
Плотность углекислоты 1,98 кг/м3
Плотность карбамида 900 кг/м3
Расход аммиака 6,8·10-3 м3/с
Расход углекислоты 2 м3/с
Расход карбамида 3,6·10-3 м3/с
1.Свойства продукта и технические характеристики
Карбамид представляет собой бесцветные кристаллы легко растворимые в воде, спирте, жидком аммиаке, сернистом ангидриде. Температура плавления 132,7°C, плотность 1,33·103 кг/м3.
Карбамид при нормальных условиях пожаро- и взрывобезопасен, не токсичен.
Карбамид упаковывают в клапанные бумажные и полимерные мешки по нормативно-технической документации. Навалом в железнодорожные вагоны типа «хоппер», минераловозы, а также в специализированные металлические контейнеры. Для розничной торговли продукт упаковывают в полиэтиленовые пакеты, массой не более 3 кг. Хранят в закрытых сухих складских помещениях. Контейнеры с карбамидом и транспортные пакеты допускается хранить на открытых площадках.
Транспортируют в упакованном виде и насыпью всеми видами крытого транспорта, кроме воздушного.
Выпускают карбамид двух марок: А – для использования в химической промышленности и животноводстве, и Б – для использования в сельском хозяйстве.
В нижеследующей таблице кратко представлены технические требования к карбамиду согласно ГОСТ 2081–92.
Технические характеристики карбамида (согласно ГОСТ 2081–92)
| Технические характеристики | Марка А | Марка Б | ||
| I сорт | высший сорт | I сорт | II сорт | |
| Внешний вид | Белые и слабоокрашенные гранулы | |||
| Массовая доля: | ||||
| Азота в пересчете на сухое вещество, %, не менее | 46,2 | 46,2 | 46,2 | 46,2 |
| Биурета, %, не более | 1,4 | 1,4 | 1,4 | 1,4 |
| Воды, %, не более | ||||
| метод высушивания | 0,3 | 0,3 | 0,3 | 0,3 |
| метод Фишера | 0,6 | 0,5 | 0,5 | 0,6 |
| Свободного аммиака, %, не менее | 0, 03 | |||
| Гранулометрический состав, массовая доля гранул размером, %: | ||||
| от 1 до 4 мм, не менее | 94 | 94 | 94 | |
| от 2 до 4 мм, не менее | 70 | 50 | ||
| менее 1 мм, не более | 3 | 5 | 5 | |
| остаток на сите 6 мм, не более | отсутствует | |||
| Рассыпчатость, %, не менее | 100 | 100 | 100 | |
| Статическая прочность гранул, кгс/гранулу, не менее | 0,7 | 0,5 | 0,3 | |
| Конденсирующая добавка: Карбамидоформальдегидная смола, % | 0,2-0,5 | |||
2.Области применения карбамида
Карбамид является весьма реакционно-способным соединением, образует комплексы со многими соединениями, например с перекисью водорода, которые используются как удобная и безопасная форма «сухой» перекиси водорода. Способность мочевины образовывать комплексы включения с алканами используется для депарафинизации нефти.
При нагревании до 150—160°C карбамид разлагается с образованием биуретана, аммиака, углекислого газа и др. продуктов. В водном растворе гидролизуется до CO2 и NH3, что обуславливает его применения в качестве минерального удобрения. При взаимодействии с кислотами образует соли. При алкилировании образуются алкилмочевины, при взаимодействии со спиртами — уретаны, при ацилировании — уреиды (N-ацилмочевины). Последняя реакция широко применяется в синтезе гетероциклических соединений, например, пиримидинов. Карбамид легко конденсируется с формальдегидом, что обуславливает широкое его применение в производстве смол.
Химические свойства карбамида обуславливают широкое его применение в химической промышленности в синтезе карбамидо-альдегидных (в первую очередь карбамидо-формальдегидных) смол, широко использующихся в качестве адгезивов, в производстве древесно-волокничтых плит (ДВП) и мебельном производстве. Производные мочевины - эффективные гербициды.
Часть производимого карбамида используется для производства меламина. Значительно меньшая доля используется для нужд фармацевтической промышленности.
По своей природе карбамид - это минеральное удобрение, которое используется на всех видах почв под любые культуры. Такая форма удобрений обеспечивает значительную прибавку урожая сельскохозяйтсвенных культур. Выпускается он в этом качестве в устойчивом к слеживанию гранулированном виде. По сравнению с другими азотными удобрениями карбамид содержит наибольшее количество азота (46,2%), что в основном и определяет экономическую целесообразность его использования в качестве удобрения для многих сельскохозяйственных культур на любых почвах.
В рубце жвачных животных обитают микроорганизмы, способные использовать мочевину для биосинтеза белка, поэтому её добавляют в корма как заменитель белка.
В медицинской практике мочевину чистую используют как дегидратационное средство для предупреждения и уменьшения отёка мозга.
Интересные направления применения карбамида связаны с использованием его для очистки выбросов ТЭЦ и мусоросжигательных установок, где в качестве восстановителя оксидов азота используются продукты термического разложения карбамида. Причем карбамид может применяться как в твердом виде, так и в виде водного раствора. Сегодня данная технология уже внедряется на мусоросжигательных заводах.
Еще одним перспективным направлением использования карбамида является производство продукта AdBlue – 32,5%-го раствора карбамида, используемого для обработки выхлопных газов дизельных двигателей. Применение данного раствора позволяет добиться соответствия состава выхлопных выбросов нормам Euro-4 и Euro-5. В этом случае более предпочтительным является применение приллированного карбамида ввиду его физических свойств.
3. Патентный поиск
3.1 Определение предмета поиска
Этот этап является одной из наиболее ответственных работ при подготовке к патентным исследованиям. При поиске по источникам патентной информации оно обычно сводится к его конкретизации и приближению формулировки предмета поиска к наименованию рубрики МКИ, НКИ. Затруднение иногда вызывает определение предмета поиска в новой области науки и техники.
Для данного исследования предметом поиска являются устройства проведения синтеза карбамида, а также различные конструктивные решения этого устройства.
Из представленной выше информации, можно сделать вывод, что для своего проекта рациональнее выбрать конструирование колонны синтеза аммиака.
3.2 Определение глубины поиска информации
Глубина поиска информации зависит от предмета поиска и источников информации, по которым будет проводиться поиск. Так, если предметом поиска является изобретение, глубина поиска может составлять 10-15 лет. Отраслевую периодику, используемую, в частности, для определения уровня техники в исследуемой области, достаточно просматривать на глубину до 5 лет (без учета прогноза технического уровня).
В данной работе глубина поиска в учебных целях составит 15 лет.
3.3 Выбор источников информации
Научно-технический портал www.ntpo.com http://www.energo-info.ru Роспатент www.fips.ru;
3.4 Определение классификационных рубрик
Поиск производиться по международной классификации изобретений.
Колонны синтеза карбамида.
3.5 Патентная документация, отобранная для последующего анализа
| № | Страна выдачи, вид и номер охранного документа, классификационный индекс | Заявитель с указанием страны, номер заявки, дата приоритета, конвенционный приоритет, дата публикации | Сущность заявленного технического решения и цели его создания.(по описанию изобретения или опубликованной заявки |
| 1 | RU 2300416 | Иванов Юрий Анисимович (RU), Кожевников Анатолий Осипович (RU) Патентообладатель(и): Общество с ограниченной ответственностью "АГРОХИМРАЗВИТИЕ" (RU) 15.12.2004 Дата публикации 10.06.2007 | Способ синтеза карбамида из аммиака и углекислоты в колонне синтеза с газожидкостным рециклом, при котором поток водного раствора углеаммонийных солей (УАС) из зоны дистилляции направляют сверху или снизу в середину колонны синтеза, содержащую вертикальный цилиндрический корпус, размещенную на внутренней поверхности футеровку из коррозионно-стойкого материала, смеситель и штуцеры ввода и вывода реагентов и имеющую расположенный внутри перфорированный трубопровод, отверстия которого размещены попарно по периметру трубопровода на уровне середины колонны под углом 20-60°С к центральной оси колонны. Технический результат заключается в интенсификации контактирования вводимых компонентов, увеличении службы слоя футеровки колонны и повышении конверсии за счет удаления избытка воды, образующегося в процессе синтеза. 2 н. и 1 з.п. ф-лы, 3 ил. |
| 2 | RU 2173212 | Автор(ы): Зуев А.А., Воробьев В.С., Воробьев Ф.П., Андросов Д.И., Глашкин А.И., Ершов А.К. Патентообладатель(и): Открытое акционерное общество Новомосковская акционерная компания "Азот"15.02.2001 Дата публикации 10.09.2001 | Изобретение относится к аппаратурному оформлению проведения процессов в газожидкостной среде и может быть использовано для синтеза карбамида из аммиака и диоксида углерода при повышенных температурах и давлениях. Сущность изобретения заключается в том, что в колонне синтеза карбамида, содержащей вертикальный цилиндрический корпус, размещенную на внутренней поверхности футеровку из коррозионно-стойкого материала, массообразное устройство и штуцеры ввода и вывода реагентов, массообменное устройство выполнено в виде соединенных последовательно сопла, приемной и смешивающей камер, диффузора, установленных на штуцере ввода реагентов и заключенных в перфорированный кожух. В оптимальной степени результат достигается при соблюдении следующих условий: перфорированный кожух выполнен в виде опрокинутого цилиндрического стакана; перфорированный кожух соединен с корпусом фиксаторами. Техническим результатом изобретения является повышение производительнсоти колонны синтеза карбамида, увеличение степени конверсии двуокиси углерода. 2 з.п. ф-лы, 1 ил. |
| 3 | RU 2356616 | Автор(ы): ФИЛИППИ Эрманно (CH), РИЦЦИ Энрико (IT), ТАРОЦЦО Мирко (CH) Патентообладатель(и): МЕТАНОЛ КАСАЛЕ С.А. (CH) 10.12.2007 Дата публикации 27.05.2009 | Изобретение относится к химической промышленности и может быть использовано, в частности, для получения мочевины при высоком давлении. Псевдоизотермический химический реактор имеет множество коробчатых теплообменников, по существу плоской прямоугольной формы. Теплообменники изготовлены из двух уложенных с зазором друг на друга и соединенных по периметру металлических листов, образующих внутреннюю полость, через которую в определенном направлении пропускается текучий теплоноситель. Между металлическими листами во внутренней полости теплообменника расположены промежуточные элементы, предотвращающие сплющивание или выпучивание металлических листов. Промежуточные элементы изготовлены в виде металлической сетки, вытянутой металлической пластины или решетки и приварены к листам теплообменника в заранее выбранных точках. Реактор выдерживает без деформации и коробления высокую разность давлений между зоной реакции и внутренней полостью теплообменника. 1 з.п. ф-лы, 6 ил. |
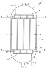
| 4 | RU 2142334 | Заявитель(и): Уреа Касале С.А. (CH) Автор(ы): Федерико Царди (CH), Паоло Сильва (IT) Патентообладатель(и): Уреа Касале С.А. (CH) 15.02.1995 Дата публикации 10.12.1999 | Изобретение относится к реактору для двухфазных реакций, в частности для синтеза мочевины при высоких давлении и температуре, а также к способу его модернизации. В реакторе происходит параллельное истечение газообразной фазы и жидкой фазы. Реактор включает практически цилиндрический вертикальный внешний корпус (2), в котором имеется множество установленных с интервалом друг над другом горизонтальных ситчатых тарелок (6а - 6е) и по меньшей мере одно отверстие (12а - 12е) для потока жидкости, размер которого определяется размером каждой из ситчатых тарелок. Отверстия (12а - 12е) для потока жидкости предпочтительно взаимно смещены для создания таким образом в реакторе предпочтительной по существу, зигзагообразной траектории потока жидкой фазы. Техническим результатом изобретения является 3%-ный прирост выхода продукта, который следует рассматривать как значительное улучшение, поскольку при синтезе мочевины такой прирост позволяет уменьшить количество возвращаемых в реактор непрореагировавших продуктов приблизительно на 7-9% в сравнении с обычным для известного уровня техники, что позволяет значительно повысить производительность синтезного реактора и снизить энергетические затраты установки для получения мочевины. 6 с. и 25 з.п. ф-лы, 9 ил. |
| 5 | RU 2042424 | Заявитель(и): Уриа Казале С.А. (CH) Автор(ы): Джорджио Пагани[IT] Патентообладатель(и): Уриа Казале С.А. (CH) 25.11.1991 Дата публикации 27.08.1995 | Изобретение относится к конструкции реактора для синтеза мочевины. Реактор содержит кожух, внутри которого с зазором установлена рубашка, закрытая сверху и открытая снизу. Патрубок для подачи аммиака расположен в верхней части кожуха вблизи места сварки его с куполообразной частью. 2 з. п. ф-лы, 2 ил. |
В качестве прототипа своей конструкции выбираем патент RU 2142334. Ниже представлено описание колонны синтеза карбамида, которая наиболее близка к создаваемой конструкции.
Характеристики
Тип файла документ
Документы такого типа открываются такими программами, как Microsoft Office Word на компьютерах Windows, Apple Pages на компьютерах Mac, Open Office - бесплатная альтернатива на различных платформах, в том числе Linux. Наиболее простым и современным решением будут Google документы, так как открываются онлайн без скачивания прямо в браузере на любой платформе. Существуют российские качественные аналоги, например от Яндекса.
Будьте внимательны на мобильных устройствах, так как там используются упрощённый функционал даже в официальном приложении от Microsoft, поэтому для просмотра скачивайте PDF-версию. А если нужно редактировать файл, то используйте оригинальный файл.
Файлы такого типа обычно разбиты на страницы, а текст может быть форматированным (жирный, курсив, выбор шрифта, таблицы и т.п.), а также в него можно добавлять изображения. Формат идеально подходит для рефератов, докладов и РПЗ курсовых проектов, которые необходимо распечатать. Кстати перед печатью также сохраняйте файл в PDF, так как принтер может начудить со шрифтами.
















