126275 (690989), страница 3
Текст из файла (страница 3)
У вольтметрів прямого перетворення величина вимірюваної напруги перетворюється на відрізок часу. Величина цього відрізку визначається цифровим лічильником, який підраховує кількість короткочасних імпульсів незмінної й точно визначеної частоти, які його заповнюють.
Структурно-функціональну схему такого вольтметра зображено на рис. 8, а, де Ux — вимірювана напруга; ВП — вхідний пристрій; АЦП — аналого-цифровий перетворювач; Л — лічильник; ДШ — дешифратор; ПІ — пристрій індикації.
Рис. 8. Структурно-функціональна схема цифрового вольтметра прямого перетворення: а — схема; б — епюри напруг
Вхідний пристрій призначено для визначення знаку вимірюваної напруги і доцільного діапазону вимірювання, що автоматично встановлюється в цьому ж пристрої, а також для встановлення положення коми на цифровому табло пристрою індикації ПІ. Аналого-цифровий перетворювач АЦП призначено для перетворення величини напруги, що вимірюється (чи пропорційної їй), на послідовність імпульсів точно визначеної і незмінної частоти з кількістю імпульсів, визначеною величиною вимірюваної напруги (майже завжди пропорційної їй). Лічильник Л призначено для підрахунку кількості цих імпульсів і вираження цієї кількості у десятковій системі, для передачі одержаного числа на дешифратор ДШ і, якщо потрібно, на ЕОМ, яку можна приєднати до цього вольтметра. Дешифратор ДІЛ. перетворює число, одержане з лічильника, у код, прийнятний для показу цього числа (величини вимірюваної напруги) на пристрої індикації ПІ.
Перетворення величини вимірюваної напруги на кількість імпульсів у АЦП виконується завдяки наявності в ньому '.оратора лінійно-змінюваної напруги.
Принцип перетворення постійної напруги певної величини у певну кількість імпульсів суворо визначеної частоти можна пояснити, розглядаючи епюри напруг, які діють у цифроаналоговому перетворювачі. Ці епюри показано на рис. 8, б.
В АІДП є генератор лінійно-змінної напруги, що весь час, поки цифровий вольтметр ввімкнений в мережу живлення, генерує змінну напругу пилкоподібної форми Uп з ділянками М — Н, де зміна напруги має проходити з однаковою швидкістю (збільшуватись). Інший генератор, що також працює весь час, поки вольтметр увімкнено в мережу, генерує короткі лічильні імпульси напруги Uл незмінної частоти. При цьому частота генерування цих імпульсів у кілька сотень разів більша за частоту пилкоподібної напруги Uл.
АЦП також має схему порівняння вимірюваної напруги Uв з пилкоподібною напругою Uп. Ця схема виробляє короткі імпульси керування ключем, через який лічильні імпульси Uл передаються до лічильника Л у той час, коли цей ключ відімкнено.
Перший керуючий імпульс формується в момент переходу пилкоподібної напруги через нуль, тобто у момент зміни знака напругою Uп (точка М). Цей імпульс відмикає ключ. Другий керуючий імпульс Uз з'являється в той момент, коли величина пилкоподібної напруги Uп зрівняється з величиною вимірюваної напруги Uв (точка Н). Цей імпульс Uз замикає ключ, чим припиняє проходження лічильних імпульсів до лічильника Л. Неважко зрозуміти, що час, протягом якого ключ було відімкнено (а цей час визначається кількістю лічильних імпульсів, що пройшли через ключ), визначатиме величину напруги у момент tp.
На жаль, якщо в проміжку часу між керуючими імпульсами напруга дещо змінить свою величину (як показано штриховою лінією на рис. 8, б), то вольтметр не покаже цієї зміни.
Лічильник Л підраховує кількість прийнятих ним імпульсів і перетворює їх на число, яке передає у дешифратор ДШ, що перетворює це число на десятковий код, щоб висвітлити величину виміряної напруги на табло пристрою індикації ПІ.
Воднораз відомості про підраховану лічильником кількість імпульсів можуть бути передані до ЕОМ для подальшого опрацювання, запам'ятовування та реєстрації.
Прилади, подібні до тих, що ми розглянули, є найпростішими порівняно з іншими цифровими вольтметрами, але мають обмежену точність. В усякому випадку їхній клас точності не буває вищим за 0,1 чи 0,05.
Похибки вимірювань вольтметра, який розглядався, спричинюються такими факторами:
-
відхиленням частоти лічильних імпульсів від свого номінального значення;
-
деякою нелінійністю пилкоподібної напруги;
-
наявністю зони нечутливості схеми порівняння напруг.
Ще однією складовою похибок цього вольтметра, як практично і всіх цифрових приладів, є дискретизація вимірювань, тобто виконання вимірювань на основі підрахунку кількості короткочасних лічильних імпульсів, що пройшли через ключ протягом відрізку часу, пропорційного величині вимірюваної напруги. Але залежно від того, у який момент часу буде відкрито ключ, що пропускає лічильні імпульси в лічильник, кількість цих підрахованих імпульсів може бути різною для одного й того ж самого відрізку часу. Це пояснюється епюрами, наведеними на рис. 9. За відрізок часу, що відповідає десяти інтервалам між лічильними імпульсами, якщо початок і кінець вимірюваного відрізку часу Т1 збігаються з лічильними імпульсами, до лічильника через ключ, відкритий на час Т1, надійде десять лічильних імпульсів, які і будуть підраховані ним (рис. 9, а). Якщо початок і кінець такого самого відрізку часу Т1, не збігаються з лічильними імпульсами (це показано на рис. 9, б), то за той самий час Т1, через ключ до лічильника надійде всього дев'ять лічильних імпульсів, які так само будуть ним підраховані. Тобто одному і тому самому значенню часу Т1, а значить і напруги U1, якій відповідає цей час, можуть відповідати два, відмінні за числом, покази вольтметра. Мабуть, менше число тут буде неточним, бо відрізок часу Т1 дійсно складається з десяти проміжків часу, що є між лічильними імпульсами.
Рис. 9. Епюри напруг, що показують причину виникнення похибки від дискретності вимірів
Збільшуючи частоту лічильних імпульсів або ж накопичуючи кількість підрахованих імпульсів (за 8... 16 циклів) вимірювань та усереднюючи їх результат, зменшують величину такої похибки. Хоча при цьому вірогідність похибки, хоч і меншої, все ж лишається.
Крім цифрового вольтметра прямого перетворення, що розглядався, є ще складніші за схемою та будовою цифрові вольтметри врівноважувального перетворення і вольтметри слідкуючого врівноважування, у яких вимірювана напруга постійного струму врівноважується напругою, створеною автоматично керованою потенціометричною схемою. Такі вольтметри можуть допускати похибку в межах 0,001 % від верхньої границі вимірювання, але вони трудомісткі у виготовленні та дорого коштують.
Для вимірювання величини змінної напруги користуються цифровими вольтметрами, що мають у своїй схемі додатковий перетворювач змінної напруги на пропорційну їй постійну, вимірювану цифровими схемами, які використовуються при вимірюваннях напруг постійного струму.
На жаль, перетворювачі змінної напруги в напругу постійного струму мають обмежену точність перетворювання, й тому точність цифрових вольтметрів змінного струму буде меншою, ніж у цифрових вольтметрів постійного струму.
В цілому цифрові вольтметри протягом останніх десятиріч набули значного розповсюдження, особливо в галузі наукових досліджень, хоча в умовах енергетичних підприємств все ж таки переважно користуються електромеханічними приладами, як більш надійними та дешевшими.
Цифрові прилади використовують головним чином у заводських лабораторіях як зразкові при повірках приладів нижчого класу точності.
3. Механічна частина
3.1 Вимірювання струму
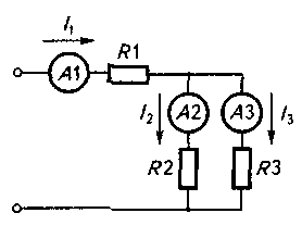
Величину електричного струму, що проходить через будь-яку ділянку електричного кола, вимірюють амперметром, який вмикається послідовно зі споживачем електричної енергії, що є на цій ділянці. Частину розгалуженого електричного кола з амперметрами, ввімкнутими в окремі його ділянки для виміру струмів, зображено на рис. 10. Амперметри А2 і A3 вимірюють струми, що проходять по кожній з двох паралельних гілок, амперметр А1 вимірює загальний струм, споживаний від джерела живлення. Якщо джерело живлення є джерелом постійного струму, то сума струмів, вимірюваних амперметрами А2 і A3, має дорівнювати (у межах точності вимірів) струмові, вимірюваному амперметром А1. Те ж саме має бути при живленні від джерела змінного струму, якщо всі резистори (R1, R2 і R3), застосовані у схемі, є активними. При наявності ж у схемі резисторів з реактивними чи змішаними опорами, величина струму, вимірюваного амперметром А, може бути як меншою за суму струмів, виміряних амперметрами А2 і A3, так, в окремих випадках, і дорівнювати їй.
Рис. 10. Вимірювання струмів амперметрами
При вимірюваннях струмів у колах постійного струму можуть використовуватись магнітоелектричні, електродинамічні або теплові амперметри (міліамперметри). Феродинамічні та електромагнітні амперметри можна використовувати лише у тому разі, якщо на шкалах цих приладів позначено, що вони придатні для вимірів на постійному струмі.
Якщо ж такого позначення немає, то при користуванні такими приладами можуть бути більші похибки, ніж це передбачено класом точності приладів.
При вимірюваннях струмів у колах змінного струму можуть використовуватись електромагнітні, електродинамічні, феродинамічні, теплові, термоелектричні або випрямні амперметри.
Магнітоелектричні амперметри зовсім непридатні для вимірів на змінному струмі, а їх помилкове вмикання в коло змінного струму може призвести лише д0 непорозуміння, бо відсутність відхилення їхніх покажчиків від нульової позначки (навіть при значних величинах змінного струму, що проходить через них) може спонукати спостерігача до збільшення напруги (якщо спостерігач може це зробити), що призведе до пошкодження елементів схеми, чутливих до значних напруг і струмів.
Якщо величини струмів необхідно вимірювати У колах зі значними струмами, прямі вимірювання яких неможливі наявними амперметрами, то у колах постійного струму необхідно користуватися зовнішніми шунтами з приєднаними до них магнітоелектричними мілівольтметрами. У колах змінного струму користуються вимірювальними трансформаторами струму з електромагнітними, електродинамічними або феродинамічними амперметрами, розрахованими на величину номінального струму вторинних обмоток цих трансформаторів. Звичайно це 5 А, але може бути і 1 А.
3.2 Вимірювання напруги
Вимірювання напруги є чи не найбільш поширеним видом вимірювань на електричному обладнанні. У більшості випадків для вимірювань напруги змінного струму в промисловості користуються електромагнітними вольтметрами, як такими, що мають просту конструкцію, надійні при користуванні та найдешевші за вартістю серед вольтметрів інших систем сумірного класу точності.
У випадках, коли вимірювана напруга вища за 500...600 В, ці вольтметри використовують разом з вимірювальними трансформаторами напруги, здатними перетворювати змінну напругу номінальної для первинної обмотки трансформатора величини, у напругу 100 В, на яку розраховано вольтметри, призначені для роботи з цими трансформаторами. В цих випадках шкали вольтметрів градуюють у значеннях первинної (високої) напруги трансформатора. При цьому обов'язково повинен бути напис на шкалі про коефіцієнт трансформації необхідного вимірювального трансформатора напруги у вигляді дробу з номінальною первинною напругою його у чисельнику і номінальною напругою вторинної обмотки — у знаменнику.
Для вимірювань напруг змінного струму придатні й електродинамічні вольтметри, але в основному їх використовують як переносні прилади для повірки інших вольтметрів.
Досить часто для вимірювань напруг змінного струму користуються випрямними вольтметрами, що являють собою вимірювальний механізм магнітоелектричної системи, зкомбінований з напівпровідниковими випрямлячами та з додатковим опором, суміщеними в одному корпусі. Для вимірювання напруг постійного струму найдоцільніше користуватись магнітоелектричними вольтметрами, як такими, що потребують малої потужності живлення і мають значний обертовий момент вимірювального механізму, що зумовлює їх достатню надійність в експлуатації. На постійному струмі можна вимірювати напругу також приладами електродинамічної, електростатичної, електромагнітної і феродинамічної систем. У останніх двох випадках — якщо на їхніх шкалах є умовна позначка постійного струму.
В устаткуваннях, де є напруги змінного струму підвищеної чи високої частоти, можна користуватись вольтметрами електростатичної чи випрямної системи.
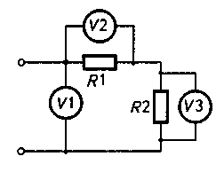
Напругу, що діє на будь-якій ділянці електричного кола, вимірюють вольтметрами, приєднаними паралельно з контрольованими ділянками. На схемі рис. 11 показано, як треба вмикати вольтметри для вимірювання напруг на різних ділянках електричного кола. Величину напруги мережі, чи якого іншого постачальника електричної енергії, вимірюють вольтметром V1, а величини напруг на опорах резисторів R1 і R2 — вольтметрами V2 і V3.
При вимірюваннях у електричних колах зі значними величинами опорів необхідно враховувати, що приєднання вольтметра до будь-якої ділянки кола може суттєво змінити режим її роботи.
















