126252 (690983), страница 3
Текст из файла (страница 3)
2. Описание проектируемого аппарата
2.1 Структурная схема
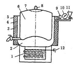
Принципиальная схема устройства электрического котла показана на рисунке 1
Рисунок 1 – Принципиальная схема устройства электрического котла
1 – парогенератор; 2 – паровая рубашка; 3 – тепловая изоляция; 4 – корпус; 5 – кожух; 6 – варочный сосуд; 7 – крышка; 8 – клапан-турбинка; 9 – двойной предохранительный клапан; 10 – манометр; 11 – наполнительная воронка; 12 – клапан уровня
Рисунок 2 – Электрический котел КПЭ-250:
1 –крышка; 2 – варочный сосуд; 3 – теплоизоляция; 4 –пароводяная рубашка; 5 –станция управления; 6 – клапан-турбинка ; 7 – патрубок; 8 – противовес 9 –кран уровня; 10 – пароотводная трубка; 11 – вентиль (отвода пара); 12,13 – рукоятки вентилей подачи воды; 14 –наполнительная воронка; 15 –двойной предохранительный клапан; 16 – электроконтактный манометр; 17 – отражатель; 18 – двухстенная крышка; 19 – прижимные болты; 20 – сливной кран; 21 – наружный корпус; 22 – постамент.
Котел (рис. 2) состоит из варочного сосуда, выполненного из нержавеющей стали, наружного корпуса из листовой конструкционной стали, облицовки и постамента. Замкнутое пространство между варочным сосудом и наружным корпусом служит пароводяной рубашкой.
В пространстве между наружным корпусом и облицовкой уложена теплоизоляция. К нижней части наружного корпуса приварен корпус парогенератора, в котором на отдельном щитке смонтированы шесть трубчатых электронагревателей (тэнов).
Варочный сосуд закрывается откидной, закрепленной на валу шарнира двустенной крышкой, уравновешенной противовесом. Плотное прилегание крышки обеспечивается прокладкой из термостойкой пищевой резины, уложенной в канавке крышки, и накидными винтами. Для слива промывочных вод из варочного сосуда имеется сливной кран с сеткой.
Каждый котел оборудован контрольно-измерительными приборами и арматурой: электроконтактным манометром, грузовым предохранительным клапаном, заливной воронкой с краном, клапаном-турбинкой, краном уровня и электродом «сухого хода», смонтированным в корпусе парогенератора.
Котел оборудован трубопроводами холодного и горячего водоснабжения, служащими для заполнения варочного сосуда водой и его санобработки.
Электроконтактный манометр – это контрольно-измерительный прибор, с помощью которого автоматически регулируется нагрев котла в зависимости от давления пара в пароводяной рубашке.
Предохранительный клапан состоит из двух клапанов: верхнего – парового – для сброса давления из пароводяной рубашки при повышении его сверх 0,5 кгс/см и нижнего – воздушного – для пропуска воздуха в пароводяную рубашку при остывании котла и устранения тем самым вакуума.
В предохранительном клапане в процессе его эксплуатации возможно прикипание клапанов, что может привести к взрыву котла или его смятию. Для предупреждения аварии в предохранительном клапане предусмотрен рычаг, с помощью которого производится подрыв клапанов.
Заливная воронка с краном предназначена для заполнения парогенератора водой. Кран воронки служит воздушным клапаном, так как используется для выпуска воздуха из пароводяной рубашки котла в момент его разогрева.
Клапан-турбинка с отражателем и пароотводной трубкой, смонтированные на крышке котла, служат для отвода из варочного сосуда пара, образуемого в результате кипения содержимого котла.
Кран уровня служит для контроля за верхним уровнем воды в парогенераторе. Нижний уровень воды автоматически контролируется с помощью электрода «сухого хода», подключенного к схеме защиты.
Пищеварочный котел может поставляться со съемной подставкой под раздаточный бачок и вставкой-вкладышем для варки рыбы и овощей на пару. Электрокотел снабжен автоматическим управлением тепловым режимом и защитой тэнов от «сухого хода».
Двухступенчатое регулирование нагрева осуществляется по давлению пара в пароводяной рубашке. Разогрев содержимого котла происходит на полной мощности, варка – на
.
Элементы автоматического управления тепловым режимом котла и система защиты тэнов от «сухого хода» смонтированы в специальном шкафу станции управления.
2.2 Описание режимов работы электрического котла КПЭ-250
Режим I – доведение содержимого котла до кипения на полной мощности и автоматический перевод его на
мощности для осуществления процесса варки. Режим используется при варке супов, овощей и других блюд.
Режим II – доведение содержимого котла до кипения на полной мощности и доваривание его за счет аккумулированного тепла без расхода электрической энергии (котел отключен от электросети). Режим используется при варке крупяных изделий, кипячении молока, чая и др.
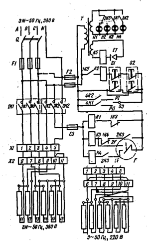
2.3 Электрическая схема котла КПЭ-250
Котлы имеют шесть тэнов. Сильный нагрев достигается включением всех тэнов двойным треугольником или двойной звездой в зависимости от напряжения питающей сети, слабый нагрев – включением одного из тэнов.
Различное соединение тэнов для получения сильного нагрева достигается изменением положения перемычек на клеммной панели.
Пищеварочные котлы КПЭ-100, КПЭ-160 и КПЭ-250 имеют одинаковую электрическую схему (см. рис. 3) и различаются только мощностью тэнов.
Рисунок 3 – Электрическая схема котлов типа КПЭ
Включение аппаратов осуществляется пакетным выключателем Q, а переключение режима работы – переключателем S3. При этом напряжение из сети подается на силовые контакты магнитных пускателей К1, К2, трансформатор Т и цепь управления катушкой магнитного пускателя К2.
Если электрод Е7 находится в воде, то цепь катушки реле К5 замкнута и реле срабатывает. Контакт 1К5 этого реле, замыкаясь, подготавливает к работе магнитный пускатель К2, а контакт 2К5 включает сигнальную лампу Н2 Для удобства обслуживания котел имеет две кнопочные станции (S1, S2), одна из которых находится на станции управления, а другая – непосредственно на котле. При нажатии на любую из кнопок «Пуск» под напряжением оказывается катушка магнитного пускателя К2, который включает один тэн Е2, сигнальную лампу Н4 и подает питание на нижнюю часть цепи управления. При этом под напряжением оказывается катушка магнитного пускателя К1, который включает остальные пять тэнов и сигнальную лампу Н3. В зависимости от режима (РI, РII), установленного переключателем режимов работы S3, кнопка «Пуск» будет сблокирована контактом 4К2 или 4К1.
По достижении в паровой рубашке котла максимального давления замкнется контакт 2F электроконтактного манометра и сработает реле К3. Контакты этого реле отключат магнитный пускатель К1, отсоединив пять тэнов и выключив сигнальную лампу Н3, сблокируют подвижную стрелку электроконтактного манометра с контактом 2F и подготовят реле К4 к работе.
Если переключатель режимов работы S3 был установлен в положении РII, происходит отключение и магнитного пускателя К2. При этом все нагреватели будут выключены и сигнальная лампа Н4 погаснет. Если же переключатель режимов был установлен в положение РI, то магнитный пускатель К2 будет продолжать работать, обеспечивая питание одного тэна Е2. При этом мощность котла уменьшится в шесть раз.
В случае понижения давления в паровой рубашке котла до минимального значения (при работе котла на
мощности) замкнется контакт 1F электроконтактного манометра F и включится реле К4, контакт которого 1К4 разорвет цепь катушки реле К3. Реле К3 выключится и возвратит свои контакты в исходное положение. При этом вновь включатся пять тэнов и загорится сигнальная лампа Н3.
При понижении уровня воды в парогенераторе оголится электрод Е7 и разорвется цепь катушки реле К5.
Реле отключится и его контакты 1К5, 2К5 придут в исходное положение. При этом выключатся все тэны и загорится сигнальная лампа Н1 («Сухой ход»).
Котел устанавливается непосредственно на полу (рис. ) и крепится четырьмя анкерными болтами. К котлу подводятся трубопроводы холодной и горячей воды и трубопровод для отвода конденсата в канализацию.
Два задающих контакта ЭКМ (электроконтактного манометра) устанавливаются по шкале манометра на минимальный предел давления 0,05 – 0,1 кгс/см
и максимальный —0,45 кгс/см
2.4 Технические характеристики котла КПЭ-250
Полезная вместимость, дм³………………………………………250
Продолжительность разогрева при номинальной мощности, мин..........55
Мощность, кВт:
номинальная…………………………...………………….…………30
минимальная……………………………………………………........5,0
Напряжение сети, В…………………………………………….220-380
Частота, Гц…………………………………………………………50
Количество ТЭНов, шт…………………………………………………… 6
Рабочее давление пара в рубашке, кПа……………………….110-150
Габариты, мм:
длина………………………………………………………………..1150
ширина……………………………………………………………...1040
высота………………………………………………………………1275
Масса (со станцией управления), кг……………………………….235
2.5 Монтаж электрокотла пищеварочного КПЭ-250
котел электрический оборудование пищеварочный
Электрокотел пищеварочный КПЭ-250 устанавливают на несгораемом полу или бетонной подушке и закрепляют четырьмя фундаментными болтами М16. Высоту подушки определяют с учетом длины закладной части
фундаментных болтов и высоты расположения сливного крана варочного сосуда, под который должен подходить борт тары для сбора содержимого котла.
Станцию управления размещают в удобном для наблюдения и обслуживания месте и крепят к стене или металлическим стойкам, заделанным в пол, цементным раствором.
До установки котла на место (рис. 4) готовят отверстия для закладной части фундаментных болтов, прокладывают электропровода (силовые и цепей управления) от станции управления, а также подводят трубопроводы холодного и горячего водоснабжения и трубопроводы для отвода вторичного пара от клапана турбинки. Стальную трубу с электропроводами выводят из пола внутри опорного фланца котла, а все технологические трубопроводы – снаружи. Обрез трубы с выводом электропроводов надежно защищают от попадания на него влаги. Трубопровод для отвода пара от клапана-турбинки прокладывают с уклоном 0,005 и соединяют с канализацией через сифон и разрыв не менее 100 мм.
Рисунок 4 – Монтажная схема котла КПЭ-250:
1 – отвод вторичного пара; 2 – подвод горячей воды; 3 – подвод холодной воды; 4 – подвод электроэнергии; 5 – отвод промывочной воды; 6 – пробка пароводяной полости.
В процессе установки котел выверяют на горизонтальность по бортам варочного сосуда уровнем, который устанавливают на монтажной линейке; допустимая негоризонтальность котла 0,002. После закладки фундаментных болтов и выверки котла на горизонтальность под его опорный фланец подливают раствор бетона.
Тэны включают под напряжение только после заполнения парогенератора котла дистиллированной или кипяченой водой до уровня пробного крана. Воду заливают через воронку, расположенную рядом с предохранительным клапаном, при этом кран уровня должен быть открыт. На время разогрева котла открывают воздушный клапан парогенератора.
2.6 Безопасная эксплуатация
Перед началом работы проверяют санитарное состояние варочного сосуда, наличие заземления, уровень воды в пароводяной рубашке.
Для проверки уровня воды открывают контрольный кран и, если через него не пойдет вода, то добавляют в парогенератор через наполнительную воронку дистиллированную или кипяченую воду до появления ее из крана.
Затем проверяют работоспособность клапава-турбинки, приподняв турбину за кольцо вверх, и двойной предохранительный клапан, нажав несколько раз на рычаг. Потом проверяют воздушный клапан или запорный кран воронки. Специальным ключом устанавливают на манометре верхний и нижний пределы необходимого давления пара в пароводяной рубашке котла.
Проверяют целостность резиновой прокладки крышки и состояние откидных винтов. Потом в варочный сосуд загружают продукты и закрывают крышкой, закрепляя ее откидными винтами. Заполнять продуктами и водой пищеварочный котел нужно не превышая предельного уровня 8 – 10 см ниже кромки котла. Устанавливают тумблер на работу нужного режима и включают котел в работу нажатием кнопки «Пуск». Процесс тепловой обработки продуктов осуществляется автоматически. При необходимости корректируют положение верхнего и нижнего пределов давления на электроконтактном манометре в процессе варки. Во время работы котла контролируют состояние клапана-турбинки, двойного предохранительного клапана, манометра и сигнальных ламп.
После окончания работы отключают котел от электросети при помощи красной кнопки «Стоп». Прежде чем открыть крышку выпускают пар из варочного сосуда путем поднятия турбинки вверх до отказа, затем ослабляют откидные винты-зажимы и плавно без рывков откидывают крышку котла.
После выгрузки готовой продукции, остывший варочный сосуд и крышку промывают горячей водой и протирают снаружи сухой чистой тканью.
Надо помнить, что использование котла с загрязненным или неисправным клапаном-турбинкой всегда приводит к аварийным случаям, с травмированием и ожогами обслуживающего персонала. При работе с пищеварочными котлами нужно строго выполнять правила техники безопасности и безопасность труда.
2.7 Ремонт и испытания котлов
















