125824 (690707)
Текст из файла
ПРОЕКТИРОВАНИЕ ТЕХНОЛОГИЧЕСКИХ ПРОЦЕССОВ ИЗГОТОВЛЕНИЯ
Корпуса поглощающего аппарата
Пояснительная записка к курсовому проекту по дисциплине
«Технология производства и ремонта вагонов»
Объектом исследования является поглощающий аппарат Ш-1-ТМ, деталь – Корпус поглощающего аппарата.
Цель работы: разработать технологический процесс ремонта Корпуса поглощающего аппарата.
В курсовом проекте проведен выбор действующего типового технологического процесса – ремонта корпуса поглощающего аапарата, составлен технологический процесс ремонта и произведена разработка технологических операций.
Курсовой проект выполнен в текстовом редакторе Microsoft Word 2007 и представлен на диске в конверте на обороте обложки.
Содержание
Введение
1 Анализ исходных данных для разработки технологического процесса
1.1 Назначение сборочной единицы
2 Назначение детали
2.1 Описание детали
2.2 Схема детали
3 Условия эксплуатации
3.1 Действующие силы, виды трения и изнашивания взаимодействующих поверхностей
4 Ремонт
4.1 Общие положения
4.2 Проверка и ремонт корпуса поглощающего аппарата
5 Разработка технологии восстановления детали
5.1 Разработка технологических операций
6 Расчет режимов механической обработки
7 Нормирование технологического процесса
8 Охрана труда
Заключение
Библиографический список
Приложение А Карты технологического процесса
Б Чертежи
Введение
Курсовой проект по дисциплине «Технологии производства и ремонта вагонов» выполняется с целью закрепления знаний, полученных при изучении технологических и других дисциплин. В процессе его выполнения мы показываем умение пользоваться справочниками, нормативно-технической документацией, технической литературой, инструкциями, приобретаем опыт в проектировании технологического процесса при ремонте деталей и сборочных единиц вагонов.
Разработка любого технологического процесса является комплексной задачей, для решения которой в конкретных условиях производства нужно найти оптимальный вариант процесса изготовления или ремонта заданного изделия. Оптимальным является такой вариант процесса, который обеспечивает выполнение всех требований конструкторской документации на данное изделие при наименьших производственных затратах.
Разработка технологических процессов в общем случае включает комплекс взаимосвязанных работ: анализ исходных данных, определение типа производства, выбор действующего процесса-аналога, выбор исходной заготовки и метода ее получения, выбор технологических баз, разработка технологического маршрута, выбор технологического оборудования, разработка технологических операций, выбор инструмента и приспособлений, нормирование технологического процесса, его тарификация, определение техники безопасности, оформление технологических документов, расчеты основных параметров производства, разработка цеховой планировки.
Любой технологический процесс может существовать в двух формах: и виде совокупности определенных действий людей и технологического оборудования и в виде комплекта документов, определяющих эти действия.
Технологический процесс как комплект документов записывают на специальных бланках. Правила оформления технологической документации установлены стандартами Единой системы технологической документации (ЕСТД), согласно которым документы подразделяют на виды и выполняют строго по определенной форме. К технологическим документам относятся графические и текстовые документы, которые отдельно или в совокупности определяют технологический процесс изготовления изделия и содержат необходимые данные для организации производства. К графическим документам относят карты эскизов, к текстовым — маршрутную и комплектовочную карты, карту технологического процесса, операционную карту, ведомость оснастки и др.
1 Анализ исходных данных для разработки технологического процесса
1.1 Назначение сборочной единицы
Ударно-тяговые устройства предназначены для автоматического сцепления тепловоза с другими единицами подвижного состава, передачи и смягчения продольных (растягивающих и сжимающих) усилий, возникающих при движении и сцеплении. Ударно-тяговые устройства размещаются в стяжных ящиках рамы. Ударно-тяговое устройство состоит из автосцепки, расцепного привода, ударно-центрирующего прибора, тягового хомута и поглощающего аппарата.
Автосцепка - устройство, служащее для сцепления вагонов, локомотивов и других единиц подвижного состава в поезд с минимальным участием сцепщика.
Применяемая на отечественных железных дорогах автосцепка СА-3 изобретена в 1932 году коллективом авторов в составе А.Ф.Пухова, И.Н.Новикова, В.А.Шашкова, В.Г.Голованова под руководством В.Ф.Егорченко.
Перевод железных дорог СССР на автосцепку начался в 1935 году, и был полностью завершен в 1957 году. На время перехода с винтовой стяжки на автосцепку на отечественных железных дорогах применялись специальные переходные приспособления.
В отличие от применявшейся ранее винтовой стяжки, при использовании автосцепки СА-3 участие сцепщика сводится лишь к соединению тормозных рукавов и электрических кабелей.
Похожая конструкция автосцепки для отечественных узкоколейных железных дорог испытывалась в 60-е - 70-е годы, но не прижилась из-за частых случаев саморасцепа при прохождении неровностей пути.
Автосцепка (рис 1) состоит из корпуса и механизма сцепления. Корпус 106.01.001-2 (1) автосцепки представляет собой стальную полую отливку и имеет головную часть и хвостовик. Головная часть образована малым (б) и большим в зубом, пространство между которыми называется зевом. Головная часть также имеет упор (а), ограничивающий продольное перемещение автосцепки при чрезмерно больших сжимающих усилиях. В корпусе автосцепки размещается механизм сцепления, состоящий из замкодержателя 106.01.003-0 (2), замка 106.01.002-1 (3), а также (на рисунке не показаны) подъемника 106.01.004-0, предохранителя замка 106.01.006-5 и валика подъемника 106.01.005-0.
Расцепной привод (рис. 1) состоит из двуплечего рычага (6) и цепи (5), соединяющей рычаг с балансиром (4) валика подъемника. Двуплечий рычаг удерживается в фиксированном положении специальным кронштейном. Ударно-центрирующий прибор состоит из ударной розетки (9), двух маятниковых подвесок 106.00.012-0 (8) и балочки 106.00.011-3 (7). Балочка поддерживает автосцепку на определенной высоте от головок рельсов. Подвески, балочка и ударная розетка автоматически центрируют автосцепку относительно продольной оси тепловоза.
Тяговый хомут 106.00.001-2 (10) представляет собой скобу, которая с помощью клина 106.00.002-2 (11) соединяется с хвостовиком автосцепки. От выпадания клин закреплен болтами (12) к ушкам (г) хомута. Тяговый хомут воспринимает растягивающие усилия и передает их от автосцепки на поглощающий аппарат. Поглощающий аппарат предназначен для рассеивания энергии ударов, передаваемых автосцепкой.
1-Корпус; 2-Замкодержатель; 3-Замок; 4-Балансир; 5-Цепь; 6-Двуплечный рычаг; 7-Балочка; 8-Маятниковые подвески; 9-Ударная розетка; 10-Тяговый хомут; 11-Клин; 12-Болты.
Рисунок 1 - Автосцепка СА-3
2 Назначение детали
Корпус поглощающего аппарата предназначен для гашения части энергии удара, уменьшения продольных растягивающих усилий, которые передаются через автосцепку на раму кузова вагона.
2.1 Описание детали
Корпус поглощающего аппарата отливается из легированной стали и подвергается специальной термообработке с высокоточной закалкой и отпуском. Нажимной конус и фрикционные клинья, выполняются из другой легированной стали и также подвергаются специальной термообработке. Таким образом, рационально подобранные материалы трущихся пар (нажимной конус — фрикционные клинья — поверхность корпуса аппарата) обеспечивают стабильность работы поглощающего аппарата.
Заряженный в заводских условиях аппарат монтируется на вагон без дополнительной подготовки. После первого соударения вагона аппарат автоматически переходит в рабочее состояние.
Ударная розетка отливается из стали 20ГЛ
Химический состав в % материала 20ГЛ:
C 0.15 - 0.25
Si 0.2 - 0.4
Mn 1.2 - 1.6
S до 0.04
P до 0.04
Механические свойства :
KCU - Ударная вязкость, [кДж / м2] - 250
HB - Твердость по Бринеллю, [МПа] - 143 - 187
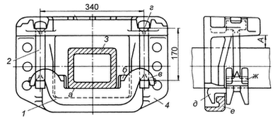
2.2 Схема детали
1 — центрирующая балочка; 2 — маятниковая подвеска; 3 — хвостовик автосцепки; 4 — ударная розетка
Рисунок 2 – Ударная розетка с центрирующим прибором
3 Условия эксплуатации
Детали автосцепного устройства в процессе работы подвергаются сложному силовому воздействию, в результате чего в элементах возникают всевозможные деформации: растяжения, сжатия, изгиба и кручения.
Габаритные размеры основных деталей автосцепного устройства но условиям размещения их на раме вагона, а также обязательность требования взаимозаменяемости создают существенные ограничения, которые препятствуют усилению сечений напряженных зон.
Анализ технического состояния сборочных единиц автосцепного устройства показывает, что все износы и повреждения можно разделить на две группы: естественные, постепенные износы, появляющиеся при нормальном взаимодействии деталей; внезапные, аварийные повреждения, возникающие в результате действия дополнительных внешних факторов или наличия скрытых дефектов технологического происхождения.
Все внезапные повреждения можно разделить на две группы: хрупкий и усталостный изломы. Явления хрупкого разрушения происходят в результате отрицательного влияния внутренних концентраторов напряжений, воздействия низких температур при недостаточной ударной вязкости стали, а также в результате старения металла.
Внешние концентраторы приводят к развитию усталостных разрушений.
3.1 Действующие силы, виды трения и изнашивания взаимодействующих поверхностей
Износ 11 опорных мест для маятниковых подвесок образуется от взаимодействия с верхней головкой маятниковой подвески.
Износы 13 поверхностей проема для прохода хвостовика автосцепки образуются при перемещениях хвостовика автосцепки при сжатии на величину рабочего хода поглощающих аппаратом (70. ..110 мм), а также при отклонениях автосцепки от центрального положения в кривых участках пути.
Деформация (смятие) ударной части розетки 12 происходит oт соударения с упором головы автосцепки при восприятии сжимающих сил, превосходящих энергоемкость поглощающих аппаратов.
Трещины 10 образуются от отверстия под заклепку при непосредственном ударе упора головы автосцепки по ударному выступу розетки, кроме того, по этой же причине иногда образуются трещины в углах проема для прохода хвостовика автосцепки, так как углы являются концентраторами напряжений. Эти трещины, если они не выходят на привалочную поверхность розетки, разрешается заваривать.
Рисунок 3 – Износы и повреждения на ударной розетке.
4 Ремонт
4.1 Общие положения
1.1. Ремонт и проверка автосцепного устройства подвижного состава производятся в контрольных пунктах автосцепки (КПА) депо и отделениях по ремонту автосцепки вагоно- и локомотиворемонтных заводов, имеющих специальные удостоверения установленной формы, выдаваемые Департаментом вагонного хозяйства (ЦВ) МПС России.
1.2. Размещение технологической оснастки в пунктах ремонта автосцепного устройства должно обеспечивать выполнение требований настоящей Инструкции, а также техники безопасности и промышленной санитарии.
1.3. Контрольные пункты автосцепки депо и отделения ремонтных заводов должны иметь необходимую технологическую оснастку, два комплекта проверочных и один комплект контрольных шаблонов в соответствии с приложениями 1 и 2 настоящей Инструкции. Шаблоны должны соответствовать действующим техническим требованиям, утвержденным ЦВ МПС. Шаблоны проверяются на ремонтных предприятиях не реже одного раза в год с постановкой даты проверки согласно Методическим указаниям контроля СДК для автосцепных устройств вагонов РД 32 ЦВ-ЦЛ 027—91.
1.4. Изменение норм и допусков, указанных в настоящей Инструкции, может производиться только с разрешения ЦВ МПС. Порядок применения шаблонов в зависимости от вида ремонта подвижного состава указан в приложении 2 настоящей Инструкции.
1.5. Для поддержания автосцепного устройства в исправном состоянии установлены следующие виды осмотра: полный осмотр, наружный осмотр, проверка автосцепного устройства при техническом обслуживании подвижного состава.
1.6. Полный осмотр автосцепного устройства производится при капитальном и деповском ремонтах вагонов, капитальном ремонте локомотивов и вагонов дизель- и электропоездов, текущих ремонтах ТР-2, ТР-3 тепловозов, электровозов и вагонов дизель- и электропоездов, подъемочном ремонте паровозов. При капитальном ремонте группового рефрижераторного подвижного состава на концевых вагонах автосцепка СА-Д заменяется автосцепкой СА-3.
Характеристики
Тип файла документ
Документы такого типа открываются такими программами, как Microsoft Office Word на компьютерах Windows, Apple Pages на компьютерах Mac, Open Office - бесплатная альтернатива на различных платформах, в том числе Linux. Наиболее простым и современным решением будут Google документы, так как открываются онлайн без скачивания прямо в браузере на любой платформе. Существуют российские качественные аналоги, например от Яндекса.
Будьте внимательны на мобильных устройствах, так как там используются упрощённый функционал даже в официальном приложении от Microsoft, поэтому для просмотра скачивайте PDF-версию. А если нужно редактировать файл, то используйте оригинальный файл.
Файлы такого типа обычно разбиты на страницы, а текст может быть форматированным (жирный, курсив, выбор шрифта, таблицы и т.п.), а также в него можно добавлять изображения. Формат идеально подходит для рефератов, докладов и РПЗ курсовых проектов, которые необходимо распечатать. Кстати перед печатью также сохраняйте файл в PDF, так как принтер может начудить со шрифтами.















