125580 (690592), страница 2
Текст из файла (страница 2)
Железная руда состоит из железосодержащих минералов и пустой породы, в состав которой входят оксиды кремния (кремнезем) SiО2, алюминия (глинозем) А12О3, кальция СаО и магния MgO. Качество руды определяется многими критериями, но, прежде всего, содержанием в ней железа, легкостью восстановления железа из оксидов, составом пустой породы и концентрацией вредных примесей, таких, как фосфор, мышьяк и др.
Для производства чугуна используют следующие руды. Магнитный железняк (магнетит) представляет собой смесь двух оксидов железа – FeO и Fе203, содержит до 70% железа. Его название связано с наличием магнитного оксида FeO. Руда имеет темный цвет, прочная и плотная, а после измельчения легко обогащается методом магнитной сепарации.
Красный железняк (гематит) содержит до 60% железа в виде оксида Fе203. Он менее плотен, чем магнетит, легко измельчается и восстанавливается.
Бурый железняк (гетит) представляет собой водный оксид железа Fе20З. Н20 и содержит еще меньше железа (до 50%). Это относительно рыхлая, легко восстанавливаемая порода. Шпатовый железняк (сидерит) содержит до 40% Fe в виде карбоната FеСО3
Флюсы – это специально вводимые в доменную печь материалы, снижающие температуру плавления пустой породы и ошлаковывающие золу кокса. Различают основные и кислые флюсы. К первым относится известняк СаСО3 и доломит СаСО3. МgСО3, дающие при разложении оксиды щелочной группы СаО и MgO. Ко вторым относится кремнезем SiО2 – кислотный оксид. Выбор зависит от состава пустой породы. Если пустая порода имеет песчано-глинистый характер (смесь SiО2 и А12О3), то в качестве флюсов применяют известняк или доломит, а если в ней превалируют известковые породы, то флюсом служит песок, что в практике встречается довольно редко.
Основным видом топлива в доменном производстве служит кокс, но в отдельных случаях в дополнение к коксу используют природный газ или пылевидный каменный уголь, которые подают вместе с воздухом, необходимым для горения топлива. Кокс получают путем нагрева до 1000 – 1200 0С без доступа воздуха в коксовых батареях особых сортов коксующихся углей. Перед коксованием уголь измельчается в дробилках до частиц размером 2 – 3 мм и обогащается. В процессе выдержки при высоких температурах в течение 15 – 20 часов происходит удаление летучих веществ и спекание угля в пористую массу, которую выгружают из батарей на транспортеры и гасят водой или инертным газом. Для доменного процесса используются куски кокса размером 25 – 200 мм и пористостью около 50%. С ростом пористости растет поверхность контакта топлива с кислородом, в результате чего активизируются процессы горения и повышается температура в рабочем пространстве печи. Кокс должен содержать не менее 80% углерода и возможно меньшее количество серы (2%), золы (12%), влаги (5%) и летучих веществ (1 – 2%).
Огнеупоры служат для сооружения рабочего пространства доменных и других плавильных печей. Они должны обладать термостойкостью, механической прочностью и химической стойкостью по отношению к шлакам. По химическому составу огнеупоры разделяют на кислые, состоящие из кварцитов (динас), основные (доломит, магнезит) и нейтральные (углеродосодержащие). Они поставляются в виде кирпичей, фасонных блоков и крошки. Состав применяемого огнеупора оказывает определяющее влияние на тип флюса, вводимого при плавке. Так, например, при применении кислого огнеупора применять в качестве флюса известняк следует крайне осторожно, так как избыток щелочного оксида в шлаке приведет к быстрому разрушению кислотного оксида огнеупорной кладки.
Наибольшее распространение нашли так называемые шамотные огнеупорные материалы, обладающие слабокислыми свойствами и состоящие из смеси кремнезема и глинозема.
2.1.2 ДОМЕННАЯ ПЕЧЬ
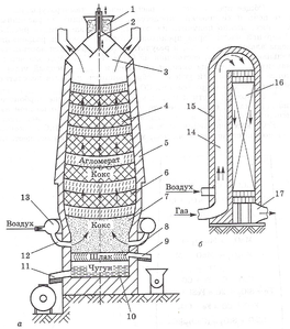
Прошедшие предварительную подготовку руды подаются вместе с коксом, расход которого составляет около 50% от массы выплавляемого чугуна, в доменную печь. Доменные печи относятся к разряду шахтных печей и работают по принципу противотока. Шихта (руда, кокс и, если необходимо, известь) подается сверху и по мере плавления руды и выгорания кокса опускается вниз, а воздух, наоборот, вдувается в нижнюю часть печи и перемещается вверх, навстречу шихте. Полезный объем печей обычно не превышает 2000 м3, высота примерно – 30 м, и выплавляется в них в сутки до 2000 т. чугуна. Отдельные печи имеют объем свыше 5000 мЗ. Схема доменной печи и воздухонагревателя показаны на рисунок 2.1.
Шихта 1 подается в загрузочное устройство 2, оборудованное двумя приемными камерами и запирающими конусами. Попеременное открывание конусов исключает прорыв доменных газов в атмосферу. Под загрузочным устройством располагается колошник 3, из которого печные газы по трубам удаляются из печи. Шахта печи 4 футеруется (выкладывается) огнеупорным шамотным кирпичом. Толщина кладки превышает 1 м. Ниже шахты находятся распар 6, заплечики 7 и горн 8. В верхней части горна, заполненного коксом, находятся 16 – 20 водоохлаждаемых медных фурм 12, по которым из фурменного пояса 13 в доменную печь подается под давлением 300 кПа нагретый до 900 – 1200 ОС воздух, зачастую обогащенный кислородом. В нижней части горна находятся шлаковая 9 и чугунная 11 летки, через которые выпускается с интервалом 2 – 3 ч жидкий шлак и чугун, скапливающиеся на лещади 10.
Каждая доменная печь работает в паре с тремя воздухонагревателями (рис.2.1, 6). Очищенные печные газы, содержащие около 30% оксида углерода, смешиваются с воздухом и, сгорая в камере 14, футерованной огнеупорным кирпичом 15, при температуре около 1300 ОС проходят через насадку 16, выложенную из кирпича, отдавая ей свою физическую теплоту, после чего через боров 17 удаляются в атмосферу.
Пока два из трех нагревателей: работают в режиме разогрева насадки, в третьем осуществляется нагрев воздуха, подаваемого в доменную печь. Направление перемещения воздуха в это время обратное указанному стрелками на рисунке 2.1.б. После снижения температуры нагрева воздуха ниже установленного предела (обычно 900 ОС) происходит автоматическое переключение работы воздухонагревателя с режима охлаждения насадки в режим ее нагрева.
Продуктами доменного производства являются предельные чугуны, содержащие 3,5 – 4,5 % С и 0.5 – 1,3% Si, литейные чугуны, отличающиеся более высоким содержанием кремния (0,8-3,6%), ферромарганец (75-85% Мn) и ферросилиций (19-92% Si). Кроме того, ценными побочными продуктами являются доменные шлаки и газ.
Одним из главных показателей работы доменных печей принято считать коэффициент использования полезного объема. Он получается делением полезного объема (м3) на суточный выпуск чугуна (тонны) и для передовых предприятий составляет 0,5 – 0,6.
2.2 ПРОИЗВОДСТВО СТАЛИ
Сталь - это сплав железа с углеродом, содержание которого не превышает 2,14%. Кроме того, в ней содержатся постоянные примеси (марганец, кремний, сера, фосфор) и в ряде случаев легирующие элементы (никель, хром, ванадий, молибден, вольфрам и др.). Сырьем для производства стали является передельный чугун, выплавляемый в доменных печах, лом и ферросплавы (см. рисунок 2.1.). Если сравнить содержание основных примесей в чугуне и стали, можно сделать вывод, что сталь отличается от чугуна только количеством этих примесей. В чугуне содержание С, Si, Mn, S и Р выше, чем в стали. Поэтому основная задача передела чугуна в сталь состоит в удалении части этих примесей с помощью окислительных процессов. Механизм этого окисления не зависит от типа сталеплавильной печи. Наиболее часто для этой цели используют мартеновский, кислородно-конвертерный и электродуговой способы. Для производства стали данной по заданию используются электродуговые печи.
2.2.1. ЭЛЕКТРОДУГОВАЯ ПЕЧЬ
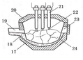
Электродуговые печи (рис.2.2) обеспечивают низкий угар легирующих элементов и высокий перегрев расплава, необходимый для растворения ферросплавов. Поэтому они нашли широкое применение для выплавки сталей специального назначения, таких, как инструментальные, нержавеющие, жаропрочные и т.д. Сама печь состоит из подины, выложенной огнеупорным кирпичом 17 и футерованной внутри огнеупорной массой 18. Сверху располагается свод печи 20 с отверстиями для ввода графитовых электродов 21. Это печи с так называемой зависимой дугой, т.е. дуга 22 горит не между электродами, а между электродами и металлом.
В зоне горения дуги температура достигает 7000 °С, что обеспечивает проплавление шихты под электродами в виде колодцев, в которые скатываются остатки твердой шихты удаленных от электродов зон. Шихта 24 может быть твердой или смешанной – скрап и жидкий чугун. Для загрузки шихты удаляется свод или выкатывается подина. Необходимые по ходу плавки добавки вводят через окно 23, а готовую сталь сливают по футерованному желобу 19, для чего вся печь наклоняется в сторону металлической летки. Емкость печей достигает 400 тонн. В них получается качественный, хорошо раскисленный металл с низким содержанием вредных примесей и неметаллических включений. Перевод на электроплавку сдерживается высокой стоимостью электроэнергии и сложностью системы питания печи электричество.
2.2.2 РАФИНИРОВАНИЕ СТАЛИ
Присутствующие в стали неметаллические включения и газы резко снижают ее прочностные и эксплуатационные характеристики. В связи с этим разработано большое количество способов очистки стали, которые можно разделить на две группы. К первой относятся методы, которые предусматривают рафинирующую обработку после выпуска стали из печи перед ее разливкой.
Электрошлаковый переплав (рис. 2.3) считается наиболее эффективным методом рафинирования, так как после него содержание серы снижается до 0.005%, а количество оксидов и сульфидов снижается вдвое. Для начала процесса на медный поддон 7 устанавливают расходуемый электрод 9 и водоохлаждаемую изложницу 8. В зазаор между ними засыпается флюс, содержащий Al2O3, CaO и СаF2. При включении тока между поддоном и электродом загорается электрическая дуга, которая расплавляют флюс.
Расплав флюса гасит дугу, и процесс автоматически переходит в электрошлаковый, при котором тепло выделяется за счет электросопротивления шлака. Электрод из обычной стали расплавляется в шлаке и капли 11, проходя через слой шлака 10, очищаются от примесей и скапливаются под шлаком в виде ванночки 12, питающей растущий вверх слиток 13.
2.2.3 РАЗЛИВКА СТАЛИ
Наиболее прогрессивной считается разливка стали на машинах непрерывного литья заготовок (МНЛЗ) рис. 2.4. В этом случае сталь из сталеразливочного ковша через промежуточный ковш 9, обеспечивающий равномерность подачи расплава, создавая запас времени для замены сталеразливочного коша с расплавом, поступает в водоохлаждаемый кристаллизатор 10, проходя через который сталь частично затвердевает, образуя корочку на поверхности, граничащей со стенками кристаллизатора, и опускается в зону вторичного охлаждения, где опорные ролики11, повторяющие конфигурацию слитка, снаружи опрыскиваются водой из системы орошения 12.
Ниже опорных располагаются тянущие ролики 13, обеспечивающие равномерность удаления из кристаллизатора слитка 14. Ацетиленокислородные резаки 15 позволяют разрезать непрерывно подаваемый слиток на мерные длины, которые поступают на прокатку. Слитки, получаемые на МНЛЗ, не имеют усадочных раковин, более однородны по химическому составу, однако на их поверхности часто образуются трещины, связанные с перепадом температур по сечению и большими усилиями вытяжки слитка из кристаллизатора.
3. ТЕХНОЛОГИЯ ПОЛУЧЕНИЯ ЗАГОТОВКИ
3.1 ВОЗМОЖНЫЕ СПОСОБЫ ПОЛУЧЕНИЯ ЗАГОТОВКИ
Обработкой металлов давлением (ОМД) называют группу технологических процессов, в результате которых под влиянием приложенных внешних сил происходит изменение формы заготовок без нарушения их сплошности.















