125425 (690542)
Текст из файла
Министерство образования Республики Беларусь
БЕЛОРУССКИЙ ГОСУДАРСТВЕННЫЙ ТЕХНОЛОГИЧЕСКИЙ УНИВЕРСИТЕТ
КАФЕДРА Деталей машин и ПТУ.
ПОЯСНИТЕЛЬНАЯ ЗАПИСКА
ПО КУРСОВОЙ РАБОТЕ
по курсу: «Взаимозаменяемость, стандартизация и технические измерения»
по теме: «Редуктор коническо-цилиндрический»
ВЫПОЛНИЛ:
Королюк А.В.
МИНСК 2006
РЕФЕРАТ
В данном курсовом проекте содержится: листов43, таблиц, рисунков 24
ДОПУСК ПОСАДКА ЗАЗОР НАТЯГ ПЕРЕХОДНАЯ ПОСАДКА ПОДШИПНИК ШИРОХОВАТОСТЬ СОПРЯЖЕНИЕ ОТКЛОНЕНИЕ
Данная курсовая работа, состоящая из восьми разделов, содержит: описание принципа работы коробки подачи, обоснованы и выбраны посадки и допуски, расчёт переходной посадки и посадки с натягом, расчёт зазоров в подшипниках качения, приведены рабочие чертежи деталей.
1. ОПИСАНИЕ КОНСТРУКЦИИ И ПРИНЦИПА ДЕЙСТВИЯ РЕДУКТОРА КОНИЧЕСКО-ЦИЛИНДРИЧЕСКОГО
Редуктор предназначен для уменьшения угловой скорости ведущего вала, за счет кинетического и цилиндрического зацепления и повышения вращающего момента на ведомом валу.
Вращающее движение передается на ведущий вал-шестерню 2,на котором имеется шпонка 1. Корпус редуктора включает в себя основание редуктора 44, крышки редуктора 14, которые жестко закреплены между собой пятью шпильками 30, гайками 31 и шайбами 32. В корпусе имеется сопла подачи смазки 11, которое закреплено устройством крепления 10 и сливная пробка 43 для удаления лишнего смазывающего вещества из редуктора.
Роликовые конические радиально- упорные подшипники 9 (2 шт.), 16 (2 шт.), 28 (2 шт.) расположены в корпусе между стаканом 4, 21, 22, 35 и буртиками валов. Стаканы служат для фиксации положения подшипников. Они зажимаются установочными гайками 18, 26, 46 с лапчатыми шайбами 19, 27, 47. Шпонки 1, 25 предназначены для соединения вала и колеса и передачи крутящего момента.
Гайки предназначены для фиксации и предотвращения люфта подшипников. Роликовые конические радиально- упорные подшипники можно при необходимости заменять, отвинтив гайки 6 (30 ШТ.) от шпильки 5 (30 шт.), вынув пружинную шайбу 7 (30 шт.) и набор регулировочных прокладок 8, снять крышку 3, 17, 41, 33, 36. В крышке 17, 23, 36, 41 имеется канал подачи смазки 38. Крышки 2, 23 имеют манжетные уплотнения 24, 48 служащие для препятствия протекания смазывающего вещества и непопадания пыли.
Совместное расположение основания корпуса и крышки фиксируют штифтами 12 (2 шт.), 29 (2 шт.), которые точно фиксируют расположение деталей при сборке. Втулка расположена между штифтом и крышкой редуктора для более плотного соединения.
Ведущий вал- шестерня 2, который крепиться к подшипникам 9 (2 шт.) соединён коническим зубчатым соединением с коническим колесом 15. Коническое колесо 15 посажен на промежуточный вал- шестерню 40, который соединен цилиндрическим зубчатым соединением с зубчатым колесом 33. Зубчатое колесо закреплено с ведомым валом, которое крепиться на подшипниках 28 (2 шт.). На промежуточном валу-шестерне 40 (1 шт.) и ведомом валу прикреплены маслозащитные шайбы 39 для предотвращения чрезмерного интенсивного попадания смазки в подшипник.
2. ВЫБОР ПОСАДОК МЕТОДОМ АНАЛОГОВ
2.1 Выбор и обоснование выбора посадок
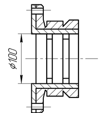
Сопряжение по d2=100мм.
Соединение стакана подшипника с корпусом. Соединение не подвижное, разъемное. Не подвижность обеспечивается винтами.
Для данного соединения необязательно предъявлять точность. Для аналоговых соединений рекомендуется посадка с зазором. Выбераем по [1] стр. 301 переходную посадку Ø
часто разбираемых деталей и назначением d2 = 100h8.
Сопряжение d1 =45мм.
Вал-шестерня ведущий. Соединение разъемное неподвижное, не подвижность обеспечивается шпонкой. Колесо должно хорошо центрироваться на валу для ограничения биения в процессе работы.
Для аналогичных соединений рекомендуется применять переходные посадки типа
Принимаем переходную посадку Ø 45. Выбранная посадка обеспечивает необходимое центрирование.
Сопряжение d10 =65мм.
Соединение вала шестерни 40 с коническим колесом. Соединение разъемное, неподвижное. Коническое колесо должно хорошо центрироваться на вале для обеспечения хорошей работы колеса. Для такого рода соединения применяются посадки с натягом.
- прессовые соединения. Обеспечивают передачу нагрузок средней величины без дополнительного крепления. Принимаем посадку Ø 65
, как предпочтительную из ряда других. Небольшой натяг получающийся в большинстве соединений, достаточен для центрирования деталей и предотвращение их вибрации в процессе работы узла.
2.2 Расчет размерных параметров выбранных посадок
d2= 100мм
Определяем размерные параметры отверстия
Верхнее предельное отклонение:
Нижнее предельное отклонение:
Среднее отклонение:
Номинальный диаметр:
Максимальный диаметр отверстия:
Минимальный диаметр отверстия:
Средний диаметр отверстия:
Допуск:
Определяем размерные параметры вала
:
Верхнее предельное отклонение:
Нижнее предельное отклонение:
Среднее отклонение:
Номинальный диаметр:
Максимальный диаметр вала:
Минимальный диаметр вала:
Средний диаметр вала:
Допуск размера на вал:
Рис. 2.1.Схема взаиморасположения полей допусков
Определяем характеристики посадки по предельным размерам:
Максимальный зазор:
Минимальный зазор:
Средний зазор:
Максимальный натяг:
Минимальный натяг:
Средний натяг:
d1= 45 мм
Определяем размерные параметры отверстия
:
Верхнее предельное отклонение:
Нижнее предельное отклонение:
Среднее отклонение:
Номинальный диаметр:
Максимальный диаметр отверстия:
Минимальный диаметр отверстия:
Средний диаметр отверстия:
Допуск размера отверстия:
Определяем размерные параметры вала
:
Верхнее предельное отклонение:
Нижнее предельное отклонение:
Среднее отклонение:
Номинальный диаметр:
Максимальный диаметр вала:
Минимальный диаметр вала:
Средний диаметр вала:
Допуск размера на вал:
Рис.2.2.Схема взаиморасположения полей допусков
Определяем характеристики посадки по предельным размерам:
Максимальный зазор:
Минимальный зазор:
Средний зазор:
Максимальный натяг:
Минимальный натяг:
Средний натяг:
d10= 65 мм
Определяем размерные параметры отверстия
:
Верхнее предельное отклонение:
Нижнее предельное отклонение:
Среднее отклонение:
Номинальный диаметр:
Максимальный диаметр отверстия:
Минимальный диаметр отверстия:
Средний диаметр отверстия:
Допуск размера отверстия:
Определяем размерные параметры вала
:
Верхнее предельное отклонение:
Нижнее предельное отклонение:
Среднее отклонение:
Номинальный диаметр:
Максимальный диаметр вала:
Минимальный диаметр вала:
Средний диаметр вала:
Допуск размера на вал:
Рис. 2.3.Схема взаиморасположения полей допусков
Определяем характеристики посадки по предельным размерам:
Максимальный зазор:
Минимальный зазор:
Средний зазор:
Максимальный натяг:
Минимальный натяг:
Средний натяг:
У этой посадки зазор
может изменяться от -0,06 до -0,011мм, натяг – от 0 до -0,06 мм.
-
Рабочие эскизы сборочных единиц и сопрягаемых деталей
рис. 2.1 Эскиз сопряжения деталей по d2
рис. 2.2 Эскиз сопряжения деталей по d1
рис. 2.3 Эскиз сопряжения деталей по d10
4. РАСЧЕТ ПОСАДОК С НАТЯГОМ
Посадки с натягом предназначены для неподвижных соединений неразъемных соединений (или разбираемых лишь в отдельных случаях при ремонте), как правило, без дополнительного крепления винтами штифтами шпонками и т. д. Относительная неподвижность деталей при этих посадках достигается за счет напряжений, возникающих в материале сопрягаемых деталей вследствие действия деформаций их контактных поверхностей.
Шероховатость принимаем равной Rzd=8, Rzdk=5,3. Корпус и зубчатое колесо изготовлено из СЧ(µ=0.25).
Рис. 4.1 Расчетная схема
Наружный диаметр ступицы dст, мм, определяеться по формуле
dст=1.7dн.с.,
где dн.с- номинальный диаметр вала, 65 мм,
dст=1.7*65=110,5 мм
Длина ступицы
lст=1.5* dн.с
lст=1.5*65=97,5 мм
В результате рассчитаем величину наименьшего натяга, способного передать такие нагрузки:
,
где ЕD и Еd – модули упругости материалов втулки и вала, табл 1.6
[1, ч. 1, с. 335]; CD и Cd – коэыициент Лямэ для втулки и вала.
Характеристики
Тип файла документ
Документы такого типа открываются такими программами, как Microsoft Office Word на компьютерах Windows, Apple Pages на компьютерах Mac, Open Office - бесплатная альтернатива на различных платформах, в том числе Linux. Наиболее простым и современным решением будут Google документы, так как открываются онлайн без скачивания прямо в браузере на любой платформе. Существуют российские качественные аналоги, например от Яндекса.
Будьте внимательны на мобильных устройствах, так как там используются упрощённый функционал даже в официальном приложении от Microsoft, поэтому для просмотра скачивайте PDF-версию. А если нужно редактировать файл, то используйте оригинальный файл.
Файлы такого типа обычно разбиты на страницы, а текст может быть форматированным (жирный, курсив, выбор шрифта, таблицы и т.п.), а также в него можно добавлять изображения. Формат идеально подходит для рефератов, докладов и РПЗ курсовых проектов, которые необходимо распечатать. Кстати перед печатью также сохраняйте файл в PDF, так как принтер может начудить со шрифтами.
















