125304 (690452)
Текст из файла
Міністерство освіти і науки України
Донецький національний технічний університет
Кафедра «Основи проектування машин»
Курсовий проект
з дисципліни: «Теорія механізмів і машин»
«Проектування та дослідження механізму привода конвеєра»
Варіант 12
Виконавець
студент гр. МС-05a Сагiров П
Консультант
доцент В.А. Мешков
Н.Контролер
асистент Сотнiков О. Л.
Керівник проекту
асистент Сотнiков О. Л.
Донецьк 2007
Реферат
Пояснювальна записка: 54 с., 7 рисунків, 10 таблиць, 5 джерел.
Графічна частина: 3 додатки на листах формату А1.
Об’єкт проектування та дослідження – механізм довбального верстата: важільний, зубчастий і кулачковий.
Мета роботи – синтез та аналіз цих механизмiв.
Під час роботи проведено синтез і аналіз кінематичних схем та реальних характеристик механізмів довбального верстату. Розглянуті теоретичні питання та розрахунки. Проведено структурний аналіз механізму, кінематичне дослідження механізму, побудовані плани механізму, плани швидкостей та прискорень, кутових швидкостей та кутових прискорень, проведений силовий розрахунок механізму, проведено проектування циліндричних прямозубих евольвентних передач та проектування планетарної передачі, та кулачкового механізму.
При проектуванні та дослідженні механізмів використані графічні та аналітичні методи з використанням ЕОМ.
Ключові слова: ЗУБЧАСТА ПЕРЕДАЧА, КУЛАЧОК, ПЛАНИ ШВИДКОСТЕЙ ТА ПРИСКОРЕНЬ, ЗРІВНОВАЖУЮЧИЙ МОМЕНТ , КУТОВА ШВИДКIСТЬ ЛАНКИ, ПРОФIЛЬ КУЛАЧКА, ГРАФІКИ РУХУ.
Зміст
Вступ
1. Кінематичне дослідження механізму
1.1 Структурний аналіз механізму
1.2 Побудова планів механізму
1.3 Побудова планів швидкостей та визначення кутових швидкостей ланок механізму
1.4 Побудова планів прискорень, визначення кутових прискорень ланок механізму та визначення за модулем і напрямком лінійних прискорень центрів мас, кутових прискорень ланок
2. Кінетостатичне дослідження шарнірно-важільного механізму
2.1 Визначення маси, сил інерції і моментів ланок
2.2 Визначення сил реакцій в кінематичних парах і врівноважуючих сил методом планів сил
2.3 Визначення врівноважуючого моменту методом професора М.Є. Жуковського
3. Синтез зубчастої передачі
3.1 Розрахунок геометричних параметрівевольвентного зачеплення
3.2 Розрахунок контрольних розмiрiв параметрівевольвентного зачеплення
3.3 Перевiрка якостi зубцiв та зачеплення
3.4 Побудова картини зубчастого зачеплення
3.5 Побудова графіків питомих ковзань
3.6 Пiдбiр чисел зубцiв планетарного редуктора
3.7 Кiнематичний дослiд редуктора
4. Синтез кулачкового механізму
4.1 Розрахунок законів руху штовхача
4.2 Визначення мінімального радіуса центрового профілю кулачка
4.3 Побудова теоретичного и практичного профілю кулачка
Висновки
Перелік посилань
Вступ
Метою цього курсового проекту є отримання студентами навичок у проектуванні комплексних механізмів, тобто таких, що складаються з декількох частин. У цій роботі таким механізмом є привод конвеєра, який складається з важільного, зубчастого механізмів та кулачкового механізмів.
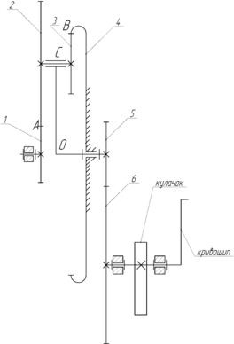
Принцип дії механізму: Обертання вiд електродвигуна через планетарну передачу (колеса 1,2,3,4 i водило H) i пару колiс 5 i 6 (рис. 2). Вiд кривошипа рух передаеться повзуну 5 кулiсного шестиланкового механiзму передаеться головному валу А, на якому крiм колеса 6 установлений кривошип 1 важiльного механiзму (рис. 1) i кулачок (рис. 3) закрiплений рiзець, що здiйснюе технологiчну операцiю. З боку оброблюваноi деталi на рiзець дiє сила рiзання, що має двi складовi Pz, Px (третьою складовою Рy зневажаемо), причому Px =(0,3 ÷ 0,5 )*Pz . На рис.5 приведена дiаграма змiни сили рiзання, що дiє на робочому ходi, який відповiдає руху повзуна 5 униз . Кулачковий механiзм (рис. 3) призначений для поперечноi подачi столу
Рис.1 Кінематична схема редуктора
Рис.2 Кінематична схема стрижневого механізму
Рис.3 Схема кулачкового механізму
Рис.4 Дiаграма змiни кутового прискорення (аналога прискорення) штовхача
Рис.5 Дiаграма змiни сили опору (сили рiзання)
Вихідні дані
Частота обертання електродвигуна
=2970 об/хв
Частота обертання головного вала
=122 об/хв
Модуль коліс зубчатого механізму m = 5,5 мм
Кількість сателітів k =3
Кількість зубів коліс: 1, 2
= 14; z6 = 37;
Хiд повзуна: Н=0,178 м
Мiжосьова вiдстань
Вiдношення довжин
Коефiцiент змiни середньоi швидкостi повзуна кулiсного механiзму
Маса повзуна
Складова сили рiзання
Кутов координата кривошипу для силового аналiзу
Кут повороту штовхача кулiсного механiзму
Довжина штовхача
Допустимий кут тиску
Фазовi кути повороту кулачка:
Тип діаграм Г
1. Кінематичне дослідження механізму
1.1 Структурний аналіз механізму
Схема механізму привода конвеєра, який буде досліджуватися у цьому пункті, зображено на рис.6. Цей механізм складається з наступних частин:
Рис.1. Кінематична схема стрижневого механізму
-
ланки:
1 – кривошип (обертальний рух – повний оберт);
2 – кулісний камінь (зворотно-поступальний рух);
3 – куліса (зворотно-поступальний рух);
4 – шатун (плоско-паралельний рух);
5 – ползун (зворотно-поступальний рух);
6 – нерухома стійка;
-
кінематичні пари:
6-1 – нижча, плоска, другого класу, однорухома;
1-2 – нижча, плоска, другого класу, однорухома;
2-3 – нижча, плоска, другого класу, однорухома;
3-4 – нижча, плоска, другого класу, однорухома;
3-6 – нижча, плоска, другого класу, однорухома;
4-5 – нижча, плоска, другого класу, однорухома;
5-6 – нижча, плоска, другого класу, однорухома;
Ступінь рухомості механізму обчислюється за формулою Чебишева:
де
- ступінь рухомості механізму;
- загальна кількість ланок;
- кількість кінематичних пар другого класу;
- кількість кінематичних пар першого класу.
Для нашого механізму
та
.
Отже:
Виходячи з цього результату, можна зробити висновок, що достатньо однієї узагальненої кординати (кута повороту кривошипа 1 – кута
) для того, щоб визначити розташування усіх ланок механізму відносно стійки.
Розклад механізму на структурні групи Асура:
1.2 Побудова планів механізму
Для побудови планів механізму необхідно вибрати масштабний коефіцієнт:
Побудуємо план механізму в нульовому положенні. Знайдемо довжини ланок механiзму, для цього зображуемо механiзм у крайнiх положеннях. Визначимо кут
-кут мiж лiнiями кривошипа в крайнiх положеннях механiзму, який дорiвнюе куту хитання кулiси
:
,
де
-коефiцiент змiни середньоi швидкостi повзуна 5.
Знаходимо довжину кривошипу:
.
Знаходимо довжину
:
,
де Н-хiд повзуна.
Знаходимо довжину шатуна :
,
де
- вiдношення довжин.
Вiдстань вiд осi обертання кулiси дотраекторii руху точки F, дорiвнюе:
Кривошип зображуємо у 3-х положеннях, відкладаючи від нульового положення задане кутом
=900 і від нього відкладаємо положення +30о і -30о, які нумеруємо у напрямку обертання кривошипа. Положення ланок на кожному плані механізму визначаємо методом насічок (штрихом).
Визначаємо наступнi довжини:
Визначаємо величини ланок на кресленні:
;
;
.
1.3 Побудова планів швидкостей та визначення кутових швидкостей ланок механізму
План швидкостей будуємо для всіх трьох положень механізму.
Приймаємо
;
1) Перше положення (
=30°):
Задача вирішується графічно. Для побудови плану швидкостей розглянемо швидкості крапок А, В, D,E, F.
Крапка D і А нерухомі, тому лiнiйнi швидкостi
і
= 0м/с,
де ω1 - кутова швидкість ланки 1.
Зобразимо точку В у виглядi трьох точок : точка В1 належить кривошипу 1; точка В1 належить кулiсному каменю 2 ; точка В1 належить кулiсi 3.
- спрямована перпендикулярно до АВ
Щоб зобразити вектор
на кресленні проробимо наступну операцію:
,
де
- вектор швидкості крапки B1 на кресленні.
Швидкість точки В1 складається з переносної швидкості, яка дорівнює швидкості точки В3 та відносної швидкості, яка дорівнює швидкості точки В2 відносно точки В3.
Вирішуємо його графічно, тому що на плані зображений вектор
- підсумковий, лінію, перпендикулярну DB, проводимо з його початку – полюсу
, а лінію, яка паралельна DB – через точку
. Їхнє перетинання буде точкою
. А невідомі модулі векторів визначимо, виміривши відрізки
і
:
З теореми подоби трикутників знаходимо швидкiсть
точки С :
,
де
,
- вектори швидкості точок B1 та С на кресленні
Характеристики
Тип файла документ
Документы такого типа открываются такими программами, как Microsoft Office Word на компьютерах Windows, Apple Pages на компьютерах Mac, Open Office - бесплатная альтернатива на различных платформах, в том числе Linux. Наиболее простым и современным решением будут Google документы, так как открываются онлайн без скачивания прямо в браузере на любой платформе. Существуют российские качественные аналоги, например от Яндекса.
Будьте внимательны на мобильных устройствах, так как там используются упрощённый функционал даже в официальном приложении от Microsoft, поэтому для просмотра скачивайте PDF-версию. А если нужно редактировать файл, то используйте оригинальный файл.
Файлы такого типа обычно разбиты на страницы, а текст может быть форматированным (жирный, курсив, выбор шрифта, таблицы и т.п.), а также в него можно добавлять изображения. Формат идеально подходит для рефератов, докладов и РПЗ курсовых проектов, которые необходимо распечатать. Кстати перед печатью также сохраняйте файл в PDF, так как принтер может начудить со шрифтами.















