125013 (690235), страница 3
Текст из файла (страница 3)
При необходимости одновременного одинакового воздействия на две независимые цепи применяются кнопки К-23 (с двумя контактами) или К-20 (с двумя контактами). Конструкция их аналогична конструкции кнопки К-03 и отличается от последней расположением контактов. Кнопки управления, устанавливаемые на импортных щитах управления, набираются из элементов, сходных с элементами кнопки КУ-121. В случае необходимости одновременного воздействия на несколько цепей элементы устанавливаются один над другим таким образом, чтобы их штифты служили как бы продолжением друг друга.
Для переключения целей управления используются обычные пакетные переключатели серии ПК в открытом (для установки на щитах и внутри шкафов) и в защищенном исполнении. Если надо переключать более трех независимых цепей, то вместо пакетных переключателей ПК используют многоцепные универсальные переключатели серии УП. Последние имеют различные схемы соединений и изготовляются как с фиксацией положения рукоятки (и контактов), так и с самовозвратом последней.
Для сигнализации работы механизмов, положения переключающих органов технологического потока, наличия или отсутствия необходимых величин давления, температуры и т.п. на щитах управления устанавливают оптические сигнальные устройства. На щитах дистанционного управления отечественного производства для оптической сигнализации применяют, как правило, сигнальные лампы в арматурах или сигнальные табло. Для увеличения срока службы лампы и обеспечения ее включения на определенные напряжения, соответствующие напряжению цепей управления щита, в котором устанавливается лампа, в арматуру встраивается добавочное сопротивление, величина которого выбирается в зависимости от напряжения, подводимого к лампе. Лампы снабжаются стеклянными или пластмассовыми колпачками различного цвета.
Арматуры сигнальных ламп АСЭ-48 и ЛС-53, предназначенные дли цилиндрических ламп с нормальным цоколем, не имеют встроенных добавочных сопротивлений, и последние устанавливаются на внутренней стороне панели щита рядом с арматурой. Величина сопротивлений, как и для арматур АСС-ДС-38, зависит от напряжения сети, к которой подключается лампа.
В качестве устройств предупредительной оптической сигнализации устанавливаются светосигнальные арматуры СОМ-200 с красным стеклом. Для звуковой сигнализации (предпусковой, командной и аварийной) используются, как правило, звонки громкого боя в пылебрызгозащищенном исполнении, а также сирены. Звонки и сирены предназначены для включения в цепь постоянного тока и переменного.
Рисунок 6 - Общий вид поворотного сигнализатора.
2. Расчет силового привода
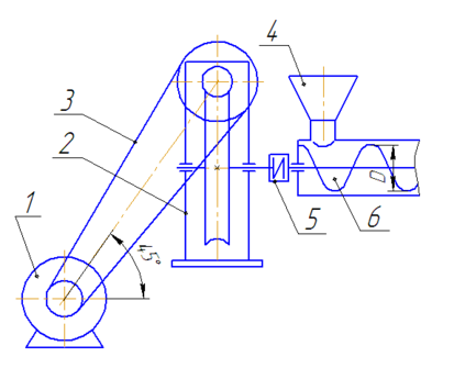
Рис. 3. Кинематическая схема привода шнекового смесителя: 1 – двигатель; 2 – червячный редуктор; 3 – плоскоременная передача; 4 – загрузочный бункер; 5 – упругая муфта с торообразной оболочкой; 6 – шнек.
Исходные данные:
-
Тяговая сила шнека, F, кН – 1,3;
-
Скорость перемещения смеси, v, м/с – 0,9;
-
Наружный диаметр шнека, D, мм – 400;
-
Угол наклона ременной передачи, θ, град – 30;
-
Допускаемое отклонение скорости смеси, β, % – 3;
-
Установленный срок службы, Lr, лет – 5.
Общий КПД привода:
η = η1η2 = 0,98·0,85 = 0,83;
Требуемая мощность электродвигателя равна:
Р=F·v/ η=1,3·0,9/0,83=1,41кВт;
Частота вращения привода вала:
np=60·v/(π·D)=60·0,9/(3,14·0,4)=43об/мин;
Выбор электродвигателя
Исходя из полученных данных подбираем двигатель серии 4А «4AM90L2Y3» с номинальной мощностью 3,0 кВт и номинальной частотой вращения барабана 50 об/мин.
Срок службы приводного устройства
Срок службы приводного устройства рассчитывают по формуле:
Lh=365·Lr·Kr·tc·Lc·Kс
где tc – продолжительность смены в часах;
Lc – число смен;
Kr- коэффициент годового использования;
Kr=
=
=0,693;
Kс – коэффициент сменного пользования;
Kc =
=0,938.
Подставим значения:
Lh=365·5·0,693·8·3·0,938 = 28472 ч.
Время простоя машинного агрегата принимаем 10% ресурса. Следовательно, рабочий ресурс привода составит:
Lh=
ч.Заключение
Внедрение на предприятиях сборного железобетона разработанного проекта позволяет повысить скорость приготовления бетонной смеси, исключить ручной труд, обеспечить комфортные условия труда рабочих, обеспечить высокую надежность эксплуатации оборудования. Однако рассмотренные средства и способы автоматизации не позволяют еще в полной мере решить задачу комплексной автоматизации, т. е. добиться такого положения, когда автоматизированы все взаимосвязанные основные участки производственного процесса. Чтобы решить эту задачу необходимо завершить ряд опытно-конструкторских и научно-исследовательских работ по созданию новых совершенных типов автоматизированного технологического оборудования, и новых средств и систем автоматизации.
Список литературы
-
В.А., “Теория систем автоматического регулирования”. - М.: Наука, 1975
-
Евдокимов В.А., “Механизация и автоматизация строительного производства”, 1985;
-
Бауман В.А., “Строительные машины” в 2-х томах, М., 1977;
-
Горинштейн Л.Л., “Основы автоматики и автоматизация производственных процессов”, М., 1985.
ч.Заключение













