124174 (689889), страница 3
Текст из файла (страница 3)
Рисунок 1.11 – Камера замораживания с ложным потолком
К камерным приборам охлаждения относятся воздухоохладители и пристенные батареи.
Воздухоохладители бывают постаментные и подвесные и компонуются из секций-модулей. Распространены воздухоохладители из оребренных труб или пластин с каналами, внутри которых кипит хладагент или циркулирует хладоноситель. Воздух продувается с помощью вентилятора. Разность температур воздуха и поверхности охлаждения может достигать 12°С.
Для охлаждения камер длительного хранения мороженых грузов используют панельные батареи, представляющие собой стальные листы, к которым приваривают цельнотянутые трубы. Пристенные и потолочные батареи (рис. 1.12) могут применяться как отдельно от воздухоохладителей (тихое охлаждение), так и совместно с ними. Наружная поверхность труб может быть гладкой или оребренной.
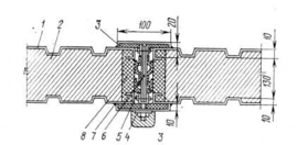
1 – труба; 2 – лента; 3 – уголок; 4 – хомутик; 5 – калач
Рисунок 1.12 – Пристенная батарея
1.3 Патентная проработка проекта
1.3.1 Камера холодильной обработки мяса с системой увлажнения воздуха
Целью изобретения является снижение усушки.
Камера для холодильной обработки мясных туш (рисунок 1.13) содержит теплоизолированный корпус 1 с дверями 2, 3 для загрузки и выгрузки туш, систему циркуляции воздуха, включающую расположенные вдоль корпуса воздухоохладители 4 с нагнетательными патрубками 5, подвесные пути 6 для размещения мясных туш. Система циркуляции воздуха снабжена линией подвода увлажненного воздуха, содержащей всасывающий раструб 7 с вентилятором 8, размещенный над дверью 2 для загрузки и распределительный коллектор 9 с отводными трубками 10, подсоединенными к нагнетательным патрубкам воздухоохладителей 4.
Рисунок 1.13 - Камера холодильной обработки с увлажнением воздуха
При эксплуатации камеры через загрузочную дверь 2 по подвесному пути 6 парные мясные туши поступают в полость корпуса 1. Воздух с помощью вентиляторов подается в батареи воздухоохладителей 4. После охлаждения поступает в грузовой объем, омывает поверхность мясных туш и охлаждает их. В процессе загрузки камеры происходит воздухообмен между полостью корпуса 1 и смежным помещением, из которого производится загрузка мясных туш. Теплый и влажный воздух проникает в корпус через верхнюю часть загрузочной двери 2 и поднимается в раструб 7. Из раструба 7 с помощью вентилятора 8 по коллектору 9 влажный и теплый воздух подается в нагнетательные патрубки 5, где смешивается с холодным и сухим воздухом из воздухоохладителей 4. Это приводит к увеличению влажности охлаждающего воздуху, поступающего в полость корпуса 1 (грузовой объем) и омывающего поверхность охлаждаемых мясных туш, и, соответственно, к снижению интенсивности усушки.
Данное устройство позволяет снизить усушку на 10- 15%.
Камера для холодильной обработки мясных туш, содержащая теплоизолированный корпус с дверью для загрузки мясных туш, подвесные пути, систему циркуляции воздуха, включающую расположенные вдоль корпуса воздухоохладители, отличается тем, что, с целью снижения усушки, система циркуляции воздуха снабжена линией подвода увлажненного воздуха, содержащей всасывающий раструб с вентилятором, размещенный над дверью для загрузки, и распределительный коллектор с отводными трубками, подсоединенными к нагнетательным патрубкам воздухоохладителя [Приложение Б а.с. № SU 1763824 А1].
1.3.2 Конструкции камерных приборов охлаждения
Изобретение относится к камерным пристенным и потолочным батареям.
Цель изобретения - снижение энергозатрат и сокращение времени оттаивания.
Поставленная цель достигается тем, что в охлаждающей батарее, содержащей теплообменные элементы в виде труб для циркуляции хладагента , имеющих наружное продольное оребрение, ребра выполнены из трех продольных полос, при этом первое ребро установлено в верхней части трубы в вертикальной плоскости , а два других ребра расположены по обе стороны на равном расстоянии oт первого и закреплены на нижней части трубы под углом 10 - 90 к горизонтальной оси поперечного сечения трубы.
Выполнение наружного оребрения в виде трех ребер, представляющих собой продольные полосы, позволяет разделить намораживаемый лед на три не связанных между собой цилиндра. В связи с этим для сбора льда необходимо подпустить только такое количество теплоты, которое необходимо для подтаивания ледяного слоя в зоне контакта последнего с наружной поверхностью труб высотой, равной высоте микровыступов поверхности труб. При образовании жидкой фазы адгезия льда с поверхностью труб и ребер полностью нарушается и части цилиндра под действием силы тяжести соскальзывает с труб.
Установка первого ребра в верхней части в вертикальной плоскости, размещение двух других по обе стороны от первого и закрепление их на нижнем полуцилиндре трубы под углом 10-90° к горизонтальной оси поперечного сечения трубы позволяют наиболее эффективно использовать силу тяжести при удалении частей цилиндров льда.
В случае выполнении ребер с углом более 90° боковые ребра оказываются полностью покрытыми слоем льда и не могут разделять оседающий иней на раздельные части. Кроме того, боковые ребра препятствуют удалению нижней части цилиндров льда. При выполнении ребер с углом меньше 10° затрудняется удаление боковых частей цилиндров льда, так как значительно возрастает сила трения. В этом случае резко ухудшается эффект соскальзывания инея боковых частей цилиндров. Наиболее целесообразно использовать предлагаемое устройство в качестве потолочной батареи. В этом случае основная масса инея нарастает на нижней части батареи и боковые ребра перехватывают своей нижней частью поток массы водяного пара. Следовательно, на боковых и верхней частях трубы оседает минимальное количество инея.
Охлаждающая батарея (рисунок 1.14) содержит трубы 1 для циркуляции хладагента, имеющие наружные продольные ребра 2 - 4, выполненные в виде полос, ребра 2 установлены в верхней части трубы 1 в вертикальной плоскости, а ребра 3 и 4 расположены по обе стороны на равном расстоянии от ребра 2 и закреплены на нижней части трубы 1 под углом α=10 - 90° к горизонтальной оси поперечного сечения трубы 1.
Рисунок 1.14 – Сечения предлагаемых конструкций
При расположении ребер 3 и 4 на нижней части трубы под углом 90° к горизонтальной оси 5 поперечного сечения трубы 1 расстояние между ребрами 3 и 4 нецелесообразно выполнять менее 0,3 наружного диаметра трубы, так как при таком расстоянии возможно быстрое зарастание инеем межреберного пространства, что значительно снижает эффективность работы охлаждающей батареи.
Использование предлагаемой охлаждающей батареи позволяет снизить по сравнению с известными устройствами энергозатраты в режиме оттаивания в 3,0-3,5 раза, сократить длительность процесса в 4,0-5,0 и снизить металлоемкость в 1,4 – 1,8 раз [Приложение В а.с. № SU 1719824 A1].
1.4 Формулирование идеи реконструкции и обоснование технического решения
На основании анализа конструкции камеры охлаждения, технологии мясоперерабатывающего производства и оборудования, входящего в его состав, а также в результате патентной проработки проекта в курсовом проекте предлагается:
-
В камере холодильной обработки мясных туш, содержащей теплоизолированный корпус с дверью для загрузки мясных туш, подвесные пути, систему циркуляции воздуха, включающую расположенные вдоль корпуса воздухоохладители установить на систему циркуляции воздуха линию подвода увлажненного воздуха, содержащую всасывающий раструб с вентилятором, размещенный над дверью загрузки, и распределительный коллектор с отводными трубками, подсоединенными к нагнетательным патрубкам воздухоохладителя, что приведет к снижению интенсивности усушки мясных туш, меньшим потерям продукта и облегчению проведения последующих операций переработки мяса.
-
В камеру холодильной обработки мясных туш установить систему охлаждающих батарей, элемент которой выполнен в виде трубы для циркуляции хладагента, имеющей наружное продольное оребрение, причем, ребра выполнены из трех продольных полос: первое установлено в верхней части трубы в вертикальной плоскости, а два других ребра расположены по обе стороны на равном расстоянии от первого и закреплены на нижней части трубы под углом 50˚ к горизонтальной оси поперечного сечения трубы, что приведет к снижению энергозатрат, сокращению времени оттаивания батарей, снижению металлоемкости, интенсификации охлаждения воздуха в камере, что в конечном итоге скажется на производительности рассматриваемой холодильной камеры.
2 Расчетная часть
2.1 Расчет теплоизоляции пола камеры замораживания
Теплоизоляционная конструкция обогреваемого пола приведена на рисунке 2.1. Теплоизоляционный материал - пенобетон [λиз = 0,19 Вт/(м·К)]. Учитывать сопротивление только слоев, расположенных выше обогревающих устройств, т.е сопротивление половины толщины бетонной подготовки.
Рисунок 2.1 - Конструкция пола камеры замораживания
Толщина слоя теплоизоляции
(2.1)
где λиз=0,19 Вт/(м·К) – коэффициент теплопроводности пенобетона;
κ = 0,17 Вт/(м2·К) – коэффициент теплопередачи пола при tВ=-35°С;
αв =10,44 Вт/(м2·К) – коэффициент теплоотдачи от пола к воздуху;
δас=60 мм – толщина слоя чистого пола (асфальт);
λас=0,8 Вт/(м·К) – коэффициент теплопроводности чистого пола;
λжб=1,5 Вт/(м·К) – коэффициент теплопроводности бетонной
подготовки;
δжб=120 мм – толщина слоя бетонной подготовки;
δб=100 мм – толщина слоя бетонной подготовки с электронагревателями;
λб=1,5 Вт/(м·К) – коэффициент теплопроводности бетонной
подготовки.
2.2 Расчет конденсации влаги на стеновых панелях
Необходимо определить, возможна ли конденсация влаги на внутренней поверхности наружной стены холодильника, расположенного в ЦЧР и изготовленного из панелей типа «сэндвич» (рисунок 2.2) для условий холодного периода года в камере хранения охлажденных грузов.
Чтобы не допустить конденсацию влаги на панели (со стороны камеры) в холодный период года, необходимо выполнить условие
; (2.2)
где kp — коэффициент теплопередачи, рассчитанный из условия невыпадения влаги на теплой поверхности ограждения, Вт/(м2·К);
tв =0 °С — температура воздуха в камере охлаждения;
tР = -1,3 °С — температура точки росы при tB = 0 °C и φв=90 %;
= - 40 °С — расчетная температура наружного воздуха для холодного периода Воронежской области;
m =1 - массивность ограждения для холодильных камер;
αв = 9,28 Вт/ (м2 ∙ К) – коэффициент теплоотдачи воздуха;
1 — профилированный лист из стали или алюминия (δал=3 мм); 2 — теплоизоляция (пенополиуретан); 3 —гнутый профиль из стали или алюминия; 4 — полиэтиленовый колпак на эпоксидной смоле; 5 — уплотняющий профиль из эластичного пенополиуретана; 6 — бакели-зированная фанера; 7 — герметизирующая мастика; 8 — участок теплоизоляции, пропитанный синтетическими смолами
Рисунок 2.2 - Конструкция наружной стены из панелей «сэндвич».
Тогда
Вт/(м2·К)
Действительный коэффициент теплопередачи
; (2.3)
где αн=23,3 Вт/ (м2·К) – коэффициент теплоотдачи наружного воздуха;
αв = 9,28 Вт/ (м2 • К) – коэффициент теплоотдачи воздуха;
λал=210 Вт/(м·К) – коэффициент теплопроводности аллюминия;
δал=0,003 м – толщина аллюминиевого листа;
λиз=0,14 Вт/(м·К) – коэффициент теплопроводности пенополиуретана;
δиз=0,15 м – толщина слоя пенополиуретана;
Вт/ (м2·К)
В итоге получаем соотношение κд =0,26 Вт/ (м2·К) < κр = 0,268 Вт/(м2·К). Следовательно, условие невыпадения влаги на поверхности ограждения соблюдается.
Таким образом, в холодильной камере конденсация водяных паров из воздуха на внутренней поверхности наружной стены не возникает, если температура наружного воздуха tн.р ≥ - 40°С , а параметры внутреннего воздуха соответствуют заданным.
2.3 Определение толщины теплоизоляции всасывающего трубопровода холодильной установки
Трубопровод диаметром dTP = 108×4 мм изолирован скорлупами СК-5 из пенополистирола
















