123746 (689598)
Текст из файла
Московский Государственный Технический Университет
им. Н.Э. Баумана
Калужский филиал
Факультет: Конструкторско-механический (КМК)
Кафедра: «Деталей машин и подъемно-транспортного оборудования» К3-КФ
Расчетно-пояснительная записка
к курсовому проекту
по дисциплине: Детали машин
на тему: Привод элеватора
вариант: 13.08
ДМ. 13.08.00.00. ПЗ
________________________________
Калуга 2005г.
Содержание
1. Техническое задание
2. Кинематическая схема механизма
3. Выбор электродвигателя
4. Определение мощности, крутящего момента и частоты вращения для каждого вала
5. Проектный и проверочный расчет конической передачи редуктора
6. Определение диаметров валов
7. Выбор и проверка подшипников качения по динамической грузоподъёмности.
8. Проверочный расчет тихоходного вала (наиболее нагруженного)
9. Выбор и расчёт шпоночных соединений.
10. Расчет цепной передачи
11. Выбор муфт
12. Выбор посадок зубчатых колес, подшипников, звездочек
13. Выбор смазочного материала и способа смазывания зубчатых зацеплений и подшипников
Литература
1. Техническое задание
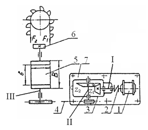
2. Кинематическая схема привода элеватора
-
Электродвигатель
-
Муфта упругая
-
Редуктор
-
Цепная передача
-
Барабан
-
Останов
-
Рама
I. Вал быстроходный
II. Вал тихоходный
III. Вал приводной
Z1 – колесо быстроходное
Z2 – колесо тихоходное
3. Выбор электродвигателя
-
Общий коэффициент полезного действия:
;
nм=0,98 – КПД муфты;
nред=0,96 – КПД редуктора;
пц.п.=0,93 – КПД цепной передачи;
nподш=0,99 – КПД опоры вала
-
Мощность электродвигателя:
где Р΄эл – предварительная мощность э/д, [кВт];
Рвых – мощность на выходе, [кВт];
где Ft = 2750 Н – окружное усилие на барабане;
v = 2,5 м/с – скорость ленты транспортёра;
По таблице определяем, что Рэл = 11кВт.
-
Частота вращения приводного вала:
,
где n3 – частота вращения приводного вала [мин-1];
Dб = 375 мм – диаметр барабана;
Рассмотрим возможные варианты передаточных чисел редуктора
– общее передаточное число;
,
Принимаем
;
;
где
- передаточное число цепной передачи;
- передаточное число редуктора;
Воспользуемся [1], где по таблице 24.8 выбираем электродвигатель 4A132М4, который имеет следующие параметры:
Рэ.д. = 11 кВт, nэ.д.= 1460 мин-1.
4. Определение мощности, крутящего момента и частоты вращения каждого вала привода
Определим мощности:
;
;
;
где
– мощность на валах редуктора, быстроходного, тихоходного валов и приводного вала,
– коэффициенты полезного действия муфты, редуктора, цепной передачи и опор соответственно.
Определим частоту вращения:
;
;
;
где
– частота вращения на валах редуктора, быстроходного, тихоходного валов и приводном вале.
Определим крутящие моменты:
;
;
;
где
– крутящие моменты на валах редуктора быстроходного, тихоходного и приводного валов.
Результаты расчётов занесём в таблицу 1.
Таблица 1.
| Вал | Мощность | Частота вращения | Крутящий момент |
| 1 | 10,78 | 1460 | 70,5 |
| 2 | 10,35 | 365 | 270,8 |
| 3 | 9,53 | 127 | 716,625 |
5. Проектный и проверочный расчет конической передачи редуктора
Материал колеса и шестерни – сталь 40Х. Таким образом, учитывая, что термообработка зубчатых колёс и шестерни – улучшение, имеем:
для шестерни:
;
для колеса:
;
где
– предел текучести материала.
Определим среднюю твёрдость зубьев шестерни и колеса:
;
где
– твёрдость рабочей поверхности зубьев.
Определим коэффициенты приведения на контактную выносливость
и на изгибную выносливость
по таблице 4.1., учитывая режим работы №3:
;
.
Определим число циклов перемены напряжений.
Числа циклов
перемены напряжений соответствуют длительному пределу выносливости. По графику 4.3. определяем числа циклов на контактную и изгибную выносливость соответственно:
,
,
.
Найдём ресурс передачи, т.е. суммарное время работы:
,
где
– срок службы передачи, годы;
– коэффициент использования передачи в течение года;
– коэффициент использования передачи в течение суток.
Определим суммарное число циклов перемены напряжений для шестерни и колеса соответственно:
,
,
где
– ресурс передачи;
и
– частота вращения шестерни и колеса соответственно;
=
= 1 – число вхождений в зацепление зубьев шестерни или колеса соответственно за один его оборот.
Определим эквивалентное число циклов перемены напряжений для расчёта на контактную выносливость:
,
,
где
– коэффициенты приведения на контактную выносливость;
– суммарное число циклов перемены напряжений для шестерни или колеса.
Так как
, то принимаем
и
, то
.
Определим эквивалентное число циклов перемены напряжений для расчёта на изгибную выносливость:
,
,
где
– коэффициенты приведения на изгибную выносливость;
– суммарное число циклов перемены напряжений для шестерни или колеса.
Так как
и
, то принимаем
.
Определим допускаемые напряжения для расчётов на выносливость. По таблице 4.3 находим
для шестерни:
,
,
для зубчатого колеса:
,
,
,
,
где
и
– длительный предел контактной выносливости и коэффициент безопасности;
и
– длительный предел изгибной выносливости и коэффициент безопасности;
– средняя твёрдость зубьев шестерни или колеса.
Определим предельные допускаемые контактные и изгибные напряжения:
,
где
– предел текучести материала колеса или шестерни.
Проверим передачу на контактную выносливость:
,
,
,
.
Принимаем допускаемое контактное напряжение как меньшее значение:
.
Определим коэффициенты нагрузки на контактную и изгибную выносливость по формулам:
и
,
где
и
– коэффициенты концентрации нагрузки по ширине зубчатого венца;
и
– коэффициенты динамической нагрузки (учитывают внутреннюю динамику передачи).
Относительная ширина зубчатого венца находится по формуле
,
где
=4 – передаточное число редуктора.
По таблице 5.2. и 5.3, схемы 2 расположения зубчатых колёс относительно опор и варианта соотношения термических обработок “a” находим
,
Тогда
Значения
определяются по табл. 5.6 по известной окружной скорости:
,
где
= 1460 м/с – частота вращения быстроходного вала,
=270,8 – крутящий момент на валу,
=4 – передаточное число редуктора,
коэффициент
определяется по табл. 5.4 в зависимости от вида передачи.
Принимаем 8-ю степень точности изготовления передачи находим, что
и
.
Теперь находим значения коэффициентов нагрузки
Определим предварительное значение диаметра внешней делительной окружности колеса d΄e2:
,
где
– коэффициент вида конических колёс
Из стандартного ряда выбираем по ГОСТ 12289-66 ближайшее стандартное значение диаметра внешней делительной окружности
Определяем предварительное значение диаметра внешней делительной окружности шестерни d'е1:
Вычислим число зубьев шестерни Z1, учитывая, что минимальное число зубьев для передачи
:
По графику находим Z'1 = 12, учитывая таблицу
.
Принимаем Z1 = 19
Вычислим число зубьев колеса Z2:
.
Найдём окончательное значение передаточного числа:
Определяем углы делительных конусов δ:
δ2 = arctg(U) = arctg (4) = 75,964°
δ1 = 90 - arctg(U) = 90 - arctg (4) = 14,036°
Определяем внешний окружной модуль mte:
Определяем внешнее конусное расстояние Re:
Вычисляем рабочую ширину зубчатого колеса b:
.
Принимаем b = 37мм.
Определяем коэффициент смещения инструмента Xn:
По таблице 7.5. для шестерни Xn1 = 0.305, для колеса Xn2 = - 0.305.
Проверим зубья колёс на изгибную выносливость. Для колеса получим:
где YF2 = 3.63 – коэффициент учитывающий форму зубьев колеса. Определяется по табл. 6.2, при коэффициенте смещения Xn2 = - 0.305 и биэквивалентным числе зубьев
.
- коэффициент вида конических колёс. Определяется по формуле
Сравниваем полученное значение напряжения с допускаемым напряжением при расчёте на изгиб зубьев:
колеса:
.
шестерни:
,
где
и
– коэффициенты, учитывающие форму зуба, определяются по табл. 6.2 лит. 1.
Сравним полученное значение напряжения с допускаемым напряжением при расчёте на изгиб зубьев шестерни:
.
Определяем окончательное значение диаметра внешней делительной окружности:
Характеристики
Тип файла документ
Документы такого типа открываются такими программами, как Microsoft Office Word на компьютерах Windows, Apple Pages на компьютерах Mac, Open Office - бесплатная альтернатива на различных платформах, в том числе Linux. Наиболее простым и современным решением будут Google документы, так как открываются онлайн без скачивания прямо в браузере на любой платформе. Существуют российские качественные аналоги, например от Яндекса.
Будьте внимательны на мобильных устройствах, так как там используются упрощённый функционал даже в официальном приложении от Microsoft, поэтому для просмотра скачивайте PDF-версию. А если нужно редактировать файл, то используйте оригинальный файл.
Файлы такого типа обычно разбиты на страницы, а текст может быть форматированным (жирный, курсив, выбор шрифта, таблицы и т.п.), а также в него можно добавлять изображения. Формат идеально подходит для рефератов, докладов и РПЗ курсовых проектов, которые необходимо распечатать. Кстати перед печатью также сохраняйте файл в PDF, так как принтер может начудить со шрифтами.
















