123266 (689411)
Текст из файла
МОСКОВСКИЙ ГОСУДАРСТВЕННЫЙ УНИВЕРСИТЕТ
ПУТЕЙ СООБЩЕНИЯ (МИИТ)
Кафедра «Строительные конструкции, здания и сооружения»
РАСЧЁТНО-КОНСТРУКТИВНАЯ РАБОТА
по дисциплине
Металлические конструкции и сварка
Металлические конструкции рабочей площадки
Выполнил: ст.гр. СГС-311
Козырев Ю.А.
МОСКВА – 2010
-
-
Исходные данные
| Тип балочной клетки | нормальный |
| Шаг колонн в продольном направлении (пролёт главных балок) | L = 12 м |
| Шаг колонн в поперечном направлении (шаг главных балок) | l = 4 м |
| Отметка верха настила рабочей площадки | H = 8,5 м |
| Временная (технологическая) нормативная нагрузка на перекрытие | vn = 26 кН/м2 |
| Марка стали (кроме балки настила) | С345 |
| Класс бетона фундамента | В15 |
| Сопряжение главной балки с колонной | шарнирное |
| Сопряжение колонны с фундаментом | шарнирное |
ПОПЕРЕЧНЫЙ РАЗРЕЗ
Рис. 1. Поперечный разрез и план рабочей площадки:
1 – настил;
2 – балки настила;
3 – главные балки;
4 – колонны;
5 – железобетонные фундаменты
1 2 3
4
4
5
1 2 3
8.50
0.00
L = 12 000
L = 12 000
11 a = 11 000
a/2
a/2 = 500
l = 4 000
H = 8 500
ПЛАН
-
Сбор нагрузок на элементы рабочей площадки
-
Нормативное значение рабочей (технологической) нагрузки на перекрытие:
vn = 26 кН/м2 (по заданию).
-
Нормативная линейная нагрузка на балку настила:
qn = vn a = 26 1 1,05 = 27,3 кН/м = 0,273 кН/см,
где a – шаг балок настила; принимаем a = 1 м (рис. 2);
– коэффициент, учитывающий собственный вес настила и балок настила; = 1,05.
-
Расчётная линейная нагрузка на балку настила:
q = qn f n = 27,3 1,2 0,95 = 31,122 кН/м,
где f – коэффициент надёжности по нагрузке; для временной нагрузки f = 1,2;
-
n – коэффициент надёжности по назначению сооружения; для сооружений обычного уровня ответственности n = 0,95.
-
Расчётная линейная нагрузка на главную балку:
g = vn l f n = 26 4 1,05 1,2 0,95 = 124,488 кН/м,
где l – шаг главных балок; l = 6 м (по заданию);
– коэффициент, учитывающий собственный вес конструкций; = 1,05.
-
Расчётное значение опорной реакции главной балки:
V = g L / 2 =124,488 12 / 2 = 746,928 кН,
где L – пролёт главных балок; L = 12 м (по заданию).
-
Расчётная сосредоточенная нагрузка на колонну: N = 2V = 2 746,928 = 1493,856 кН.
-
L
a
a
1
2
3
L
L
l
l
l
l
l
Рис. 2. Передача нагрузок на элементы рабочей площадки:
1 – грузовая площадь балки настила;
2 – грузовая площадь главной балки;
3 – грузовая площадь колонны
-
Подбор и проверка сечения балки настила
-
Балка настила выполняется из прокатного двутавра, марка стали определяется непосредственно в процессе расчёта. =
-
В расчётной схеме балка настила рассматривается как статически определимая шарнирно опёртая пролётом l = 6 м (рис. 3).
Рис. 3. Расчётная схема балки настила
Mmax
Qmax
q
-
Максимальные значения внутренних усилий в балке настила от расчётной нагрузки:
-
Сечение балки подберём из условия жёсткости (прогибов). Предельно допустимый прогиб балки для пролёта l = 6 м (по прил. 4):
.
-
Требуемый момент инерции сечения при действии нормативной нагрузки:
.
где E – модуль упругости стали; Е = 2,06 104 кН/см2 (независимо от марки стали).
-
Принимаем по сортаменту (прил. 7) наименьший двутавровый профиль, у которого момент инерции Jx будет выше требуемого. Назначаем сечение и выписываем его основные геометрические характеристики (рис. 4).
|
|
|
|
|
|
|
|
|
|
|
|
|
|
| |
-
Марку стали назначаем из условия прочности балки по нормальным напряжениям:
,
где с – коэффициент, учитывающий возможность ограниченного развития пластических деформаций; для прокатных балок с = 1,12; Ry – расчётное сопротивление стали по пределу текучести;
с – коэффициент условий работы; во всех случаях, кроме специально оговоренных, с = 1,0.
-
Принимаем по таблице (прил. 1) наименьшую марку стали, для которой расчётное сопротивление Ry будет выше требуемого (расчётное сопротивление зависит от толщины полки t; в данном случае t = 8,7 мм).
-
Назначаем для балки настила сталь марки С245, у которой
-
расчётное сопротивление изгибу Ry = 240 МПа = 24,0 кН/см2 (при толщ. 2…20 мм);
-
расчётное сопротивление срезу Rs = 0,58Ry = 0,58 24 = 13,92 кН/см2.
-
Проверка прочности по касательным напряжениям:
;
.
-
Проверка общей устойчивости балки настила не требуется, так как сжатая полка закреплена от горизонтальных перемещений приваренными к ней листами настила.
-
Проверка местной устойчивости поясов и стенки прокатной балки не требуется, так как она обеспечена их толщинами, принятыми из условий проката.
-
Подбор и проверка сечения главной балки
-
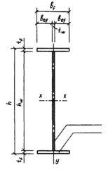
В расчётной схеме главная балка рассматривается как разрезная свободно опёртая, нагруженная равномерно распределенной нагрузкой (рис. 5, а-б). Сечение главной балки – двутавровое, сварное из трёх листов (рис. 5, в). Марка стали – по заданию.
в)
полка
стенка
g
Рис. 5. Главная балка:
а – конструктивная схема; б – расчётная схема; в – поперечное сечение
-
Максимальные значения внутренних усилий в главной балке от расчётной нагрузки:
-
Требуемый момент сопротивления сечения балки:
,
где Ry – расчётное сопротивление стали по пределу текучести; по прил. 1 принимаем Ry = 300 МПа = 30,0 кН/см2 (марка стали С345 – по заданию; предполагаемая толщина листового проката 20…40 мм).
-
Оптимальная высота балки – высота, при которой вес поясов будет равен весу стенки, а общий расход материала на балку – минимальным:
,
где k – конструктивный коэффициент; для сварной балки переменного по длине сечения k = 1,1;
tw – толщина стенки балки; предварительно принимаем tw = 1,2 см.
-
Минимальная высота балки – высота, при которой обеспечивается необходимая жесткость балки при полном использовании несущей способности материала:
,
где fu – предельно допустимый прогиб; балки для пролёта L = 12 м: fu = L/217 (по прил. 4);
f – коэффициент надёжности по нагрузке; для временной нагрузки f = 1,2.
-
Окончательно принимаем высоту балки так, чтобы она была примерно равна оптимальной (h hopt), но не менее минимальной (h > hmin). Отступление от оптимальной высоты на 20…25% слабо влияет на расход материала. Высота стенки балки hw должна соответствовать ширине листов по сортаменту (прил. 5).
-
Назначаем высоту стенки hw = 900 мм; hmin = 67,81 см < hw = 90,0 см hopt = 86,78 см.
-
Рекомендуемая толщина стенки (здесь hw принимается в мм):
-
, -
Принимаем в соответствии с сортаментом (прил. 5) tw = 10 мм.
-
Наименьшая толщина стенки tw,min из условия её работы на срез:
-
где Rs – расчётное сопротивление стали срезу; марка стали С345 (по заданию); толщина листа соответствует толщине стенки tw: для листового проката толщиной 4…10 мм Rs = 0,58Ry = 0,58 33,5 = 19,43 кН/см2.
-
Момент инерции стенки:
-
-
Толщина полок (поясов) принимается примерно в два раза больше толщины стенки:
-
tf 2tw = 210 = 20 мм.
-
В соответствии с сортаментом (прил. 5) принимаем tf = 20 мм.
-
Полная высота балки: h = hw + 2tf = 900 + 220 = 940 мм.
-
Расстояние между центрами тяжести полок: h0 = h – tf = 940 – 20 = 920 мм.
-
Уточняем расчётное сопротивление стали: для листового проката толщ. 10…20 мм Ry = 315 МПа = 31,5 кН/см2 (по прил. 1); тогда требуемый момент сопротивления сечения:
.
-
Минимально допустимая ширина полок (поясов) определяется из условия обеспечения прочности балки на изгиб:
-
В соответствии с сортаментом (прил. 5) принимаем bf = 34 см.
-
Для возможности размещения болтов ширина полки bf должна составлять не менее 18 см. Кроме того, ширина полки не должна превышать следующих значений:
bf 30 tf = 302,0 = 60 см (для обеспечения равномерности распределения напряжений по ширине полки);
(для обеспечения местной устойчивости).
-
Принятая ширина полки bf = 38 см этим требованиям соответствует.
-
Ширина рёбер жёсткости:
; принимаем bh = 70 мм (кратно 10 мм).
-
Толщина рёбер жёсткости:
;
принимаем по сортаменту th = 0,8 см.
-
В целях экономии материала ширину полки у опор можно уменьшить (рис. 6). Назначаем место изменения сечения на расстоянии x1 = L/6 от опоры: x1 = 12/6 = 2м.
-
Расчётные внутренние усилия в месте изменения сечения:
-
Требуемый момент сопротивления сечения:
-
. -
Уменьшенная ширина полки (пояса) bf определяется из пяти условий:
-
из условия обеспечения прочности балки на изгиб:
;
-
из условия обеспечения сопротивления балки кручению:
-
,
-
в целях уменьшения концентрации напряжений:
-
,
-
для обеспечения размещения болтов:
, -
из условия установки поперечных ребер жесткости, которые не должны выступать за пределы полки
-
-
В соответствии с сортаментом принимаем: bf = 20 см.
-
Если уменьшенная ширина получается меньше исходной всего на 2…3 см, то изменение ширины устраивать нецелесообразно.
-
Геометрические характеристики сечения балки (в середине пролёта)
-
Площадь стенки:
-
, -
Площадь полки:
-
, -
Момент инерции сечения балки:
-
Момент сопротивления сечения балки:
-
. -
Геометрические характеристики уменьшенного сечения
-
Площадь полки:
. -
Момент инерции сечения:
-
Момент сопротивления сечения:
-
. -
Статический момент полусечения:
.
-
Статический момент сечения полки:
-
. -
Проверка прочности по нормальным напряжениям (расчётные точки расположены на наружных гранях поясов в середине пролета):
-
Проверка прочности по касательным напряжениям (расчётная точка находится посередине высоты стенки у опоры):
Проверка прочности по приведённым напряжениям. Расчётная точка располагается: по высоте балки – в краевом участке стенки на уровне поясных швов; по длине пролёта – в месте изменения сечения балки).
Характеристики
Тип файла документ
Документы такого типа открываются такими программами, как Microsoft Office Word на компьютерах Windows, Apple Pages на компьютерах Mac, Open Office - бесплатная альтернатива на различных платформах, в том числе Linux. Наиболее простым и современным решением будут Google документы, так как открываются онлайн без скачивания прямо в браузере на любой платформе. Существуют российские качественные аналоги, например от Яндекса.
Будьте внимательны на мобильных устройствах, так как там используются упрощённый функционал даже в официальном приложении от Microsoft, поэтому для просмотра скачивайте PDF-версию. А если нужно редактировать файл, то используйте оригинальный файл.
Файлы такого типа обычно разбиты на страницы, а текст может быть форматированным (жирный, курсив, выбор шрифта, таблицы и т.п.), а также в него можно добавлять изображения. Формат идеально подходит для рефератов, докладов и РПЗ курсовых проектов, которые необходимо распечатать. Кстати перед печатью также сохраняйте файл в PDF, так как принтер может начудить со шрифтами.
,
.
,
,
,
,
,
.
.
.
.














