123216 (689399), страница 5
Текст из файла (страница 5)
3.24. При проверке расходомеров необходимо вначале открыть уравнительный вентиль, а затем закрыть плюсовой и минусовой вентили, чтобы предотвратить выбивание ртути или порыв мембраны в датчике.
3.25. Производить обход или какие либо работы в помещении ГРУ только с разрешения мастера газового участка и с участием выделенного им слесаря. Находиться и работать одному в помещении ГРУ запрещается.
3.26. В целях выявления и устранения неисправности, вызывающих утечку газа, производить не реже раза в смену, поверку на плотность приборов и оборудования производить с помощью мыльного раствора.
3.27. Ежедневно в первую смену совместно со слесарем газового участка производить проверку автоматики безопасности на срабатывание по всем параметрам. Результаты проверки заносить в вахтенный журнал.
3.28. Один раз в 15 дней согласно графика, утвержденного главным инженером завода, в присутствии начальника смены или энергетика цеха производить проверку и настройку автоматики безопасности и блокировки. Результаты проверки заносить в журнал проверяемого цеха.
3.29. При работе в загазованной среде должны применяться молотки и кувалды из цветного металла, а рабочая часть инструмента и приспособлений из черного металла должна обильно смазываться тавотом, солидолом или другой смазкой. Применение электродрели и других инструментов, делающих искрения, запрещается.
3.30. Промывку деталей керосином, бензином производить на специально оборудованном для этой цели месте с соблюдением правил пожарной безопасности.
3.31. В течение смены необходимо производить запись в вахтенном журнале о всех неполадках и выполненных работах с росписью дежурного.
4. ВЫПУСК ИЗ РЕМОНТА ИСПОЛНИТЕЛЬНЫХ УСТРОЙСТВ
4.1 Внешний осмотр перед испытаниями
Цель: установить пригодность отремонтированного исполнительного устройства к дальнейшим испытаниям для выпуска из ремонта.
Требования:
1) цвет окраски корпуса регулирующего органа и исполнительного механизма должен соответствовать применяемым для изготовления этих деталей материалами (корпуса из углеродистых сталей – серый цвет, из легированных кислотостойких и нержавеющих сталей – голубой цвет, из чугуна – чёрный цвет; мембранные исполнительные механизмы – оранжевый или чёрный цвет и т.п.);
2) окраска корпуса регулирующего органа и исполнительного механизма не должна иметь дефектов, ухудшающих внешний вид клапана;
3) у всех деталей, имеющих резьбу, последняя не должна иметь дефектных ниток, должна быть чистой, без заусениц;
4) все винты, болты, гайки, шпильки и другие детали, входящие в комплект регулирующего органа, должны иметься в наличии.
4.2 Испытание регулирующих органов на герметичность в седлах и прокладках
Испытание регулирующих органов на герметичность в седлах и прокладках производят гидравлическими прессами, заполненными керосином или маслом, имеющим вязкость не более 20 Е.
При испытании регулирующего органа на герметичность в прокладках и сальнике керосин или масло подводят через отверстие выходного фланца, а отверстие входного фланца закрывают. Испытание ведут под давлением, равным условному давлению.
При испытании регулирующего органа на герметичность затвора в седлах керосин или масло подводят через отверстие входного фланца, а отверстие выходного фланца закрывают. В этом случае испытательное давление для всех типов регулирующих органов должно составлять 2 МПа (10 кгс/см2).
При испытании нормально открытых исполнительных устройств для их закрытия в мембранную полость подаётся воздух под предельным давлением срабатывания, а нормально закрытые исполнительные устройства должны закрываться нормальным установочным натяжением пружины.
Регулирующие исполнительные устройства, предназначенные для работы в газовых средах (пар, воздух, газы), подвергают дополнительному испытанию на герметичность в сальнике и прокладках давлением воздуха, подаваемого со стороны выходного фланца, 1,3 МПа (13 кгс/см2) – для чугунных регулирующих органов, 2,2 МПа – для стальных регулирующих органов на Ру = 4,0 МПа и 3,4 МПА – для стальных регулирующих органов на Ру = 6,4 МПа.
Требования:
1) пропуск керосина или масла через уплотнительные прокладки или сальник при испытании герметичности не допускается;
2) количество керосина или масла, прошедшее в минуту через уплотнительные поверхности седел, в зависимости от условного диаметра регулирующего органа не должно превышать следующих значений:
Диаметр регулирующего
органа Dy, мм 15…25 50…80 100…125 150 200 250...300
Количество керосина
или масла, см3 10 20 30 40 50 75
3) утечка воздуха через прокладки и сальниковую набивку при испытании давлением воздуха не допускается.
4.3 Проверка качества сборки исполнительного устройства
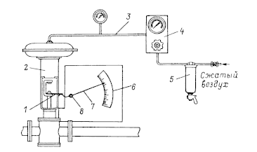
Проверку качества сборки исполнительного устройства выполняют на установке, представленной на рис. 6.
Рис.6
К штоку испытуемого исполнительного устройства 2 прикрепляют пластинку 1, которая при перемещении затвора воздействует на изогнутый конец стрелки 7, имеющей осевое крепление в точке 8. Ось 8 стрелки укрепляется на неподвижной доске, временно прикрепленной к верхней крышке корпуса исполнительного устройства. Отношение длины плеч стрелки берут примерно 15:1 в целях увеличения длины шкалы 6. Шкалу предварительно градуируют в процентах хода штока исполнительного устройства, т.е. размечают на сто равных частей.
В мембранную полость через фильтр 5 и панель дистанционного управления 4 по трубке 3 подают сжатый воздух, давление которого измеряют образцовым манометром (давление сжатого воздуха перед редуктором должно составлять 150…200 кПа). Изменяя натяжение регулировочной пружины, добиваются полного хода затвора при изменении давления воздуха в мембранной полости в рабочих пределах.
Замечают перемещение плунжера в процентах его полного хода при изменении давления через каждые 10 кПа в пределах рабочего давления в мембранной полости при прямом и обратном ходе затвора. Полученные данные заносят в таблицу и строят график.
Требования:
1) мембранные исполнительные механизмы в сборке с регулирующим органом должны иметь прямолинейную характеристику, т.е. изменение положения штока с затвором должно быть пропорционально изменению давления сжатого воздуха в мембранной полости;
2) отклонения от линейной характеристики не должны превышать 2% полного хода затвора.
4.4 Определение нечувствительности подвижной части исполнительного устройства
Задачей испытания является определение нечувствительности исполнительного устройства в сборке, с построением графика.
Для составления графика фиксируют измеряемый посредством стрелочного индикатора ход затвора через каждый 1 мм и соответствующее каждому зафиксированному положению затвора давление воздуха в мембранной полости.
Это испытание проводят для всего диапазона перемещений затвора при его прямом и обратном ходе.
Данные испытаний заносят в таблицу.
Нечувствительность исполнительного устройства определяют, вычисляя половинное значение разности давлений в мембранной полости для любого положения затвора при прямом и обратном ходе.
Требование: для правильного собранного исполнительного устройства нечувствительность не должна превышать 2 кПа (0,02 кгс/см2).
ЛИТЕРАТУРА
1. Барласов Б.З., Ильин В.И. Наладка приборов и систем автоматизации. – М: Высш. шк., 1985. – 304 с.
2. Барласов Б.З., Демкович В.А. Предмонтажная проверка средств автоматизации. – Л.: Стройиздат. Ленингр. Отд-ние. – 1979. – 264 с.
3. Ивашин Г.В., Никитенко К.Ф. Монтаж, наладка и эксплуатация автоматических устройств в пищевой промышленности. – М: Пищ. пром., 1977. – 176 с.
4. Клюев А.С., Минаев П.А. Наладка систем контроля и автоматического управления. – Л.: Стройиздат, Ленингр. Отд-ние. – 1980. – 208 с.
5. Миранцев Г.Я. Ремонт автоматических приборов и регуляторов. – М.: Энергия, 1980. – 224.
6. Смирнов А.А. Справочное пособие по ремонту приборов и регуляторов. – М.: Энергоатомиздат, 1989. – 832 с.















