123216 (689399), страница 2
Текст из файла (страница 2)
Например, для точки 25 %
РР = 0,08 ∙ 0,25 + 0,02 = 0,04 МПа.
Тогда основная погрешность, %,
γ = (РР – РД) 100/0,08,
где Рр и РД расчётное и действительное значения давления, МПа.
Значение основной погрешности также определяют на значениях хода штока соответствующих 40; 75 и 100 % условного хода последовательно при повышении и снижении давления.
Вариацию определяют как отношение наибольшей разности между действительными значениями прямого и обратного хода штока при одном и том же значении командного сигнала к условному ходу, %,
В = (S'Д - S"Д) 100/SУ,
где S'Д, S"Д и SУ – соответственно действительно прямое, действительно обратное и условное значения хода штока, мм, или
В = (Р'Д - Р"Д) 100/0,08,
где Р'Д, Р"Д – прямое и обратное действительные значения давления, МПа. Значение основной погрешности и вариации не должно превышать допускаемой основной погрешности, равной 1,5; 2,5 и 4 % соответственно для клапанов классов точности 1,5; 2,5 и 4,0.
Если погрешность и вариации выше допускаемых значений, проверяют по возможности ослабляют затяжку сальника, проверяют и устраняют механические повреждения штока (искривления, заусеницы, царапины).
Порог чувствительности определяют при 20,50 и 80 % значения командного сигнала (полного диапазона) как при его увеличении, так и при уменьшении. Для определения порога чувствительности плавно увеличивают (или уменьшают) Рк до момента трогания штока и проводят отсчёт по манометру.
Отношение разности между расчётным значением командного сигнала и Рк в момент трогания штока и диапазона изменения командного сигнала, выраженное в процентах, определяет порог чувствительности. Он должен быть не более 0,4; 0,6 и 1 % соответственно для механизмов класса точности 1,5; 2,5 и 4.
После проверки ИМ необходимо настроить длину штока регулирующего органа. Для этого на вход подают воздух под давлением 0,02 МПа для клапанов типа «НЗ» (нормально закрытый) и 0,1 для клапанов «НО» (нормально открытый). Затвор при этих давлениях должен плотно войти в седло, что можно определить по толчку, ощущаемому рукой, приложенной к штоку. Момент закрытия регулируют муфтой, сочленяющей штоки ИМ и регулирующего органа.
При необходимости переделки одного типа МИМ на другой, например
«НЗ» на «НО», снимают верхнюю крышку МИМа и нижнюю крышку клапана, вывинчивают шток из золотника и завинчивают в противоположный конец его, меняя местами верхние и нижние седла. Пропускают шток через отверстие снизу и собирают клапан. Шкальную пластинку устанавливают так, чтобы вверху её была надпись «Закрыто».
Настраивают длину штока.
1.3 Позиционеры
Принцип работы позиционера основан на преобразовании импульса, поступающего от регулирующего прибора, в давлении воздуха, необходимое для обеспечения заданного хода дроссельного органа. Применяются позиционеры для повышения мощности и быстродействия ИМ.
Все позиционеры, кроме П4- 10- IV, имеют встроенный редуктор. При выпуске позиционеры комплектуются фильтрами воздуха, а позиционер
П4 – 10- IV – стабилизатором давления воздуха. Рычажные позиционеры в зависимости от способов крепления (Г – образным кронштейном или планкой) обозначаются индексом А и Б соответственно. В зависимости от направления движения выходного звена позиционеры выпускаются в двух исполнениях: для установки на МИМах прямого действия (обозначаются индексом П) и обратного действия (индекс ПО).
Позиционеры выпускаются настроенными на ход штока 25 мм (позиционер П4 – 10 – IV - 10 мм. Изменение хода, кратное 25 мм, обеспечивается за счёт отверстий на рычаге обратной связи. Позиционеры прямого действия с условным ходом от 10 до 100 мм на рычаге после оси подвески имеют четыре отверстия, с условным ходом от 10 до 75 мм и обратного действия с условным ходом от 25 до 100 мм – три отверстия.
Если позиционер устанавливается на МИМ с ходом штока, не кратным 25 мм (а позиционер П4 – 10 – IV на МИМ с ходом штока менее 10 мм), перед монтажом необходимо произвести переналадку, т.е. настройку его хода в соответствие с ходом штока МИМа, которая осуществляется изменением числа рабочих витков пружины обратной связи. Ориентировочно устанавливается число рабочих витков регулировочной гайкой исходя из следующих данных:
Ход штока позиционера, мм Число рабочих витков пружины
4………………………………………………………….1,5
6………………………………………………………….2,2
10………………………………………………………...3,6
16………………………………………………………...5,8
25…………………………………………………………9,0
40…………………………………………………………7,2
60…………………………………………………………7,2
100…………………………………………………………9,0
Наладку (перестройку) позиционера надо проводить в следующей последовательности:
уточнить условный ход МИМа, на который будет установлен позиционер;
исходя из условного хода определить оптимальную величину настройки хода штока, при этом должны выполняться условия:
Lп = Lм/k ≤ 25 мм – для позиционеров прямого действия;
Lп = Lм/(k + 1) ≤ 25 мм – для позиционеров обратного действия,
где Lп – величина настройки хода штока позиционера, мм;
Lм – условный ход МИМа, мм;
k – передаточное число обратной связи от позиционера к МИМу, равное порядковому номеру отверстия на рычаге (считая от оси подвески).
Например, позиционер П10 – 100-Б-IV требуется перестроить на МИМ с условным ходом 60 мм. Величина хода штока Lп = 60/30 = 20 мм.
Затем следует расконтрить пружину и гайку, с помощью винтов переместить вверх до получения необходимого количества рабочих витков; вывернуть шток до соприкосновения ограничительной гайки с направляющей втулкой кронштейна (в штуцерах - до соприкосновения с грибком МИМа), законтрить пружину и гайку.
2. РЕМОНТ ИСПОЛНИТЕЛЬНЫХ УСТРОЙСТВ
2.1 Неполадки пневматических исполнительных устройств с пружинным мембранным исполнительным механизмом
| Возможные причины | Способы устранения неполадок |
| 1. При подаче сжатого воздуха в мембранную полость исполнительного механизма шток не перемещается | |
| Повреждение мембраны вследствие прерывания давления сжатого воздуха предельного значения или же вследствие попадания на мембрану (вместе с воздухом или иным путём) масла, бензина или других нефтепродуктов, разрушающе действующих на материал мембраны. | Разобрать мембранный исполнительный механизм и заменить дефектную мембрану исправной. При этом толщину и число матерчатых прослоек резины следует подобрать одинаковыми с той, которая удаляется. |
| 2. При плавном изменении давления сжатого воздуха в мембранной полости исполнительного механизма шток и затвор односедельного или двухседельного регулирующего органа перемещается рывками | |
| Торможение штока в сальниковом устройстве регулирующего органа вследствие отсутствия смазки или недопустимо большой затяжки сальника | Подать смазку в сальниковое устройство с помощью лубрикатора, а если это не приведёт к нужным результатам, то осторожно ослабить затяжку сальниковой гайки, наблюдая за тем, чтобы через сальник наружу не стало проникать протекающее вещество. |
| 3. Через сальниковое устройство проникает протекающее вещество (жидкость, пар, газ) | |
| Недостаточно смазки, слаба затяжка сальника, плохое качество сальниковой набивки | Добавить смазку, подтянуть сальниковую гайку, сменить сальниковую гайку, сменить сальниковую набивку |
| 4. При изменении давления сжатого воздуха в мембранной полости исполнительного механизма от минимального до максимального значения шток и затвор односедельного или двухседельного регулирующего органа не перемещаются полностью из одного крайнего положения в другое | |
| Пружина мембранного исполнительного механизма при настройке была сжата больше, чем следует, и поэтому для преодоления усилий, развиваемых ею, требуется увеличенное давление воздуха по сравнению с необходимым при стандартном натяжении пружины | Постепенно ослабить натяжение пружины до величины, обеспечивающей перемещение штока и затвора из одного крайнего положения в другое при изменении давления воздуха в мембранной полости исполнительного механизма от минимального до максимального нормированных значений |
| Пружина мембранного исполнительного механизма недостаточно сжата при настройке и не может преодолеть сил трения, возникающих в подвижной части исполнительного устройства, а также массы этой части и сил от давления протекающего вещества на затвор (поэтому затвор полностью не поднимается) | Постепенно увеличить натяжение пружины до величины, обеспечивающей перемещение затвора из одного крайнего положения в другое при изменении давления воздуха в мембранной полости от минимального до максимального нормированных значений |
| Затвор при своём ходе упирается в посторонний предмет, попавший в мембранное исполнительное устройство (кокс, песок, металлическая прокладка, гайка и т.п.) | Отключить линию сжатого воздуха от мембранной полости исполнительного устройства, переключив поток на обводную линию, и принять меры к очистке корпуса мембранного исполнительного устройства от посторонних предметов. Убедиться, что поверхности затвора и седел не повреждены |
| 5. При регулировании расхода протекающего вещества затвор мембранного исполнительного устройства чаще всего занимает положение, близкое к одному из крайних | |
| Если при нормальной работе регулятора затвор почти закрывает отверстие седла или, наоборот, открывает его почти полностью и при этом давление в мембранной полости близко к предельному, то это указывает на то, что условный диаметр мембранного исполнительного устройства либо велик, либо мал для данного трубопровода и расхода в нём | В соответствии с действительным расходом протекающего по трубопроводу вещества выбрать соответствующий условный проход мембранного исполнительного устройства и при наличии мембранного исполнительного устройства с таким условным проходом установить его. Если подходящего исполнительного устройства в наличии нет и имеется возможность выточить новый затвор, то рассчитать профиль нового затвора и заменить в мембранном исполнительном устройстве старый затвор на новый |
2.2 Ремонт мембранных исполнительных устройств
2.2.1 Разборка мембранных исполнительных устройств
Разборку нормально открытого исполнительного устройства производят для выявления состояния отдельных деталей, чистки и ремонта следующим образом.
1. Все видимые поверхности исполнительного устройства (корпус, мембранный исполнительный механизм и т.д.) обдувают из шланга сжатым воздухом и тщательно очищают от грязи.
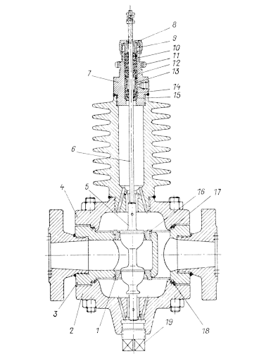
2. Вращая контргайку 5 (рис.2), освобождают специальную гайку 2, после чего вращением этой гайки отсоединяют шток плунжера от промежуточного штока. Если исполнительное устройство имеет пневматический позиционер, то освобождают его рычаг для возможности отделения мембранного исполнительного механизма от корпуса регулирующего органа.
3. Отворачивают специальную гайку 11 (рис.2) и отделяют мембранный исполнительный механизм от корпуса регулирующего органа. При этом крупные механизмы поднимают талями или лебёдками.
4. Освобождают шток затвора от гаек. Проверяют вручную лёгкость перемещения затвора до крайних положений.
5. Осторожно отвёртывают гайки шпилек или болтов на верхней крышке 4 (рис.3), чтобы не перегрузить отдельные крепёжные детали и не снизить их надёжность. Эту работу производят в два приёма: сначала по способу диаметрально противоположного обхода поворачивают все гайки на 1/8 полного их оборота, а затем в любом порядке отворачивают все гайки.
Рис. 2 Мембранный исполнительный механизм
Снизив давление масла в сальниковом устройстве, удаляют лубрикатор (масленку). Помечают положение крышки на корпусе для установки её в дальнейшем на прежнее место. Осторожно, чтобы не повредить шток и затвор, отделяют верхнюю крышку 4 от корпуса 3. Если крышка тяжёлая, то подъём её осуществляют талями или лебёдками. При подъёме следят за строго вертикальными перемещениями крышки.
6. Удаляют затвор 5 со штоком 6 и тщательно очищают их поверхность от грязи и остатков сальниковой набивки. При этом запрещается пользоваться острым металлическим инструментом (зубилом, ножом, шилом и т.п.) во избежание повреждения очищаемых поверхностей.
Рис.3 Двухсекционный регулирующий орган нормально открытого исполнительного устройства
7. Отворачивают накидную гайку 8 и удаляют грундбуксу 9,кольца 15 и 12, втулку 13 и остатки сальниковой набивки 14 и 10. Сальниковую камеру, грундбуксу, кольца и втулку тщательно очищают от следов набивки, не применяя при этом острых металлических инструментов.
8. Отмечают положение нижней крышки 2 относительно корпуса. Отворачивают гайки на шпильках или болтах и отделяют нижнюю крышку 2 от корпуса 3 клапана. Отворачивают пробку 19.
9. Производят промывку и чистку корпуса и крышек. Закончив чистку нижней крышки, заворачивают пробку 19.















