123086 (689355)
Текст из файла
Министерство образования Республики Беларусь
Могилевский государственный технический университет
Кафедра “СДПТМиО”
Курсовой проект
по дисциплине: Строительно-дорожные машины
Дробилка молотковая
ДР-25.00.00.00
выполнил: ст. группы ПДМ -
_______________Холодцов В.И.
проверил:
_______________Белоусов Л.И.
2002
Содержание
Введение
1. Патентно-технический анализ
1.1 Анализ научно-технической информации
1.2 Патентный анализ
1.3 Обоснование принятых решений
2. Расчет основных параметров
2.1 Определение производительности
2.2 Определение мощности на привод дробилки
3. Расчеты на прочность
3.1 Расчет подшипников
3.2 Расчет сварных соединений
3.3 Расчет шпоночного соединения
4. Проведение расчетов на ЭВМ
5. Охрана труда и окружающей среды
5.1 Анализ и идентификация опасностей при работе дробилки
5.2 Технологические и организационные решений по устранению выявленных опасностей
5.3 Рекомендации по безопасной эксплуатации дробилки
Заключение
Список использованных источников
Приложение
Введение
Для производства строительных материалов машиностроительные заводы выпускают самые разнообразные машины и оборудование, причем на ряду с созданием новых происходит непрерывное изменение и совершенствование существующих машин и общее увеличение объема их выпуска.
Большое внимание при создании новых машин и технологических линий отводится вопросам улучшения условий труда обслуживающего персонала, а именно механизации и автоматизации опасных и трудоемких процессов.
Колоссальные издержки, связанные с процессами измельчения, на современном уровне развития производства, вызывают острую необходимость разработки принципиально новых способов измельчения материалов, а также создания на их основе новых технологий и оборудования.
Дробильно-размольная техника прошла свой исторический путь развития, базируясь на достижениях современных ей наук. Это отражено в таких принципах измельчения, как шаровой, вибрационный, самоизмельчение, ударный, ударно-центробежный, струйный и другие.
Практически все существующие способы дезинтеграции осуществляются механическим путем. При этом энергетические потери огромны и избежать их можно только путем точечного или линейного силового воздействия.
Все перечисленные выше способы измельчения малоэффективны по многим показателям на современном уровне развития техники. Поэтому с целью увеличения производительности, снижения металлоемкости и материалоемкости, уменьшения капитальных затрат необходимо искать новые пути совершенствования оборудования для измельчения материалов.
1. Патентно-технический анализ
1.1 Анализ научно-технической информации
Молотковые дробилки применяются в основном для переработки каменных строительно-дорожных материалов. Но они нашли применение и в других отраслях народного хозяйства. Благодаря своим технико-экономическим параметрам они получают все большее распространение. Простота конструкции и легкость в эксплуатации, удобство профилактических и ремонтных работ выгодно отличают роторные дробилки от всех остальных.
Есть несколько принципов измельчения в роторных дробилках. В некоторых дробилках материал поступает в камеру дробления с помощью внешних питателей и разгоняется до большой скорости. Затем происходит удар материала об отбойник или специальную дробящую плиту. За счет этого происходит разрушение материала. В других дробилках разрушение происходит за счет удара о материал рабочего органа (била). Било разгоняется до скорости 30-50 м/с. При такой скорости происходит передача энергии в частицу материала, которая под этим воздействием разрушается.
1.2 Патентный анализ
Проведя анализ существующего дробильного оборудования можно сделать вывод, что самым распространенным его недостатком является высокая металлоемкость, низкая долговечность и износостойкость, а также невысокая производительность. Решать эти проблемы пробовали авторы некоторых патентов и авторских свидетельств. Рассмотрим авторское свидетельство / 1 /
Роторная дробилка используется в устройствах для дробления твердых полезных ископаемых и материалов в горнорудной, строительной, химической и других отраслях промышленности.
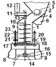
Дробилка включает цилиндрический корпус 1, установленный вертикально, загрузочную течку 2 с перфорированным коллектором 3 и колосниковой решеткой 4, бункер 5 для загрузки исходного продукта, разгрузочные течки. Соосно в корпусе 1 установлен лопастной ротор из отдельных лопастей 9 в виде плоских металлических пластин постоянной толщины и ширины, жестко закрепленных на втулке к цилиндрической ее поверхности и под углом 50...60° к плоскости вращения. За лопастным ротором с зазором 17с возможностью возвратно-поступательного движения установлена колосниковая решетка 18.
Рисунок 1.1-Роторная дробилка
Цель изобретения - повышение производительности.
Указанная цель достигается тем, что в роторной дробилке, содержащей цилиндрический корпус, в котором соосно на вертикальном валу расположен лопастной ротор, бункер, загрузочная и разгрузочная течки, и привод, загрузочная течка снабжена колосниками и соединенными с источником жидкости под давлением перфорированным коллектором, при этом лопасти закреплены по винтовой линии под углом 50-60° к плоскости их вращения, а под ротором с возможностью возвратно-поступательного движения смонтирована колосниковая решетка.
Роторная дробилка включает цилиндрический корпус 1, установленный вертикально, загрузочную течку 2 с перфорированным коллектором 3 (с отверстиями о его поверхности), соединенным с источником жидкости под давлением и колосниковой решеткой 4, бункер 5 для загрузки исходного продукта, разгрузочные течки б шлама и мелких фракций, дробленого продукта 7, недробимого продукта (предмета) 8,
Соосно в корпусе 1 установлен лопастной ротор из отдельных лопастей 9 в виде металлических пластин постоянной толщины и ширины, жестко прикрепленных (например, сваркой) на втулке к цилиндрической ее поверхности и под углом а - 50...60° к плоскости вращения. Втулка крепится на валу 10 ротора шпонкой. Количество лопастей целесообразно применять от трех до шести в зависимости от диаметра корпуса и крупности исходного продукта. Вал 10 ротора посредством муфты или редуктора 11 соединен с приводом 12 и вращается в упорных подшипниках 13 и 14, расположенных соответственно в верхней и нижней частях устройства. Причем нижний упорный подшипник 14 установлен в подпятнике на раме 15 и прикрыт крышкой 16, жестко закрепленной на валу 10.
За лопастным ротором с зазором 17 установлена колосниковая решетка 18. Она снабжена направляющими 19, которые пропущены через кронштейны 20 и не допускают ее вращательного движения, позволяют фиксировать и перемещать решетку 18 в осевом направлении посредством механизма регулирования : пружины 21, шайбы 22 и гайки 23, регулируя тем величину кольцевого зазора 17. Эта величина устанавливается такой, при которой получают дробленый продукт заданной крупности, т.е. соблюдается условие прохождения материала через отверстия решетки 18 без переизмельчения.
Лопасти 9, колосники 4 загрузочной течки 2 и колосники решетки 18 изготавливаются из более твердой стали, например, легированной стали марки 60С2 или 45х с закалкой до твердости 350-400Нв.
На торцовой колосниковой решетке 18, так же как и на колосниковой решетке 4 загрузочной течки 2, контролируется и отделяется соответственно дробленый продукт и мелкая фракция, не требующие дробления. Их разгрузка после прохождения через решетки 18 и 4 осуществляется соответственно посредством разгрузочных течек 7 и 6. Дробление кускового материала происходит до определенной крупности, заданной зазором 17 между лопастями ротора и торцовой решетки 18, а также размером ее межколосникового отверстия.
При попадании в материал недробимого продукта (предмета) на решетку 18 сказывается превышающее силовое давление и под его воздействием она отходит вниз, сжимая пружину 21. Между решеткой 18 и корпусом 1 образуется кольцевая щель, в которую производится выброс порции материала вместе с недробимым продуктом (предметом) в загрузочную течку 8. Выброс порции материала и недробимого продукта обусловлен центробежными силами, взаимодействующими на эту порцию лопастным ротором. После выброса недробимого продукта (предмета) пружины 21 разжимается и по направляющим 19 решетка 18 принимает первоначальное положение, образуя с лопастью ротора заданный зазор 17.
В течке 7 часть дробленого продукта отводится вращающейся совместно с в алом 10 крышкой 16 от упорного подшипника 14, предохраняя его от забивания материалом.
Отмывка шлама и предварительный вывод из процесса дробления мелких фракций материала, минимальное его переизмельчение и вывод недробимого продукта (предмета) обеспечивает повышение качества дробленого продукта.
Патент /2/ описывает центробежную дробилку.
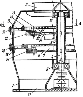
Использование: теплоэнергетика, при дроблении хрупких материалов. Центробежная дробилка включает корпус 1 и вертикальный вал 4 с диском 6, снабженным разгонными лопатками 7 и неподвижными дробящими элементами 9. На валу над диском установлен по крайней мере один дополнительный диск 10, выполненный аналогично основному. В дополнительных дисках выполнены отверстия 19, ограниченные в радиальном направлении обечайками 15, выступающими над поверхностью дополнительных дисков и размещенными с радиальным зазором от соответствующих неподвижных дробящих элементов. Со стороны противоположной направлению вращения ротора, выполнены дополнительные лопатки.
Рисунок 1.2- Центробежная дробилка
Изобретение относится к технике дробления хрупких материалов, например, угля, сланца и т.д. Цель изобретения - повышение производительности.
Цель достигается тем, что в центробежной дробилке, содержащей корпус, вертикальный вал на котором установлен диск с разгонными лопатками и размещенными над ними неподвижными дробящими элементами, концентрично закрепленными на корпусе и крышку с загрузочным патрубком, она снабжена, по крайней мере, одним дополнительным диском, который выполнен с выступающими над поверхностью и размещенными с радиальным зазором от соответствующих неподвижных дробящих элементов обечайками, а со стороны, противоположной направлению вращения ротора - полостями, между которыми выполнены отверстия. Для обеспечения надежности распределения материала по дискам обечайки выполнены в виде конусных участков, ось которых совпадает с осью ротора, а образующая наклонена к ней под углом 25-60°.
Внутри цилиндрического корпуса 1, на котором установлена крышка 2 с патрубком 3 подачи исходного материала, размещен вертикальный вал 4, закрепленный в подшипниках 5 и имеющий привод вращения (показан схематично). На валу 4 установлен диск 6, снабженный разгонными лопатками 7, периферийные части 8 которых размещены под неподвижными дробящими элементами-9, концентрично закрепленными на корпусе 1. Над диском 6 на валу 4 размещен дополнительный диск 10, снабженный разгонными лопатками 11, периферийные части 12 которых размещены под дополнительными неподвижными дробящими элементами 13,концентричнозакрепленными на корпусе 1.
В дополнительном диске 10 выполнены отверстия 14, ограниченные в радиальном направлении обечайками 15, выступающими над верхней поверхностью дополнительного диска 10 и размещенными с радиальным зазором от дополнительных дробящих элементов 13 (т.е. ближе к оси ротора). Со стороны, противоположной направлению вращения ротора, отверстия 14 ограничены дополнительными лопатками 16. В нижней части корпуса 1 расположена разгрузочная полость 17, имеющая в горизонтальном сечении вид двух сегментов. Неподвижные дробящие элементы 9 и 13 установлены на корпусе 1 с помощью колец 18, имеющих отверстия 19. Выступающие над поверхностью дополнительного диска 10 части обечаек 15, разгонные лопатки 11, 7 и дополнительные лопатки 16 выполнены близкими по высоте (соизмеримой с крупностью куска в исходном материале). Отверстия 14 ограничены двумя радиусами и дугами с центром на оси вала 4, т.е. в виде секторных частей круга с центральным углом.
ЦЕНТРОБЕЖНО-УДАРНАЯ ДРОБИЛКА /3/. Изобретение относится к дроблению твердых материалов и обеспечивает повышение надежности дробилки. Дробилка содержит корпус 1 с отражательными поверхностями 2, вертикальный приводной вал 7 с ротором 10, имеющим разгонные каналы 14 и установленные на осях 16 ролики-ускорители 17. В верхней части корпуса 1 установлена цилиндрическая обечайка 6, а на осях 16 закреплены ролики-сателлиты 18, контактирующие с внутренней поверхностью цилиндрической обечайки 6. Дробилка имеет загрузочный бункер 3, питающую трубу 4 и разгрузочное отверстие 5. Ротор 10 выполнен из верхнего 11 и нижнего 12 дисков и имеет загрузочное отверстие 13.
Характеристики
Тип файла документ
Документы такого типа открываются такими программами, как Microsoft Office Word на компьютерах Windows, Apple Pages на компьютерах Mac, Open Office - бесплатная альтернатива на различных платформах, в том числе Linux. Наиболее простым и современным решением будут Google документы, так как открываются онлайн без скачивания прямо в браузере на любой платформе. Существуют российские качественные аналоги, например от Яндекса.
Будьте внимательны на мобильных устройствах, так как там используются упрощённый функционал даже в официальном приложении от Microsoft, поэтому для просмотра скачивайте PDF-версию. А если нужно редактировать файл, то используйте оригинальный файл.
Файлы такого типа обычно разбиты на страницы, а текст может быть форматированным (жирный, курсив, выбор шрифта, таблицы и т.п.), а также в него можно добавлять изображения. Формат идеально подходит для рефератов, докладов и РПЗ курсовых проектов, которые необходимо распечатать. Кстати перед печатью также сохраняйте файл в PDF, так как принтер может начудить со шрифтами.















