123027 (689340), страница 7
Текст из файла (страница 7)
Э6 = 0,29*1533333,33 = 444666,67 руб.
Определив эксплуатационные расходы по рассмотренным статьям, устанавливают общие расходы и рассчитывают себестоимость переработки 1 т груза.
Э = 15333333,33 + 120000 + 6712,5 + 1182900,9 + 0 +444666,67 = 3287613,4 руб.15
Себестоимость переработки груза тогда равна:
руб./т.
4.6 Капиталовложения, приведенные затраты, срок окупаемости
Общие капиталовложения определяются на основе выше проведенных расчетов:
руб.
Приведенные затраты:
руб.
где Е - нормативный коэффициент эффективности капиталовложений.
Е = 0,15.
Удельные капиталовложения:
руб./т.
Удельные приведенные затраты:
руб./т.
Срок окупаемости капиталовложений:
лет.
Проект принесет прибыль только после восьми с половиной лет его реализации.16
5. Экономический анализ полученных результатов
В ходе проведенной работы были рассчитаны экономические показатели, согласно которым можно подвести некоторый подитог курсовой работе.
В работе рассматривался склад, содержащий в себе трубы.
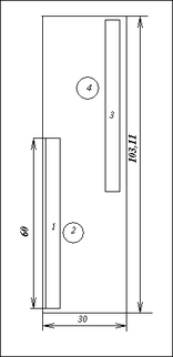
Площадь склада оказалась равной 3093,3 м2. При этом длина составила 103,11 м, ширина 30 м, высота – 5 м.
Это довольно таки большой склад, несмотря на небольшую габаритность груза, большую площадь занимают погрузочно-разгрузочные механизмы и автомобили. Поэтому общая площадь велика.
В работе были рассчитаны также показатели использования складских площадей. Самым примечательным из этих показателей является Кпл, характеризующий коэффициент использования складской площади. Он оказался чрезвычайно мал. Возможно, это связано с длиной и шириной грузов.
Остальные показатели находятся в пределах норм и не удостаивают внимания.
Большую роль играют экономические показатели.
Первый экономический показатель был производительность труда и по расчетам можно сказать, что производительность труда высокая.
Вторым важным показателем можно считать себестоимость переработки груза – она велика, а в сочетании с капиталовложениями может возникнуть ситуация, которая приведет фирму к плачевному состоянию и очень долгому процессу окупаемости.
И, наконец, самый интересный показатель – срок окупаемости, который является в данном случае решением по организации склада или его ликвидации. Срок окупаемости равен 8,5 годам, и если начальник склада согласится ждать столько времени, то помещение будет действовать.
Заключение
Современный уровень экономики, характеризующийся развитием процессов глобализации, специализации и информатизации предусматривает всемерное совершенствование обслуживающих процессов, в первую очередь это относится к транспортированию грузов.
В транспортной стратегии Российской Федерации до 2015 г. одним из важнейших положений является снижение доли транспортной составляющей в стоимости товаров до 10... 15%. Для достижения этой цели необходимо снизить потери грузов в процессе их перевозки, хранения и перегрузки; совершенствовать транспортные технологии; развивать современные процессы управления и мониторинга; модернизировать транспортную технику. Основные подходы решения этих задач базируются на положениях:
-
совершенствование подготовки товара к перевозке, правильный подбор тары, формирование грузовых мест и грузовых партий;
-
выбор технологий доставки, включая тип транспортного средства, перевозку и выполнение погрузочно-разгрузочных работ, с максимальным учетом транспортных характеристик груза;
-
строгое соблюдение правил безопасности, условий перевозки и выполнения перегрузочных работ в соответствии с особенностями груза;
-
использование современных средств маркировки груза, способствующих автоматизации процессов мониторинга и управления доставкой грузов.
Перспективные транспортные технологии должны учитывать логистические принципы организации доставки товаров. За счет объединения в единые цепочки доставки грузовладельцев, перевозчиков и складских операторов появляется возможность на стадии планирования перевозки увязать характеристики грузов и транспортных систем. В результате транспортные системы будут максимально приспособлены для доставки соответствующих грузов, и подготовка товаров к перевозке может быть оптимизирована под требования транспортных систем еще на стадии проектирования и производства.
Список литературы
-
ГОСТ 17070-87 "Угли. Термины и определения"
-
Волгин В.В. Склад. - М.: Дашков и К, 2000.
-
Ворончихин Г.И., Оглоблин Л.А. Подъемно-транспортные машины и установки. М.: Транспорт 1987
-
Гаджинский А.М. Логистика: учебник для высших и средний специальных учебных заведений. – 6-е изд., перераб. и доп. – М.: Издательско-торговая корпорация «Дашков и К˚», 2003.
-
Дородтков В.К, Малашенко Н.П. Складское хозяйство. - Н.:НГАЭиУ, 2001
-
Жуков Е. И., Письменный М. Н. Технология морских перевозок: Учеб. для вузов мор. трансп. — 3-е изд., перераб. и доп. — М.: Транспорт, 1991.
-
Зерцалов А.И. Краны-штабелеры .М.: Машиностроение 1985
-
Кравченко Е.А., Нудьга В.Н. Грузоведение. — Краснодар: Краснодарский ЦНТИ, 2003.
-
Курганов В. М. Логистика. Транспорт и склад в цепи поставок товаров: Учебно-практическое пособие. — М.: Книжный мир, 2004.
-
Неруш Ю.М.,Лозовой Ю.Д., Шабанов В.Н. Грузовые перевозки и тарифы . М.: Транспорт, 1988
-
Олещенко Е.М., Горев А.Э. Основы грузоведения: Учебное пособие. – М.: Академия, 2005.
-
Савин В. А. Склады: Справ. пособие. — М.: Дело и Сервис, 2001.
-
Справочник газовика .М.:Транспорт 1998
-
http://www.msuie.ru/l4.php
Приложение
Схема планировки склада с трубами
1 – штабеля труб,
2 – стрелочный кран,
3 – штабеля труб,
4 – стрелочный кран.
1 Ворончихин Г.И., Оглоблин Л.А. Подъемно-транспортные машины и установки. М.: Транспорт 1987, с. 93
2 Волгин В.В. Склад. - М.: Дашков и К, 2000, с. 58
3 Олещенко Е.М., Горев А.Э. Основы грузоведения: Учебное пособие. – М.: Академия, 2005.
4 Жуков Е. И., Письменный М. Н. Технология морских перевозок: Учеб. для вузов мор. трансп. — 3-е изд., перераб. и доп. — М.: Транспорт, 1991.
5 Кравченко Е.А., Нудьга В.Н. Грузоведение. — Краснодар: Краснодарский ЦНТИ, 2003.
6 Гаджинский А.М. Логистика: учебник для высших и средний специальных учебных заведений. – 6-е изд., перераб. и доп. – М.: Издательско-торговая корпорация «Дашков и К˚», 2003, с. 218
7 Дородтков В.К, Малашенко Н.П. Складское хозяйство. - Н.:НГАЭиУ, 2001, с. 310
8 Курганов В. М. Логистика. Транспорт и склад в цепи поставок товаров: Учебно-практическое пособие. — М.: Книжный мир, 2004.
9 Савин В. А. Склады: Справ. пособие. — М.: Дело и Сервис, 2001.
10 Савин В. А. Склады: Справ. пособие. — М.: Дело и Сервис, 2001.
11 Волгин В.В. Склад. - М.: Дашков и К, 2000.
12 Ворончихин Г.И., Оглоблин Л.А. Подъемно-транспортные машины и установки. М.: Транспорт 1987
13 Неруш Ю.М.,Лозовой Ю.Д., Шабанов В.Н. Грузовые перевозки и тарифы . М.: Транспорт, 1988
14 Гаджинский А.М. Логистика: учебник для высших и средний специальных учебных заведений. – 6-е изд., перераб. и доп. – М.: Издательско-торговая корпорация «Дашков и К˚», 2003.
15 Дородтков В.К, Малашенко Н.П. Складское хозяйство. - Н.:НГАЭиУ, 2001
16 Волгин В.В. Склад. - М.: Дашков и К, 2000.















