14115 (686032)
Текст из файла
ВГСХА
Кафедра ТЭО
Курсовая работа
Тема: «Проект кормоцеха для свиноводческого комплекса с разработкой линий сочных кормов»
Киров 2009
1. Обоснование темы
Корма для животных и птицы должны быть питательными, вкусными, чистыми, легкопереваримыми и хорошо усваиваемыми. Механизация приготовления кормов облегчает труд животноводов и повышает его производительность, позволяет получать корма высокого качества, обеспечивающие высокую продуктивность животных и качество получаемой продукции при снижении ее себестоимости.
Наиболее эффективное использование кормов достигается при скармливании их в виде полнорационных кормовых смесей, сбалансированных по элементам питания, витаминам, микроэлементам, антибиотикам, биостимуляторам, поскольку полного, такого набора нет ни в одном отдельном виде корма. Получаемые в кормоцехах смеси должны строго соответствовать заданной научно обоснованной рецептуре рациона для обслуживаемой группы животных, иметь заданную влажность (65...80%) и температуру (летом — 293 К, зимой — 313 К), высокую степень однородности; частицы кормовых компонентов должны сохранять свои размеры. Кормовая смесь не должна иметь в своем составе посторонних, вредных для здоровья животных примесей и образований, бактериального обсеменения и неприятных запахов. Необходимо, чтобы корма в кормоцех поступали высокого качества, строго соблюдались технология и сроки их приготовления.
Кормоцех — это кормоприготовительное помещение, в котором размешены поточные технологические линии (ПТЛ), обеспечивающие обработку всех видов кормов для обслуживаемых животных и приготовление полнорационных кормовых смесей. Комплексная механизация приготовления смесей достигается расстановкой ПТЛ в помещении кормоцеха, обеспечивающей их взаимодействие. При этом механизированы все основные и вспомогательные операции, исключающие ручной труд.
2. Обзор анализ существующих способов и схем кормоцехов для свиней
Комплекты оборудования кормоцехов для свиноводческих ферм и комплексов
Комплекты оборудования кормоцехов типа КЦС предназначены для механизированного приготовления запаренных или сырых кормовых смесей влажностью 60-80%.
Разработано несколько модификаций кормоцехов типа КЦС. Комплекты оборудования кормоцехов КЦС-10/1000 и КЦС-200/ 2000 используют на смешанных свинофермах соответственно на 100 и 200 свиноматок со шлейфом 1000 и 2000 голов на откорме, а КЦС-2000, КЦС-3000 и КЦС-6000 («Маяк-6») - на откормочных фермах с поголовьем соответственно 2000, 3000 и 6000 свиней.
Все унифицированные кормоцехи аналогичны базовому KЦС-6000 («Маяк-6»), включают в себя пять поточных технологических линий: концентрированных кормов, силоса и зеленой массы; тpaвяной муки; корнеклубнеплодов; приготовления и выдачи готовых смесей.
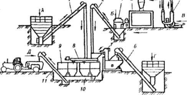
Линия концентрированных кормов предназначена для приема, хранения и дозированной загрузки концентрированных кормов в смеситель. Она состоит из приемного бункера вместимостью 15 м3 и питателя 1 (рисунок 1).
Концентраты по мере необходимости подаются питателем в сборный загрузочный шнек 8 и далее - в запарник-смеситель 9. Дозирование кормов определяют продолжительностью работы питателя 1.
Линия силоса и зеленой массы включает в себя измельчитель кормов 3, загрузочный скребковый транспортер 2 и загрузочный шнек 8. Подача линии 5-10 т/ч.
Линия приготовления травяной муки содержит универсальную дробилку КДУ-2, питатель ПСМ-10 и транспортер ТС-40С. Сено подают в дробилку 5 вручную. Сенная мука воздушным потоком, создаваемым вентилятором дробилки, подается в циклон и через шлюзовой затвор поступает в бункер питателя 4. Из последнего она высыпается на транспортер 2, который направляет ее и шнек .V или непосредственно в запарник-смеситель 9. Проииюдителыюсп. линии 1,5 т/ч.
Рисунок 1- Технологическая схема кормоприготовительного цеха КЦС-6000 («Маяк-6»): 1 — питатель концентрированных кормов ПК-6; 2 - транспортер ТС-40С; 3 - измельчитель «Волгарь-5»; 4 - питатель сенной муки ПСМ-10; 5 - дробилка КДУ-2; 6 — транспортер корнеклубнеплодов ТК-5Б; 7- мойка-измельчитель кормов ИКМ-5; 8- шнек ШЗС -40М; 9-запарник-смеситель С12; 10 - шнек IIIBC-40; 11 - выгрузной транспортер ТС-40М: А -концентрированные корма; Б — зеленая масса; В — сено; Г - корнеклубнеплоды, Д — готовая кормосмесь.
В линию подготовки корнеклубнеплодов входят приемный бункер вместимостью 9 м , который расположен на уровне пола, скребковый транспортер ТК-5Н со шнеком и мойка-измельчитель ИКМ-5. Корнеклубнеплоды доставляю самосвалом к цеху, и выгружают в приемный бункер, из которого они подаются выгрузным шнеком и наклонным скребковым транспортером 6 в мойку-измельчитель 7. Здесь они отмываются от почвы, измельчаются и подаются в сборный загрузочный шнек 8 или непосредственно в запарник-смеситель. Подача линии на свекле составляет 3-4 т/ч, на картофеле 1-2 т/ч.
Линия приготовления и выдачи готового корма включает в себя загрузочный сборный шпек ШЗС-40M, два запарника смесителя вместимостью по 12 м3 (КЦС-6000, КЦС-3000) или запарник С-12 и варочный котел ВК-1 (КЦС-200/2000), или запарник-смеситель С-7 и варочный котел ВК-1 (КЦС-100/1000), выгрузной сборный шнек ШВС-40; транспортер готового корма ТС-40М.
Со всех технологических линий корнеклубнеплоды, концентрированные и зеленые корма, травяная мука поступают в загрузочный сборный шнек X, который находится над запарником-смесителем, и поочередно их загружают. Одновременно с загрузкой смесителя корм перемешивается вращающимися мешалками. Приготовленные корма из запарников-смесителей подаются в выгрузной транспортер 11 для загрузки в кормораздатчик или другое транспортное средство.
3. Обзор и анализ существующих линий обработки сочных кормов
Линия обработки сочных кормов включает обработку силоса и зеленой массы
На зеленые корма в нашей стране введен в действие ГОСТ 27978—88. Для каждого источника зеленого корма определены фазы развития (уборки), содержание в сухом веществе сырого протеина, а также питательность в обменной энергии и кормовых единицах.
Зеленые корма должны быть без посторонних запахов и иметь цвет, свойственный растениям, из которых они приготовлены. В зеленых кормах допускается содержание вредных и ядовитых растений не более 1 %, триходесмы седой — не более 0,3 %. Массовая доля золы, нерастворимой в соляной кислоте (минеральная примесь), в зеленых кормах не должна превышать 0,5 % в листьях, в корнеплодах — 1 %. Остаточные количества пестицидов и нитратов не должны превышать максимально допустимого уровня, утвержденного Государственным управлением ветеринарии РФ.
Траву измельчают или дают в виде пасты, замешивая с концентратами. Мелькостебельчатую траву при небольших дачах скармливают в цельном виде.
Для кормления свиней готовят комбинированный силос из корма, сравнительно богатого протеином, легкоусвояемыми углеводами, каротином и с относительно низким содержанием клетчатки. Основным сырьем для приготовления комбинированного силоса служат початки кукурузы в фазе молочно-восковой и восковой спелости зерна, целые растения кукурузы в эти же фазы вегетации, морковь, свекл, картофель, кормовые бахчевые, отава бобовых трав, дробленое зерно или зерноотходы.
Рецепты комбинированных силосов отличаются разнообразием в зависимости от местных условий хозяйства, назначения, наличия и качества сырья.
Необходимо соблюдать основные технологические требования при заготовке комбинированного силос. Компоненты должны быть в количествах, обеспечивающих бесперебойную работу всех агрегатов. Силосуемая масса должна быть доброкачественной и чистой, загрязненность не должна превышать 2 %. Корнеплоды - тщательно очищены от земли, а при сильном их загрязнении вымыты.
В состав комбинированного силоса должно входить не менее двух-трех компонентов.
Силос с повышенной кислотностью (рН 3,0—3,5) животные плохо поедают; перед скармливанием его необходимо раскислять мелом, аммиачной водой, корнеплодами в виде пасты и другими способами.
Отклонения при дозировании компонентов допускаются в следующих пределах: концкормов +1,5%, сочных кормов +3,5%, жидких кормов и воды ±2,5%, минеральных добавок ±1% от дозируемого корма по весу. Неравномерность смешивания каждого компонента допускается в 2 раза больше величины отклонения для дозирования кормов.
4. Выбор конкретной схемы
По заданию дано свинарник с 1000 откормочным поголовьем. С учетом этого условия мы выбираем комплект оборудования кормоцеха КЦС-100/1000, схема которого представлена на рисунке 2.
Рисунок 2- Технологическая схема кормоприготовительного цеха КЦС-100/1000. 1- измельчитель; 2 - транспортер; 3- питатель концкормов; 4 - транспортер корнеклубнеплодов; 5 - мойка-измельчитель корнеклубнеплодов; 6 - насосная установка; 7 - выгрузной шнек; 8 - выгрузной транспортер; 9-смеситель; 10 - варочный котел; 11 - загрузочный сборный шнек.
5. Кормовые рационы
В нашей стране приняты два типа откорма: мясной откорм молодняка и его разновидность - беконный откорм; откорм до жирных кондиций и его разновидности - полусальный откорм молодняка и сальный откорм взрослых свиней.
При откорме свиней до мясных кондиций в зимний период применяют три типа рационов: концентратно-картофельный, концентратно-корнеплодный и концентратный.
Примерная структура концентратно-картофельного и концентратно-корнеплодного типов рационов: концентраты - 60-75 %, картофель или свекла - 15-20, травяная мука — 5—10, корма животного происхождения — 5—10 % от потребности в ЭКЕ. При концентратном типе кормления в рационе концентраты составляют до 80—90 %, травяная мука — 5—10 и корма животного происхождения - 5-10 % от ЭКЕ.
Примерные рационы для откармливаемого молодняка свиней при суточном приросте 600 г и при концентратно-картофельном типе кормления в зимний период, кг на голову в сутки: ячмень — 1,0, горох — 0,3, травяная мука — 0,2, шрот подсолнечный — 0,2, обезжиренное молоко — 0,8, картофель запаренный — 4,0, фосфат обесфторенный — 49 г, соль поваренная -17, премикс (П) 52-1 - 34г. В рационе содержится ЗЭКЕ, 33 МДж обменной энергии, 269 г переваримого протеина, 16,4 г лизина, 546 г клетчатки, 24 г кальция, 20 г фосфора. Потребность в витаминах и микроэлементах обеспечивается премиксом, в 1 кг которого содержится витаминов: А — 300 тыс. ME, D — 50 тыс. ME, Е - 300 мг, В2 - 300, В3 - 700 мг, В5 - 1,5 г, В|2 - 2,5 мг; микроэлементов: железо — 500 мг, марганец — 300 мг, цинк — 2,2 г, медь — 600 мг, йод — 40, кобальт - 50 мг, селен - 15 мг; бацитрацин - 2 г; ферменты МЭК CX-I и МЭК СХ-2 — по 100 г. В рацион концентратно-корнеплодного типа вместо картофеля включают свеклу в количестве 4 кг, в состав рациона концентратного типа вместо картофеля и свеклы — комбинированный силос (1,4 кг на голову в сутки). В летний период в состав рациона входят, кг: ячмень — 0,9, кукуруза — 0,8, горох — 0,2, обрат — 0,8, зеленая масса (трава) бобовых — 3,0, преципитат — 27 г, соль поваренная - 17, премикс (П) 52-1 - 34 г. В рационе содержится 3,2 ЭКЕ, 32,7 МДж обменной энергии, 273 г переваримого протеина, 16,2 г лизина, 226 г клетчатки, 24 г кальция, 17 г фосфора и 139 мг каротина.
Примерная структура кормовых рационов для свиней при беконном откорме % по питательности: в зимний период: I период откорма - концентраты - 60-65, корнеплоды - 20-25, обезжиренное молоко - 10, травяная мука - 3-5) период - концентраты - 70-75, корнеплоды - 10-15, обрат - 10, травяная мука -3; в летний сезон: I период - концентраты - 70-80, обезжиренное молоко - 10 зеленые корма - 10-20; II период - концентраты - 75-80, обезжиренное молоко - 10-15, зеленые корма - 10. В качестве концентратов можно использовать комбикорма-концентраты заводского производства (КК-56), предназначенные для беконного откорма свиней.
В нашем случае, сдаточный вес 100кг, поэтому принимаем рацион представленный в таблице 1.
Таблица 1-Рацион кормления свиноматок и молодняка
| Корма | Матки свиней | Матки с приплодом | Молодняк | |
| 2…4 месяца | Ремонтный молодняк | |||
| Концентрированные корма, кг Корнеклубнеплоды, кг Комбинированный силос, кг Травяная витаминная мука, кг | 2,4 3,0 3,0 1,0 | 4,0 5,0 5,0 0,6 | 1,3 1,0 0,5 0,2 | 1,8 1,5 3,0 0,5 |
6. Технологический расчет и подбор оборудования
Исходные данные
1- Поголовье:
а) свиноматки, m1=100 голов;
б) матки с приплодом m2=70 голов;
в) молодняк 2…4 мес. m3=1000 голов;
г) ремонтный молодняк m4=150 голов,
Характеристики
Тип файла документ
Документы такого типа открываются такими программами, как Microsoft Office Word на компьютерах Windows, Apple Pages на компьютерах Mac, Open Office - бесплатная альтернатива на различных платформах, в том числе Linux. Наиболее простым и современным решением будут Google документы, так как открываются онлайн без скачивания прямо в браузере на любой платформе. Существуют российские качественные аналоги, например от Яндекса.
Будьте внимательны на мобильных устройствах, так как там используются упрощённый функционал даже в официальном приложении от Microsoft, поэтому для просмотра скачивайте PDF-версию. А если нужно редактировать файл, то используйте оригинальный файл.
Файлы такого типа обычно разбиты на страницы, а текст может быть форматированным (жирный, курсив, выбор шрифта, таблицы и т.п.), а также в него можно добавлять изображения. Формат идеально подходит для рефератов, докладов и РПЗ курсовых проектов, которые необходимо распечатать. Кстати перед печатью также сохраняйте файл в PDF, так как принтер может начудить со шрифтами.
















