11443 (684999), страница 6
Текст из файла (страница 6)
Существует также мнение о способности моноцитов инактивировать токсины. Они содержат специальные ферменты для дезинтоксикации некоторых веществ.
Моноциты, мигрирующие в ткани, дают начало макрофагам соединительной ткани (гистиоцитам), ряду органоспецифических макрофагов - клеткам Купфера печени, альвеолярным макрофагам легкого, макрофагам костного мозга, селезенки, тимуса, лимфатических узлов, полостей тела, центральной нервной системы (микроглии), остеокластам. При определенных условиях (в очагах воспаления) моноциты также могут трансформироваться в макрофаги [21].
Для рыб цитохимическим путем установлено, что макрофаги являются производными моноцитов. Попадая из кроветворного органа в кровь, часть моноцитов сохраняет способность к пролиферации. В результате происходит дифференцировка моноцитов в сторону макрофага [21].
Однако предполагают, что и специализированных макрофагов в тканях, способных к делению, недостаточно для поддержания их популяции. Осуществляется это путем постоянного притока моноцитов из крови и их преобразования в макрофаги.
Низкий процент моноцитов в лейкограмме не всегда является признаком благополучия. Они могут концентрироваться в очагах воспаления, трансформируясь здесь в макрофаги, что часто наблюдается при длительном воздействии неблагоприятных факторов среды [21].
Лимфоциты. Это сравнительно небольшие клетки округлой и несколько неправильной формы - у рыб от 5 до 12 мкм большую часть которых занимает ядро.
У молодых форм тонкая хроматиновая структура его окрашена в бледный фиолетово-розовый цвет; цитоплазма синяя, перинуклеарная зона хорошо выражена. У зрелых клеток ядро округлое, иногда наблюдается небольшая инвагинация, хроматин уплотнен, но не однороден, имеет глыбчатую структуру. В цитоплазме часто отмечаются выступы и впячивания. Нередко она образует узкий ободок вокруг ядра, который иногда вообще как бы отсутствует. У низших позвоночных такая клетка получила название голоядерной. Это состояние характерно для малых лимфоцитов. Кроме них, встречаются еще большие и средние лимфоциты, а также бластные клетки, которые формируются в результате трансформации малых. (Согласно унитарной теории, созданной крупным русским ученым А.А. Максимовым, малому лимфоциту вообще придается значение родоначальной клетки, которая является единственной для всех ростков крови). Исключено обратное превращение бластной клетки в малый лимфоцит [21].
У средних и больших лимфоцитов ободок цитоплазмы несколько шире, чем у малых, а в ядре хроматин менее плотный, с более выраженными ядрышками, хорошо заметна перинуклеарная зона. Лимфобласт характеризуется четкой базофилией. Цитоплазма более обильная, структура ядерного хроматина рыхлая.
У рыб малые лимфоциты - единственный тип белых клеток, регулярно и в большом количестве встречающихся в крови. Именно они придают крови лимфоидный характер. Эта многочисленная группа неоднородна морфологически и функционально. Бывают случаи, когда в узком ободке их цитоплазмы, лишенной, как правило, зернистости, просматриваются азурофильные гранулы, которые принимаются за липолитические ферменты [21].
При патологических случаях встречаются лимфоциты двух- и трех ядерные. Отмечается их сферуляция - процесс, носящий обратимый характер
Особое внимание уделяется изучению функциональной активности лимфоцитов. Это связано стой существенной ролью, которая принадлежит этим клеткам в реализации иммунологических реакций организма. Специализированные лимфоциты (Т- и В-лимфоциты, различающиеся по месту своего «рождения»), выполняющие эту функцию, морфологически неразличимы. В крови циркулируют лимфоциты, находящиеся во всех стадиях дифференцировки и происходящие от различных лимфоцитопроизводящих органов. Однако деятельность их всех без исключения направлена на «патрулирование» организма посредством иммунологического надзора.
Интересно, что потомки лимфоцитов обладают свойством иммунной памяти. Хотя в реакциях клеточного иммунитета участвуюв основном лимфоциты, такую же роль играют макрофаги (моноциты) и не исключено участие гранулоцитов [21].
Постоянно мигрируют между кровью и лимфой малые лимфоциты -иммунологически зрелые, длительно живущие клетки. Неоднородность малых лимфоцитов проявляется в том, что некоторые из них являются начальными клетками с активными потенциями, в то время как другие, морфологически сходные с первыми, наоборот, не способны эволюционировать и реагировать на различные стимулы, исходящие из «микроокружения» [21].
В крови значительная часть лимфоцитов относится к долгоживущим клеткам - продолжительность их жизни от нескольких месяцев до пяти лет. К короткоживущим относятся клетки с продолжительностью жизни от нескольких часов до пяти дней [21].
Тромбоциты. У рыб эти клетки отличаются большим непостоянством форм, размеров и количества. Они могут располагаться одиночно и скоплениями. Форма этих клеток может быть как минимум четырех видов - шиловидная, веретенообразная, овальная и округлая [3, 13].
Ядра у них темно-фиолетовые, иногда почти черные, круглые, слегка удлиненные, окружены заметным слоем грязно-розовой или серо-фиолетовой цитоплазмы. У тромбоцитов ядра очень уплотнены, и в зрелых клетках почти не просматривается их структура. Иногда они бывают двудольными или вообще бесформенными. Последние, как правило, являются дегенеративными формами; нередки случаи выпячивания ядра [21].
Размер тромбоцитов чаще всего близок к размеру ядра эритроцитов того же вида рыбы, но не исключено, что они бывают и крупнее. Средняя величина тромбоцитов 0,5-0,75 мкм определяется, как правило, образом жизни рыб (у малоактивных видов они несколько крупнее) [21].
У рыб значительная часть тромбоцитов депонируется в селезенке [21].
Среди исследователей крови существует единая точка зрения относительно функциональной значимости тромбоцитов. Эти клетки участвуют в процессе свертывания крови рыбы.
У рыб время свертывания - довольно не стабильный показатель, который зависит не только от способа взятия крови, но и факторов внешней среды, физиологического состояния рыбы.
Стресс-факторы повышают скорость свертывания крови у рыб, что свидетельствует о значительном влиянии центральной нервной системы на этот процесс.
В литературе описаны и межвидовые различия свертывания крови у рыб. Однако к этим данным стоит относиться с определенным скептицизмом, помня о том, что отловленная рыба - это рыба, подвергнутая резкому стрессу. Поэтому межвидовые различия, описанные в специальной литературе, вполне могут оказаться результатом различной устойчивости рыб к стрессам.
Таким образом, организм рыб надежно защищен от больших кровопотерь. Зависимость времени свертывания крови рыб от состояния нервной системы является дополнительным защитным фактором, поскольку крупные кровопотери возможны, скорее всего, в стрессовых ситуациях (нападение хищника, драки) [3, 13].
2 Материал и методика
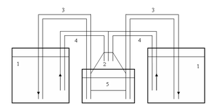
Объектами исследования были линь (Tinca tinca L.) и окунь (Perca fluviatilis L.), а также их кровь, взятая у живых рыб. Сбор материала для определения гематологических показателей рыб проводился в 2007 - 2008 гг. в аквариальной кафедры «Аквакультуры» ФГОУ ВПО «КГТУ» и на оз. Виштынецком. Производители линя были отловлены в р. Неманин ставными сетями и 06.06.07 перевезены в аквариальную кафедры «Аквакультуры» ФГОУ ВПО «КГТУ», где осуществлялось их выращивание в экспериментальной УЗВ. Аквариальная предназначена для выращивания рыб и ведения научной деятельности. Она включает в себя два помещения: вентиляторная и основное помещение. В вентиляторной находится лабораторное оборудование: весы, ФЭК, различная лабораторная посуда, набор пипеток, реактивов, бинокуляр, стойка с аппаратами Вейса. Здесь осуществляется также хранение кормов. В основном помещении располагаются два стационарных бассейна, один из которых отстойник, два бассейна шведского типа, три пластиковых бассейна (объемом 300 л), спаренные аквариумы, аквариум для разведения живых кормов. Для подачи воздуха в выростные емкости используется компрессор. Также имеется набор переносных компрессоров. Для очистки воды используются биофильтры. Схема УЗВ представлена на рисунке 1.
1 - рыбоводные емкости; 2-биореактор; 3-U-образные уровневые трубки; 4-эрлифт; 5-биофильтр
Рисунок 1 – Схема УЗВ в аквариальной кафедры «Аквакультуры» ФГОУ ВПО «КГТУ»
Содержание производителей осуществлялось раздельно по полу в бассейнах. Биофильтр содержал четыре модуля биологической очистки, вода в которые подавалась при помощи помп. В качестве механических фильтров использовались снабженные губками помпы. Емкости для содержания рыбы были частично закрыты крышками, чтобы обеспечить необходимую для рыбы затененность и предотвратить выпрыгивание рыбы.
Регулярно проводилась очистка биофильтров и губок механических фильтров, чистка и частичная замена воды в выростных емкостях.
Кормили производителей кормом Aller Aqua два-три раза в день. Ежедневно измеряли температуру воздуха в рабочем помещении, а также температуру воды в выростных емкостях.
Лини на протяжении большей части эксперимента содержались при температуре 24-26ºС, что соответствует оптимальной температуре для роста, созревания и нереста этого вида. В период с 10.10.07 по 13.03.08 с целью имитации зимовки содержание производителей и ремонта линя осуществлялось при пониженных температурах (минимальная температура за этот период – 9,5ºС у ремонтного и 10ºС у маточного поголовья линя). На рисунке 2 изображен совмещенный график колебаний температуры воды и концентрации кислорода в УЗВ в период выращивания и содержания производителей линя.
Рисунок 2 – Динамика температуры воды и концентрации кислорода в бассейнах с производителями
Концентрация кислорода в экспериментальной УЗВ с производителями линя не опускалась ниже 5,56 мг/л, что соответствует благоприятным для линя значениям.
В УЗВ с двухгодовалыми особями линя, концентрация кислорода за период проведения эксперимента не опускалась ниже 6,27 мг/л, что соответствует благоприятным для рыб условиям.
В озере Виштынецкое сбор материала проводился 19-20 мая 2008 г. Окунь для исследований был выловлен ставными сетями на двух станциях, соответственно в 38 и 11 квадратах (рисунок 3), координаты которых указаны в таблице 2.
Таблица 2 – Координаты станций расположения ставных сетей в оз. Виштынецком
| Номер станции | Начало сети | Конец сети | ||
| широта | долгота | широта | долгота | |
| 1 | 54:25:43,4 | 22:43:09,1 | 54:25:30,3 | 22:43:22,4 |
| 2 | 54:26:55,8 | 22:42:23,2 | 54:26:46,5 | 22:42:13,3 |
Рис. 3 Расположение станций в оз. Виштынецкое
Во время отлова окуней температура воды в озере была 12°C, а содержание кислорода на ст. 1 – 11,32, на ст. 2 – 10,33 мг/л.
Всего была проанализирована кровь 5 экз. двухгодовалых линей и 9 экз. производителей линя в возрасте 4 года, 7 экз. окуня с первой станции в Виштынецком озере и 8 экз. – со второй станции.
Для сбора крови рыбу заворачивали в чистую марлю и с помощью скальпеля убирали слизь и чешую в месте взятия крови. Затем это место протирали ватным тампоном, смоченным 96% спиртом, и тщательно просушивали ватой. Иглой шприца делали прокол кожи по медиальной линии позади анального плавника и под углом 45° вводили иглу до позвоночника, где проходит ствол хвостовой артерии, иглой прорезали артерию и в шприц начинала поступать кровь
В качестве антикоагулянта применяли гепарин, которым предварительно ополаскивали шприцы, затем их высушивали [55].
















