105179 (682834)
Текст из файла
21
Министерство образования и науки Украины
Восточноукраинский национальный университет
им.Даля
РЕФЕРАТ
на тему: “Анализ и экономическая оценка технологий в цветной металлургии”
Выполнил: студент группы УП-211 Зарубин Е.А.
Проверил: Хаустова А.В.
Луганск 2002г.
План
-
Роль и значение металла в экономике страны
2. Устройство и принцип работы доменной печи
3.Шихтовые материалы и их подготовка к доменной плавке
4. Виды выплавляемого чугуна и их назначение
5. Суть доменного процесса
6.Сырьё для получения стали
7. Устройство и работа двухванных сталеплавильных аппаратов
8. Устройство и работа конверторов
9. Установка и работа электрических печей для выплавки стали
10. Технология выплавки стали в Мартеновской сети
11. Технология выплавки стали в конверторе
12. Технологии выплавки стали в Электрической печи
13. Суть агломерации (назначение агломерации, сырьё, процесс агломерации, оборудование).
1. Роль и значение металла в экономике страны
Как известно, металлы делятся на две группы: черные и цветные. К черным относятся железо и его сплавы (чугун, сталь); остальные металлы — цветные (в том числе и редкие).
Металлы получают двумя способами: пирометаллургическим (огневым) и гидрометаллургическим (мокрым). При металлургическом способе металлы не выплавляют, а выщелачивают в растворы, откуда затем выделяют электролизом или другими способами.
Особое место среди металлов занимают железо и его сплавы, составляющие по весу 85—90% всего применяемого металла в СНГ Отраслью, занятой производством и первичной обработкой железа и его сплавов, является черная металлургия — основа развития современной промышленности и технического вооружения всего народного хозяйства.
Изделия из цветных металлов и их сплавов употребляют в основном при отделке монументальных административных и культурно-бытовых зданий, а также при возведении сооружений, относящихся к первому классу. Для этих целей используют медь, латунь, бронзу, алюминий и сплавы из алюминия и других цветных металлов для художественного литья.
Наиболее широкое применение в современном строительстве находит алюминий. Из него изготовляют оконные и дверные коробки, оконные переплеты и обрамления стеклянных дверных полотен; из прочных алюминиевых сплавов (дюралюминий и др.) делают легкие стеновые и перегородочные панели, плиты перекрытий, стропильные и мостовые фермы и т. п.
2. Устройство и принцип работы доменной печи
В современной доменной печи имеются два коксовых бункера, расположенных над скиповой ямой, и около трех десятков бункеров для руды, агломерата, флюсов и других материалов.
Под бункерами для кокса расположены дисковые грохота и весы. Доменная печь имеет скиповые подъемники для подачи материалов. Выгрузку материалов производят путем опрокидывания скиповой вагонетки в загрузочное устройство печи.
Загрузочное устройство состоит из двух воронок, закрытых двумя конусами. Из вагонетки шихту ссыпают в верхнюю малую воронку на конус. Затем конус опускается и шихта падает в нижнюю воронку, на нижний конус. При этом верхний конус поднимается, а нижний опускается и шихта поступает на колошник.
Работа засыпного аппарата и скипового подъемника сблокирована и управляется автоматически с п
анельного щита.
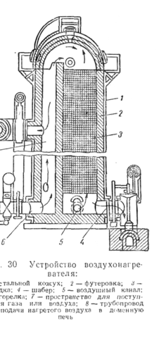
Для сокращения расхода кокса в доменную печь центробежными воздуходувками подается горячий воздух при температуре 900—1100° С. В качестве привода для воздуходувок применяют паровые турбины, работающие при давлении до 30 am.
Современные воздухонагреватели (рис 1) способны нагревать воздух в количестве 2000—2500 м3/мин до температуры 900 — 1100° С. Увеличение количества воздуха и повышение его температуры достигаются за счет увеличения поверхности нагрева насадок до 16000— 18000 m2 и сжигания газов до 3600 ма/час и более. Высота воздухонагревателя составляет 46 м при
3.Шихтовые материалы и их подготовка к доменной плавке
Исходные материалы, подаваемые в доменную печь, — топливо, руда, агломерат, флюсы, а также воздух претерпевают физические и химические изменения. Соответственно с температурными зонами в печи происходят следующие физико-химические процессы: горение топлива, удаление влаги, разложение карбонатов, восстановление железа и других элементов, науглероживание железа, плавление металла, образование и плавление шлака и другие.
Загруженное в доменную печь топливо опускается до уровня фурм и сгорает в струе поступающего под давлением 1,5—2,0 am воздуха, шгретого до 800— 1000° С и выше по реакции.
4. Виды выплавляемого чугуна и их назначение
Углерод в чугуне может находиться в виде механической примеси г (графита) и в виде химического соединения с железом, называемого карбидом или цементитом железа.
В зависимости от этого практически различают два вида чугуна: чугун, содержащий свободный графит и имеющий в изломе серый или темно-серый цвет и крупнозернистое строение. Такой чугун называют серым или литейным чугуном его применяют для производства отливок.
Чугун, содержащий в основном количестве углерод в виде химического соединения с железом FeC и имеющий белый блестящий излом, называют белым предельным чугуном. Этот чугун преимущественно перерабатывается в сталь.
П
олучение того или иного вида чугуна зависит от количества углерода, кремния, марганца, фосфора и серы в шихте (табл. 2), которые частично переходят в чугун, а также от процесса плавки в доменной печи.
5. Суть доменного процесса
Важнейшими показателями работы доменной печи являются: 1) коэффициент использования полезного объема доменной печи; 2) расход топлива на т выплавленного чугуна. Коэффициент использования полезного объема доменной печи k представляет собой отношение полезного объема печи к суточной ее производительности:
Доменная печь работает тем лучше, чем меньше числовое значение k обычно коэффициент k находится в пределах от 0,45 до 1,35 и на его величину влияют следующие факторы:
а) содержание железа в руде,
б) подготовка шихтовых материалов к плавке;
в) сорт выплавленного чугуна.
При плавке передельного чугуна k ~ 0,7—0,9,а на некоторых заводах k < 0,7; например, на Череповецком металлургическом заводе k = 0,45 м/т.
Р
асход топлива зависит от сорта выплавляемого чугуна. Для выплавки 1 m передельного чугуна расход кокса составляет от 600 до 800 кг, бессемеровского чугуна от 800 до 1000 кг, литейного чугуна от 800 до 1200 кг, специальных чугунов и ферросплавов от 1750 до 2500 кг. Расход шихты и степень ее использования являются весьма важными показателями, характеризующими экономичность работы доменной печи. Этот показатель определяется материальным балансом доменной плавки. Примерный материальный баланс на 1 m выплавляемого чугуна приведен в табл. 3.
6.Сырьё для получения стали.
Сталью называют сплавы железа с углеродом и другими
элементами. Такие сплавы обладают пластическими свойствами как в
нагретом, так и в холодном состоянии, и могут подвергаться прокатке,
волочению, ковке, штамповке.
Сталь содержит до 2% углерода и некоторое количество марганца, кремния, а также вредные примеси (фосфор и серу). Кроме этих примесей, в стали могут содержаться и
легирующие элементы: хром, никель, ванадий, титан и др.
В настоящее время сталь производят преимущественно путем передела чугуна, при котором из чугуна удаляется избыток углерода, кремния, марганца, а также вредных примесей для придания ей необходимых свойств. Углерод и другие примеси при высокой температуре соединяются с кислородом гораздо энергичнее, чем железо, и их можно удалить при незначительных потерях железа.
Углерод чугуна, соединяясь с кислородом, превращается в газ (окись углерода СО) и улетучивается.
Другие примеси превращаются в окислы SiO2, MnO и Р2О5, которые вследствие меньшего по сравнению с металлом удельного веса всплывают и образуют шлак.
В настоящее время в промышленности в основном применяют конверторный и мартеновский методы получения стали; кроме того, сталь получают в электрических дуговых и индукционных печах..
7. Устройство и работа двухванных сталеплавильных аппаратов.
Мартеновская печь имеет следующие основные части: рабочее или плавильное пространство, головки с вертикальными каналами, шлаковики, регенеративные камеры с насадками, газодымовые боровы, воздушнодымовые боровы, переводные устройства, общий дымоходовой боров, фундамент и железобетонные устои под рабочее пространство. Каждая печь имеет дымовую трубу.
Нижнюю часть рабочего пространства называют подом. Печь имеет переднюю стену, в которой расположены завалочные окна, и заднюю стену, в которой находятся выпускные отверстия для стали. К торцевым стенам печи примыкают головки, служащие для ввода в рабочее пространство топлива и воздуха и для отвода продуктов горения. Готовки посредством вертикальных каналов соединяются соответственно с газовыми и воздушными шлаковиками, которые соединяются с регенераторными камерами, имеющими кирпичную кладку.
Внизу регенераторных камер находятся поднасадочные каналы, соединенные газодымовыми и воздуходымовыми боровами, по которым отводятся продукты горения, а газ и воздух поступают в поднасадочные каналы регенераторов. На газодымовых и воздуходымовых боровах установлены переводные устройства (клапаны), служащие для изменения направления газа, воздуха и продуктов горения.
Над рабочим пространством печи имеется свод. В современных мартеновских печах своды делают подвесного типа. Мартеновская шихта через садочные окна загружается в рабочее пространство печи, а жидкий чугун заливается из ковшей. Необходимое для процесса тепло поступает от факела, образующегося от сжигаемого в рабочем пространстве печи жидкого или газообразного топлива.
В печах, работающих на газовом топливе, газы движутся следующим образом. Газ и воздух поступают с правой стороны, а продукты горения из рабочего пространства уходят с левой стороны. Тогда через правый газовый клапан поступает газ, который проходит в под насадочное пространство газового регенератора, а через правый воздушный клапан в под насадочное пространство правого регенератора поступает воздух. Газ и воздух, поднимаясь вверх, обмывают насадку, нагреваются до температуры 1000—1200° С, а затем попадают в под насадочную часть регенератора. Отсюда они проходят через шлаковики поднимаются по вертикальным каналам к пролетам головок, через которые затем поступают в рабочее пространство печи. При выходе из головок нагретые до высокой температуры газ и воздух смешиваются и в рабочем пространстве образуют факел, температура пламени которого составляет 1800—1900° С.
Характеристики
Тип файла документ
Документы такого типа открываются такими программами, как Microsoft Office Word на компьютерах Windows, Apple Pages на компьютерах Mac, Open Office - бесплатная альтернатива на различных платформах, в том числе Linux. Наиболее простым и современным решением будут Google документы, так как открываются онлайн без скачивания прямо в браузере на любой платформе. Существуют российские качественные аналоги, например от Яндекса.
Будьте внимательны на мобильных устройствах, так как там используются упрощённый функционал даже в официальном приложении от Microsoft, поэтому для просмотра скачивайте PDF-версию. А если нужно редактировать файл, то используйте оригинальный файл.
Файлы такого типа обычно разбиты на страницы, а текст может быть форматированным (жирный, курсив, выбор шрифта, таблицы и т.п.), а также в него можно добавлять изображения. Формат идеально подходит для рефератов, докладов и РПЗ курсовых проектов, которые необходимо распечатать. Кстати перед печатью также сохраняйте файл в PDF, так как принтер может начудить со шрифтами.
















