Avtomatizacia (682828), страница 3
Текст из файла (страница 3)
При каждом изменении величины измеряемого давления чувствительный элемент 9 перемещает сердечник; в этом случае
, и на вход усилителя будет подаваться разность потенциалов. Последняя усиливается до величины достаточной для вращения реверсивного двигателя 1. Двигатель, вращаясь с помощью кулачкового диска 3 прибора будет перемещать сердечник катушки измерительного прибора 6 до тех пор пока разность индуктируемых напряжений не приблизятся к нулевому значению.
В момент, когда дельта у станет равной нулю, двигатель остановится. С валом двигателя жестко связана стрелка, перемещающаяся по шкале 4 прибора 5, которая будет показывать значения измеряемого давления. Одновременно с валом двигателя связаны дополнительные устройства прибора ДУ, которые, срабатывая - будут подавать сигналы к подключенным к ним средствам регулирования, сигнализации или на ЭВМ.
Основная допустимая погрешность показаний при длине линии до 250 м составляет ± 1%, при линии протяженностью до 1500 м прибор будет иметь дополнительную погрешность ±l%..:
Измерительным приборам присваивают индекс, обозначающий их типы, например, КСД-1,КСД-2, КСД-3 и КСД-4 (компенсатор самопишущий дифференциальный)
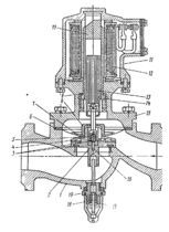
Регулятор
Для дистанционного управления потоком природного газа низкого давления применяется вентиль с электромагнитным приводом. Тип вентиля – проходной, мембранный, бессальниковый с разгрузочным золотником. Вентиль устанавливают на горизонтальном газопроводе электромагнитом вверх. Вентиль состоит из корпуса 1, запорного механизма с мембраной, электромагнитного привода и ручного дублера. Запорный механизм состоит из основного золотника 2, разгрузочного золотника 5 с уплотнительными вкладышами 3, фильтрующей шайбы 4, мембраны 6 и тарелки 7, скрепленных накидной гайкой 8. Электромагнитный привод состоит из катушки 12, кожуха 11, сердечника 13, уплотнительного кольца 9 и трубки 14, к которой приварен упор 10. Полость катушки герметизирована от рабочей среды уплотнительным кольцом 9, находящимся в замке между трубкой 14 и крышкой 15. Электромагнит соединен с корпусом 1 посредством чугунной крышки и уплотнительных прокладок. Ручной дублер состоит из аварийного винта 18, помещенного с сальниковым устройством в штуцере 19, ввернутом в корпус, и защитного колпачка 17. В основном золотнике 2 имеется разгрузочное отверстие 16.
В исходном положении, когда электромагнит не включен в сеть, разгрузочное отверстие 16 основного золотника 2 перекрыто резиновым вкладышем, завулканизированным в разгрузочном золотнике 5. Основной проход вентиля закрыт. Рабочая среда, подаваемая на основной золотник, прижимает его резиновыми уплотнительным вкладышем 3 к седлу корпуса, обеспечивая герметичность затвора вентиля. При этом через кольцевую щель между золотником 2 и шайбой 4 и дальше через отверстие в золотнике и накидной гайке 8 газ попадает в надмембранную полость. В таком положение с обеих сторон, т.е. мембрана разгружена.
При включении тока сердечник 13, а затем и разгрузочный золотник 5 перемещаются вверх. Поднимаясь, разгрузочный золотник открывает разгрузочное отверстие 16 в основном золотнике и уменьшает перепад давлений на основном золотнике 2, т.е. разгружает его, а затем подхватывает и поднимает основной золотник, открывая вентиль для прохода газа. При выключении тока сердечник электромагнита, основной и разгрузочный золотники опускаются вниз. Надмембранная полость заполняется газом, и основной золотник плотно прижимается к седлу корпуса, обеспечивая герметичность затвора вентиля.
Ш
1
2
ибер Ш
ибером называют устройство в котором регулирующее полотно 1 перемещается перпендикулярно движущему потоку и , создавая при этом большее или меньшее местное сопротивление, изменяет количество протекающих продуктов горения. Шиберы работающие при высокой температуре, снабжаются водяной рубашкой для их охлаждения. Шиберы устанавливаются в дымоходе 2( борове) термической печи для регулирования давления в рабочем пространстве печи.
С
пецификация КИП
| Позиция обозначения | Наименование прибора | Тип | Кол | Примечания |
| 1-1 1-2 1-3 1-4 1-5 1-6 1-7 1-8 1-9 | Термопара Потенциометр Задатчик Регулятор Ключ Ключ Усилитель Исполнительный механизм Регулирующая заслонка | ТПР-571 КСП ДЗФМ-1 ПЭГ ПЭД-250 ПЭД-250 МУ ИМ-2/120 ДЗВ | ||
| 2-1 2-2 2-3 2-4 2-5 2-6 2-7 2-8 2-9 2-10 2-11 2-12 2-13 | Диафрагма Диафрагма Дифманометр Дифманометр Вторичный самопишущий прибор Вторичный самопишущий прибор Задатчик Регулятор Ключ Ключ Усилитель Исполнительный механизм Регулирующая заслонка | ДК6-50 ДК6-50 ДПИ-Р ДПИ-Р ВФСМ-10 ВФСМ-10 ДЗФМ-5 ПЭГ ПЭД-250 ПЭД-250 МУ ИМ-2/120 ДЗВ | ||
| 4-1 4-2 4-3 4-4 4-5 4-6 4-7 4-8 4-9 4-10 | Отборное устройство Манометр Вторичный самопишущий прибор Задатчик Регулятор Ключ Ключ Усилитель Исполнительный механизм Шибер | МСП ВФСМ-10 ДЗФМ-4 ПЭГ ПЭД-250 ПЭД-250 МУ ИМ-2/120 КП-5,5 |
Список используемой литературы
-
Дорофеев К.П. Основы автоматизации производства и термических цехов и КИП. М. Энергоиздат, 1987.
-
Кликовский К.Л.,Купер В.Я. Методы и средства измерений. М.: Энергоатомиздат 1986.-448с.
-
Каганов В.Ю., Блинов О.М. Автоматизация управления металлургическими процессами. М.: Металлургия, 1974.-416с.
-
Титов Н.Д. Основы автоматизации литейного производства и вычислительная техника
-
Беленький А.М. Технология измерения и КИП
-
Климовицкий М.Д. Автоматический контроль и регулирование в черной металлургии
Продаю диплом по проектированию литейных цехов защищен на отлично
С чертежами цеха серийного производства сталелитейного цеха.
Keen1@yandex.ru
















