44541 (663374), страница 20
Текст из файла (страница 20)
Рис. 6.1.57. Вид лентопротяжного механизма снизу
1 – замок контейнера; 2 – Муфта перемотки; 3 – ремень перемотки; 4 – блокировочная пластина; 5 – программная пластина; 6 – программный переключатель; 7 – Маховик; 8 – ремень ведущего вала; 9 – опорная планка; 10, 11 – ремни заправки; 12 – программная шестерня
-
Телекоммуникационные средства связи
-
Факсимильная связь
-
Основные принципы факсимильной связи
-
-
Введение
Фототелеграфная связь (фототелеграф) - передача на расстояние плоских неподвижных изображений (графических иллюстративных и буквенно-цифровых) с воспроизведением их в пункте приема, осуществляемая сигналами, распространяющимися по проводам, или радиосигналами.
Факсимильная связь характеризуется большим разнообразием передаваемой документальной информации и более высокой помехоустойчивостью.
Впервые передачу на расстояние неподвижного изображения осуществил итальянский физик Дж. Казелли в 1855.
Факсимильная связь необходима для передачи изображений по обычной телефонной линии связи текста (на любом языке), написанном от руки, документов, чертежей, деловых писем, фотографии и т. п.
Название «факсимильная связь» получила от латинского слова «facio - similis» – воспроизвести подобное.
Основная особенность метода состоит в том, что он обеспечивает наиболее полное соответствие передаваемого изображения оригиналу.
Факсимильный аппарат
Рассмотрим принципы передачи неподвижного графического изображения по каналам связи. Они схожи с принципами используемые в телевидении (разложение изображения на элементарные участки и передача их на расстояние). Разница лишь в том, что средствами телевидения передаются движущиеся изображения (кадры 25 раз в секунду сменяют друг друга). При факсимильной связи скорость передачи изображения определяется техническими возможностями передачи единственного кадра.
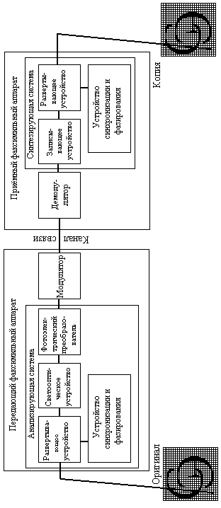
Факсимильный аппарат, комплекс механических, оптических и электронных устройств, предназначенный для передачи и приема изображений неподвижных плоских объектов (оригиналов) по электрическим каналам связи. Факсимильные аппараты подразделяется: передающие и приёмо-передающие.
Передающий факсимильный аппарат
Передающий факсимильный аппарат содержит (Рис. 7.1 .58):
-
Анализирующую систему. Она служит для преобразования изображения оригинала в видеосигнал;
-
Электронный узел, предназначенного для преобразования видеосигнала в форму, удобную для передачи по каналу связи.
Анализирующая система включает:
-
Светооптическое устройство, формирующее узкий световой пучок, который образует на поверхности оригинала “точечное” световое пятно;
-
Развертывающее устройство, которое направляет световой пучок поочередно (в заданной последовательности) на все элементарные площадки, в результате чего от поверхности отражается световой поток, модулируемый по интенсивности с отражающей способностью площадок;
-
Фотоэлектрический преобразователь, преобразующий отражённый световой поток в пропорциональный ему электрический ток (видеосигнал).
Рис. 7.1.58. Передача и прием факсимильной информации
(структурная схема)
Модуляция колебаний может быть:
-
Позитивная амплитудная модуляция (при которой макс. уровень колебаний с несущей частотой соответствует чёрному полю передаваемого изображения);
-
Негативная амплитудная модуляция (максимальный уровень колебаний соответствует белому полю изображения);
-
Позитивная частотная модуляция (более высокая частота соответствует белому полю);
-
Негативная частотная модуляция (более высокая частота соответствует чёрному полю).
Приёмный факсимильный аппарат
Приёмный факсимильный аппарат содержит:
-
Электронный узел выделения видеосигнала, предназначенный для демодуляции принимаемых модулированных колебаний;
-
Синтезирующую систему, формирующую копию передаваемого изображения;
-
Синтезирующая система состоит из развертывающего и записывающего устройства.
В качестве носителя записи используется фотобумага, фотопленка, электрография, электрохимия, электротермия (может использоваться обычная писчая бумага).
Развертывающие устройства приёмного и передающего факсимильного аппарата часто аналогичны. Конструктивно они подразделяются на механические и электронные. Наибольшее распространение получили факсимильные аппараты с механической разверткой барабанного, плоскостного и дугового типа.
В факсимильном аппарате с барабанной разверткой оригинал (или носитель записи) закрепляется на поверхности цилиндра. Развертка осуществляется в результате вращения цилиндра и его поступательного перемещения вдоль оси при неподвижном развертывающем элементе (световом пятне) либо в результате вращения цилиндра и одновременного перемещения развертывающего элемента вдоль образующей цилиндра.
Факсимильный аппарат с плоскостной разверткой оригинал укрепляется между протягивающими валиками. Развертка по строкам осуществляется развертывающим элементом, перемещаемым по оригиналу при помощи качающегося зеркала, а по кадру (переход развертывающего элемента на следующую строку) - перемещением самого оригинала.
В факсимильный аппарат с дуговой разверткой оригинал (или носитель записи) размещается внутри цилиндрической камеры. Развертка осуществляется в результате вращения оптической системы и перемещения камеры – на один шаг за каждый оборот оптической системы.
Синхронизация развертывающих устройств передающего и приемного факсимильного аппарата осуществляется либо автономно. В этом случае электродвигатели развертывающих устройств питаются от высокостабильных по частоте камертонных или кварцевых генераторов независимо друг от друга. Либо принудительно по сигналам синхронизирующей частоты, поступающим от передающего факсимильного аппарата на приёмный аппарат. Или посредством включения синхронных двигателей в единую электроэнергетическую систему. Фазирование развертывающих устройств осуществляется в приёмном факсимильном аппарате автоматически, полуавтоматически или вручную.
-
Принцип работы современного факсимильного аппарата
В передающей части факсимильного аппарата световой луч просматривает (сканирует) неподвижное изображение и образует на светочувствительном приемнике его электрическую копию (Рис. 7.1 .59).
Рис. 7.1.59. Процесс факсимильной передачи и приема
Каждой точке (ячейке) изображения оригинала соответствует электрический сигнал. В процессе считывания он превращается в последовательность «0» и «1» – цифровую кодовую комбинацию. Цифровые комбинации преобразуются далее в аналоговые сигналы – в последовательность импульсов, которые и поступают в канал связи. На приемной стороне процесс происходит в обратном порядке. Аналоговые сигналы де модулируются и преобразуются в оцифрованное изображение, которое распечатывается на бумаге.
Перечисленные операции в том или ином виде реализованы в факсимильном аппарате любой системы и постоянно совершенствуются с появлением новых технических решений.
Современный факсимильный аппарат является по существу специализированным компьютером для передачи изображений по - обычным телефонным каналам.
Факсимильный аппарат CANON PBX-230
Структурная схема факсимильного аппарата (например, CANON PBX-230) приведена на Рис. 7.1 .60.
Рис. 7.1.60. Обобщенная блок – схема факсимильного аппарата
Она весьма напоминает структуру микрокомпьютера. «Сердцем» аппарата является микроконтроллер, который управляет работой периферийных устройств, – считывателя изображения, устройства термопечати, пульта управления и модема. Каждый элемент аппарата построен на основе наиболее надежной и дешевой электронной технологии, реализующей данную функцию. Устройство позволяет передавать на тысячи километров изображение формата обычного листа бумаги А4 (210Х297 мм) с разрешением 1728Х1160 точек. В среднем, разрешение обычного факсимильного аппарата – 8 точек на 1 мм. Этого достаточно, чтобы точно воспроизводить рукописные тексты и рисунки.
Считыватель изображения построен на основе устройства с зарядовой связью. Подобная технология использована, на пример, в динамических ОЗУ и ПЗУ. В отличие от обычного оперативного запоминающего устройства, кристалл кремния с нанесенной на него регулярной структурой светочувствительных ячеек памяти открыт для восприятия изображений. С помощью оптической системы оно «построчно» переносится на кристалл. Микроконтроллер синхронизирует перемещение оригинала и построечное считывание изображения на светочувствительный элемент. Освещенные и затемненные участки оригинала формируют в соответствующих ячейках кристалла значения «0» и «1». Таким образом, изображение «оцифровывается» как это показано на Error: Reference source not found. Оцифрованное изображение переносится в оперативную память микроконтроллера. Для обеспечения высокого качества изображения, зашиты от помех и уплотнения считанные в память цифровые коды обрабатываются микроконтроллером.
Из оперативной памяти обработанный цифровой код поступает в модем–модулятор/демодулятор электрических сигналов. Модем преобразует цифровой код изображения в низкочастотный сигнал, передаваемый далее по обычной телефонной линии. Встроенный в факсимильный аппарат модем построен на основе цифровых процессоров сигналов, формирующих и обрабатывающих электрические сигналы. От способа модуляции (протокола), используемого в модеме, зависит скорость передачи изображения. Данные протоколы в соответствии с рекомендациями Международного консультативного комитета по телефонии и телеграфии (МККТТ) классифицируются по четырем группам.
В современных факсимильных аппаратах используют протоколы третьей и четвертой групп МККТТ (G3 и G4). Они позволяют передавать по телефонным каналам оцифрованные изображения. Время передачи изображения формата А4 составляет менее одной минуты при использовании скорости передачи по телефонной линии 9600 Вод. Протоколы G3 приведены в Табл. 7.2 .10.
Протоколы группы G3
Таблица 7.1.2
| Скорость передачи бит/сек | Способ модуляции | Скорость модуляции, Вод | Частота несу щей, Гц | Протокол МККТТ |
| 9600 | Шестнадцатимет-ричная QAM | 2400 | 1700 | V.29 |
| 7200 | Восьмиричная AM | 2400 | 1700 | V.29 |
| 4800 | 8-фаз PSK | Д600 | 1800 | V.27 |
| 2400 | 4-фаз PSK | 1200 | 1800 | V.27 |
| 300 | FSK | 300 | 1650/1850 | V.21 |
Наименьшую скорость передачи характеризует наиболее простой протокол V21 с частотной модуляцией (FSK). Большие скорости передачи достигаются при применения более сложных протоколов V.27 и V.29, использующих фазовую модуляцию (PSK) и ее модификацию – квадратурную амплитудную модуляцию (QAM).
Важным элементом протоколов является кодирование (сжатие данных) оцифрованных факсимильных изображений.
Оно не только приводит к сокращению объема передаваемой информации и экономит время передачи изображений, но и обеспечивает совместимость протоколов этой группы. Поэтому способы кодирования, как и способы модуляции, входят в область стандартизации МККТТ.
Способы кодирование сигнала
Рекомендация этого комитета – Т.4 для факсимильной аппаратуры третьей группы – устанавливает так называемую одномерную схему кодирования, в которой кодируются длины белых и черных серий элементов изображений с помощью кода Хаффмена, Строка развертки содержит 1728 белых или черных элементов, каждый из которых отображается в оцифрованном изображении «0» или «1». Таким образом, строчная развертка отображается в виде массива строк двоичных цифр, которые образуют случайную последовательность. Код Хаффмена учитывает статистические свойства черно-белых изображений и представляет собой код длин серий «0» и «1», в котором длина кодовой комбинации связана с вероятностью появления кодируемой серии в оцифрованном массиве данного изображения. Чем больше вероятность (частота) появления серии, тем меньше длина кодовой комбинации для такой серии. Для кодовых комбинаций составляется специальная таблица, позволяющая восстановить оригинальное содержание оцифрованного массива.
















