24800 (654475), страница 6
Текст из файла (страница 6)
Капитальная траншея обеспечивает доступ к вскрышным и добычным уступам.
Продольный уклон россыпи составил 0,0003, а поперечный уклон россыпи 0,045.
Продольный и поперечный уклон россыпи значительно большие, следовательно, вода будет собираться в углу нижней части россыпи, а дальше будет проходить по капитальной траншее. В траншее будет проходить дорога с уклоном 30 0/00 , при количестве атмосферных и талых вод 0,005 м3/с вода будет проходить по обочине и не будет препятствовать движению.
Длина капитальной траншеи принята 334 м .
Водосборная канава служит для сбора атмосферных осадков и для вод талых пород, которые попадают в карьер, а затем переходит в водосточную канаву.
Длина водосборной канавы будет равна длине капитальной траншеи,
Lк = 334 м.
В траншее будет проходить дорога с уклоном 30 0/00 , при количестве атмосферных и талых вод 0,005 м3/с вода будет проходить по обочине и не будет препятствовать движению.
Для отвода поверхностных вод, стекающих в карьер с более возвышенных мест в период весеннего снеготаяния и после ливневых дождей, проводят нагорные канавы.
Скорость течения воды в канаве определяется из того что скорость течения воды в канаве (v) не должна превышать размывающею скорость (vРАЗМ) и не должно быть меньше скорости течение при которой происходит заиливание канавы (vЗАИЛ).
Высота потока в канаве определяется:
(3.5)
где Q10 – 10% обеспеченность стока, максимальная, Q10=1,75 м3/с;
β – ширена отвала бульдозера, β=3,2 м;
vРАЗМ – скорость размыва, vРАЗМ =2,04.
(3.6)
где α – коэффициент крупности наносов, α=0,5.
Площадь сечения канавы определяется:
(3.7)
где b – ширена канавы по дну, b=3,2 м;
m – заложение откосов, m=1 (450);
h – высота канавы, определяется путем подбора.
Смоченный период определяется:
(3.8)
Гидравлический радиус канавы определяется как:
(3.22)
Коэффициент Шизи определяется:
(3.9)
где п – коэффициент шероховатости канавы, п=0,018;
у – эмпирический коэффициент, у=0,167.
Уклон канавы определяется:
(3.10)
Расход воды определяется как:
(3.11)
Расчет проведен для высоты потока в канаве равной 0,5 м. Аналогичный расчет проводим для высот 0,4; 0,3 и 0,2 м. Результаты заносим в таблицу 3.1.
Таблица 3.1 – Расчет параметров нагорной канавы
| № | b, м. | h, м | w, м2 | х, м | R, м | С | i | Q, м3/с |
| 1 | 3,2 | 0,5 | 1,8 | 4,4 | 0,4 | 47,7 | 0,002 | 2,4 |
| 2 | 3,2 | 0,4 | 1,68 | 4,1 | 0,35 | 46,6 | 0,002 | 1,77 |
| 3 | 3,2 | 0,3 | 1,44 | 3,8 | 0,3 | 45,4 | 0,002 | 1,16 |
| 4 | 3,2 | 0,2 | 1,05 | 3,6 | 0,2 | 42,5 | 0,002 | 0,56 |
Далее строим график зависимость расхода воды в канаве от высоты потока воды в канаве, см. рис 3.1.
Рисунок 3.1 - График зависимость расхода воды в канаве от высоты потока
воды в канаве.
Из графика видно, что при данном расходе воды 1,75 м3/с высота потока воды в канаве буде равна 0,39 м.
К полученной высоте потока прибавляем необходимую безопасную высоту.
. (3.12)
где ε – необходимый надводный борт, по ТБ, ε = 0,45 м.
Таким образом, глубина нагорной канавы будет равна 1 м.
Определяем объем нагорной канавы:
; (3.13)
где ВПОВ, ВПОН – ширина канавы поверху и понизу соответственно, ВПОВ=5,2 и ВПОН=3,2;
L – длина нагорной канавы (принята с проекта), L=1950 м.
Рисунок 3.2 – Сечение нагорной канавы.
Затраты на проведение нагорной канавы определяются как:
(3.14)
где ЦБ170 – стоимость затрат на 1 м3 для бульдозера Т 170, ЦБ170 = 9,3 руб. (см. табл. 3.15) .
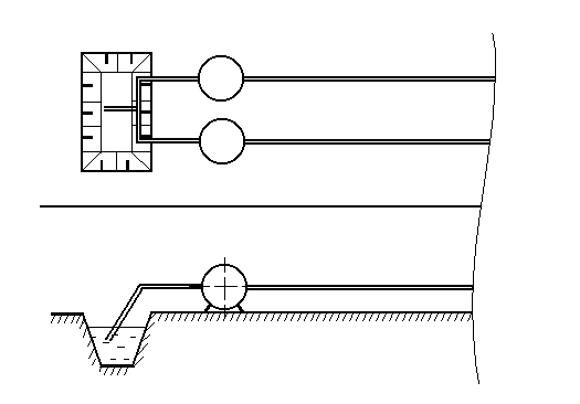
Осушение карьера в случае ливневых вод предусмотрено водоотливной установкой состоящей из двух грунтовых насосов ГРТ 400/40.
Выбор насосной установки:
(3.15)
где zСУТ – максимальная суточная норма осадков, zСУТ = 0,06 м;
SВС – площадь водосбора, SВС = 262500 м2.
Таким образом выбор насосной установки необходимо проводить исходя из максимального водопритока в час, из этого условия выбирается грунтовый насос ГРТ 400/40 в количестве 2 шт., суммарной производительностью 800 м3/ч.
Насосы располагаются параллельно, такая комбинация позволяет увеличить производительность насосов до 800 м3/ч (суммарно), а напор оставить прежним 40 м.
Схематично соединение насосов показано на рисунке 3.3.
Рисунок 3.3 – Схема соединения насосов ГРТ 400/40
-
Вскрытие месторождения
Работы по вскрытию включает совокупность работ, проводимых с целью создания доступа к горизонту залежи, т.е. обеспечения непосредственной транспортной связи этого горизонта с поверхностью и размещения горных машин.
Вскрытие состоит из проведения горных выработок или строительства специальных сооружений (выносных канав, котлованов, выездов, траншей, плотин).
При экскаваторной разработке вскрытие россыпи осуществляется двумя способами: без проведения выработок и с независимым вскрытия отдельных горизонтов.
При вскрытии без проведения выработок оборудования располагается на поверхности россыпи и используется как для вскрышных, так и для добычных работ.
При независимом вскрытии горизонтов используют две технологические схемы: транспортная и бестранспортная. При бестранспортной разработке выработки проводятся, только если экскаватор производит вскрытие без применения транспортных средств. На экскаваторных разработках с применением транспорта работы по вскрытию включает проведения траншей, устройство выездов, сооружения насыпей и съездов, планировку площадок для экскаваторов и транспортных средств. При этом способе россыпь разрабатывается одним или несколькими уступами (в зависимости от мощности россыпи).
Проектом принят независимое вскрытие отдельных горизонтов с применением транспортной технологии.
-
Схема вскрытия
Схема вскрытия карьерного поля включает в себя капитальную траншею и четыре разрезных траншеи. Четыре разрезные траншеи необходимы для вскрытия исходи из условия экскавации торфов. Вскрытие месторождения производиться экскаваторам ЭШ 15/90 А. Экскаватор проходит разрезную траншею №1, после того как из неё будет убран и вывезен золотоносный пласт песков, она засыпается торфами разрезной траншеи №2, так как предусмотрено расположение отвалов вскрыши в отработанное пространство. И так далее, разрезная траншея №2 засыпается торфами из №3, а та в свою очередь из №4. При этом достигается низкий коэффициент переэкскавации kПЕР=0,2, так же уменьшаться работы по рекультивации нарушенных земель
Сменная норма выработки экскаватора ЭШ 15/90 А определяется из выражения:
(3.16)
где ТКФМ – календарный фонд времени по месяцам, из расчета 12 часов в смену, ТКФМ = 480 ч;
ТВ – вспомогательные работы, из расчета 20 мин. в смену, ТВ = 14 ч;
ТППР – продолжительность планово предупредительного ремонта, из расчета 3-4 сут. в месяц, ТППР=72 ч;
ТПЗО – продолжительность предварительно заключительных операций из расчета 1 ч. в смену, ТПЗО = 40 ч;
ТЛО – продолжительность времени на личные надобности и отдых из расчета 25 мин. в смену, ТЛО = 34 ч;
Е – емкость ковша экскаватора, Е = 15 м3;
kи – коэффициент использования экскаватора, kи=0,61;
tЦ - время цикла, tЦ =59,06.
; (3.17)
где k И3 и k И4 – соответственно коэффициет использования для третей и четвертой категории пород, k И3 =0,69 и k И4 = 0,59;
0,2 и 0,8 – соответственно количественное содержание пород третей и четвертой категории.
; (3.18)
где t Ц3 и t Ц4 - соответственно время цикла для пород третей и четвертой категории, t Ц3 = 56,5 и t Ц4 =59,7.
Данный расчет проведен для месяца мая, аналогичные расчеты
произведены для остальных месяцев работы экскаватора ЭШ 15/90 А и занесены в табл.
-
Параметры капитальной траншеи
Ширина капитальной траншеи по дну определяется из условия безопасного движения транспортных средств автосамосвалов БелАЗ - 540, при двух полосном движении.
; (3.19)
где Во - ширина обочины, во = 2 м;
m – безопасное расстояние, m = 1 м;
П – ширина проезжей части, П = 11 м.
Глубина заложения капитальной траншеи определяется глубиной залегания песков в местах примыкания и равна:
Нтр = Нв + hпи =20,3+3=23,3 м; (3.20)
где Нв – мощность вскрыши, Нв =20,3м;
hпи – мощность песков, hпи =3 м.
Длина капитальной траншеи равна:
; (3.21)
где i – уклон капитальной траншеи, i = 70 0/00.
Объем капитальной траншеи равен:
(3.22)
где β – угол откоса борта траншеи, β = 45 град;
Затраты на строительство капитальной траншеи:
(3.23)
где ЦЭШ - стоимость затрат на 1 м3 ЭШ 15/90 А, ЦЭШ =5,5 руб.
Принимаем две капитальные траншеи.
Результаты расчета приведены в таблице 3.2.
Таблица 3.2 – Параметры капитальной траншеи
| Показатели и обозначения | Траншея |
| Ширина по низу, м. | 20 |
| Ширина по верху, м. | 67,5 |
| Глубина траншеи, м. | 23,4 |
| Угол откоса борта, град. | 45 |
| Длина траншеи, м. | 334 |
| Объем траншеи, м3. | 139236 |
3.3.3 Параметры разрезной траншеи.
Ширина по низу разрезной траншеи определяется с учетом условий безопасного размещения выемочного оборудования и вместимости выработанного пространства на размещения пород вскрытия от первой эксплуатационной заходки.
При тупиковой схеме подачи автосамосвалов под погрузку ширина по дну определяется:
(3.24)
где вс - ширина автосамосвала БелАЗ - 540, вс = 3,48 м;
Rа – наименьший радиус поворота автосамосвала БелАЗ - 540, Rа= 12 м;
















