14800 (648552)
Текст из файла
Федеральное агентство по образованию
Государственное образовательное учреждение высшего профессионального образования
Р е ф е р а т
«Машины и оборудование для механизации малых животноводческих ферм»
Выполнил студент курса
факультета
Проверил:
Бирск2008
ОГЛАВЛЕНИЕ
Введение
1. Доильные аппараты для малых животноводческих ферм
2. Малогабаритное оборудование для переработки и хранение продукции
Список литературы
ВВЕДЕНИЕ
Для кормления животных в фермерских хозяйствах предусмотрен комплекс малогабаритных неэнергоемких многооперационных машин и оборудования, при помощи которых выполняют следующие технологические операции: погрузочно-разгрузочные работы и транспортировку кормов к ферме или кормоцеху, а также внутри фермы; хранение и измельчение компонентов кормовых смесей; приготовление сбалансированных кормовых смесей, транспортировку и выдачу их животным.
В зависимости от специализации малой фермы подбирают комплект соответствующего оборудования. Так, для ферм с поголовьем до 15 коров рекомендуется использовать агрегат индивидуального доения, а для ферм с поголовьем около 100 коров — стационарные доильные агрегаты АДМ-8А-1 или ДАС-2В.
Перед переходом на машинное доение после ручного режима следует приучить коров к внешнему виду и шуму агрегата. Доение на агрегатах должно проводиться согласно действующим правилам машинного доения.
Для сохранения качества первичной животноводческой продукции (молока, мяса) в любое время года ее подвергают температурному воздействию (пастеризации, копчению, охлаждению и др.) или перерабатывают на более устойчивый для хранения продукт (масло, сыр, копчености, колбасы и др.).
1. ДОИЛЬНЫЕ АГРЕГАТЫ ДЛЯ МАЛЫХ ЖИВОТНОВОДЧЕСКИХ ФЕРМ
Агрегат индивидуального доения коров АИД-1-01. Этот агрегат предназначен для машинного доения коров в личных подсобных хозяйствах и на малых фермах до 10—15 коров. Он состоит из вакуумной установки 1 (рис. 1) для создания вакуума во время доения и промывки оборудования, одного доильного аппарата 2, доильного ведра 3 вместимостью 19 л и тележки 4.
Рис. 1. Агрегат для индивидуального доения коров АИД-1-01:
1 — вакуумная установка; 2 — доильный аппарат; 3 — доильное ведро; 4 — тележка
Доильную аппаратуру подсоединяют к вакуумной установке при помощи штуцера. Для пуска установки служит кнопка включения и выключения электродвигателя привода. Вакуумный режим в процессе доения контролируется вакуумметром и регулируется вакуум-регулятором.
Доильный аппарат и вакуумметр агрегата унифицированы с аналогичными узлами и приборами доильных агрегатов, остальные узлы и агрегаты — оригинальные.
Вакуумная установка состоит из вакуум-насоса оригинальной конструкции, электродвигателя напряжением 220 В, основания, муфты и переходника. Большая часть масла, засасываемого из масленки вакуум-насосом, не выбрасывается в глушитель, а возвращается в нее, чем достигается экономия масла.
В составе вакуум-регулятора корпус, клапан и пружина. К его крестовине подсоединен вакуумметр.
Перед переходом на машинное доение после ручного режима следует приучить коров к внешнему виду и шуму агрегата. Доение на агрегатах должно проводиться согласно действующим правилам машинного доения.
Доильный агрегат АДУ-1. Агрегат выполнен на базе унифицированного доильного аппарата АДУ-1. Использование его возможно при наличии в стационаре вакуумного оборудования (вакуумной установки, вакуум-провода). При доении коров в стойлах он эффективно заменяет молокопроводные доильные установки. На тележке агрегата зафиксирована приемная фляга для сбора молока, закрываемая крышкой, на которой имеются пульсатор и три патрубка для подсоединения двух доильных аппаратов и стационарной вакуумной системы. В передней части тележки монтируют разбрызгиватель для обмывания вымени перед доением. При использовании передвижного доильного агрегата можно выдоить до 30 коров в час.
Доильные агрегаты с молокопроводом типа АДМ-8А-1. Эти агрегаты предназначены для доения коров и первичной обработки молока на малых фермах до 100 коров в условиях арендного, семейного подряда и на типовых фермах и выпускаются в трех модификациях: УДМ-8А-1 — основного исполнения, АДМ-8А-1 — исполнения 05 и АДМ-8А-1 - исполнения 06.
Такой агрегат состоит из стеклянного молокопровода и вакуум-провода, установленных над стойлами коровника. Доильные аппараты соединяют с ними при помощи совмещенных молочно-вакуумных кранов. В помещении молочного отделения рядом с коровником монтируют входящие в состав агрегата системы первичной обработки молока и промывки молокопроводящих путей, а также доильную аппаратуру.
Агрегат исполнения 05 поставляется без дозаторов молока, автомата промывки, охладителя молока, устройства подъема ветвей молокопровода и является наиболее простым; исполнения 06 — без автомата промывки и охладителя молока. Агрегат основного исполнения — полнокомплектный, обеспечивает механизацию и автоматизацию всех операций при доении коров в молокопровод.
Работа агрегата основного исполнения состоит из следующих этапов: подготовки к доению; подготовки вымени и установки доильных аппаратов на соски; доения; замера количества молока, надоенного от каждой коровы (при контрольной дойке); транспортировки молока в молочное отделение; замера количества молока от группы до 50 коров; фильтрации, охлаждения и подачи молока к резервуару-охладителю или резервуару для хранения; промывки и дезинфекции агрегата.
Агрегаты двух других модификаций не выполняют операции автоматической промывки и охлаждения молока в процессе доения через пластинчатый охладитель, так как соответствующие составные части не входят в их комплектацию. Однако они значительно проще по конструкции и комплектации, а также в обслуживании и больше подходят для условий семейного или арендного подряда.
При необходимости агрегаты всех трех модификаций можно установить в коровнике на любое число коров (от 30 до 100) и смонтировать при этом молоко- и вакуум-проводы требуемой длины.
В состав агрегата входят молокопровод АДМ.01.000-01, вакуум-провод АДМ.55.000, восемь единиц доильной аппаратуры АДМ.03.000, устройство промывки АДМ.20.000, молокоприемник АДМ.24.000, переключатель АДМ. 19.000, фильтр АДМ.09.000, охладитель молока АДМ.33.000-02 (основное исполнение), автомат промывки АДМ.23.000 (основное исполнение), шкаф запасных частей ДПР.06.000-01, вакуум-регулятор АДМ.08.000, четыре устройства подъема ветвей молокопровода АДМ. 18.000-03 (в исполнении 05 отсутствует), универсальный молочный насос НМУ-6, дозатор молока АДМ.52.000 (в исполнении 05 отсутствует), вакуумная установка УАУ-60/45, восемь устройств зоотехнического учета молока УЗМ-8А.
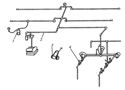
Доильный агрегат стационарный ДАС-2В. Он предназначен для машинного доения коров в переносные доильные ведра при привязном содержании и рекомендуется для малых ферм (10—100 коров), где нельзя применить более производительный агрегат с доением в молокопровод АДМ-8А-1. Агрегат может работать на высоте над уровнем моря не более 1000 м, колебание напряжения в сети питания допускается 5—10 % от номинального 380 В. К нему рекомендуется заказывать очиститель-охладитель и резервуар-охладитель молока, холодильную установку с рекуператором теплоты для получения холодной воды с целью охлаждения молока.
Доильная аппаратура имеет 9 комплектов, каждый из которых включает в себя двухтактный аппарат АДУ-1 и ведро вместимостью 19 л. Число пульсов в минуту 65±5, соотношение длительности тактов сосания и сжатия 2:1. Вакуум-провод выполнен из водогазопро-водных труб диаметром 25,4 мм. Устройство промывки — циркуляционного типа с поступательно-возвратным движением жидкости, промывает молокопроводящие пути доильного аппарата, крышку и доильное ведро. Число импульсов в минуту 0,5—2. Каждый оператор может промывать свою доильную аппаратуру независимо от других, которые в это время продолжают доить коров.
Приготовленный моюще-дезинфицирующий раствор из пластмассового промывочного ведра, входящего в комплект устройства, засасывается в такте сосания через доильный аппарат в доильное ведро, а в такте слива через вырезы в центральном штуцере крышки доильного ведра вытекает по шлангу обратно. Так промывается доильная аппаратура, а затем по той же схеме ополаскивается чистой водой.
При обслуживании стада до 100 коров на агрегате ДАС-2В работают три оператора машинного доения, до 30 коров — один.
Рис. 2. Доильный агрегат стационарный ДАС-2В:
1 — доильная аппаратура ДПР.31.000; 2 — вакуум-провод ДПР.32.000; 3 — тележка для перевозки фляг ДПР.03.000; 4 — устройство промывки ДПР.35.000
2. МАЛОГАБАРИТНОЕ ОБОРУДОВАНИЕ ДЛЯ ПЕРЕРАБОТКИ И ХРАНЕНИЯ ПРОДУКЦИИ
Для сохранения качества первичной животноводческой продукции (молока, мяса) в любое время года ее подвергают температурному воздействию (пастеризации, копчению, охлаждению и др.) или перерабатывают на более устойчивый для хранения продукт (масло, сыр, копчености, колбасы и др.).
Охладитель молока ОМВ-Ф-8. Для хранения в специальной среде в течение 20 ч свежевыдоенного молока в стандартных бидонах используют охладитель. Он выполнен в виде открытой водяной ванны 1 (рис. 3), подключенной к электрической сети. В конце ванны расположен холодильный агрегат, соединенный посредством терморегулирующего вентиля с испарителем-аккумулятором трубчатого типа. Ванна имеет слой теплоизоляции 4 и облицована ударопрочным покрытием 5 из полистирола.
Автоматический режим работы охладителя задается с пульта управления через реле температуры и датчики, установленные в водяной ванне. Реле температуры контролирует величину наморозки льда, а также включение и выключение насоса для перемешивания хладоносителя. Холодильный агрегат защищен ограждением. Решетка, размещенная над аккумулятором льда, предназначена для установки бидонов.
Охладитель работоспособен в условиях температуры окружающей среды 10—35 °С и относительной влажности не более 85 %.
На животноводческой ферме до 100 коров достаточно иметь один охладитель, он гарантирует сохранность и качество молока.
Работает охладитель в автоматическом режиме. Через 3—4 ч на испарителе образуется достаточное количество льда для охлаждения 200 м3 молока, и холодильный агрегат автоматически отключается. С этого момента можно устанавливать в водяную ванну бидоны с молоком, после чего автоматически включается электронасос хладоносителя (хладагент Р22), который работает в заданном режиме охлаждения молока. По истечении 2—2,2 ч процесс охлаждения заканчивается, и молоко готово к отправке. Охладитель продолжает работу в автоматическом режиме, и следующая остановка холодильного агрегата указывает на его готовность к новому циклу охлаждения.
Рис. 3. Охладитель молока ОМВ-Ф-8:
1 — водяная ванна; 2 — испаритель-аккумулятор льда; 3 — решетка для установки бидонов; 4 — слой теплоизоляции; 5 — ударопрочное покрытие; 6 — охлаждение холодильного агрегата; 7 — бидон с молоком; 8 — холодильный агрегат; 9 — пульт управления; 10 — электронасос
Универсальный молочный бидон-охладитель АДМ-18-000. Отечественная промышленность выпускает его в комплекте оборудования молочной.
Устройство бидона-охладителя показано на рис. 4. Назначение универсального бидона-охладителя — сбор, фильтрация и охлаждение молока. При доении в молокопровод учитывается молоко от группы коров с помощью мерной линейки. Молоко охлаждается холодной водой из любого источника. Вместимость бидона 185 л. Масса 42 кг.
Рис. 4. Бидон-охладитель
1 — металлический каркас; 2 — комбинированный корпус; 3 — крышка с патрубками
Молоко, поступающее под вакуумом из молокопровода, собирается в приемном бачке в верхней части бидона-охладителя. Из приемного бачка оно самотеком тонкими струйками распределяется по всей внутренней поверхности, охлаждаясь на стенках бидона. Охлаждающая вода омывает стенки снаружи, собирается в емкости под бидоном и возвращается в резервуар для охлаждения или технологических нужд.
Молоко охлаждается до температуры на 5—6 °С выше температуры охлаждаемой воды при трехкратном ее расходе.
Сепараторы-сливкоотделители. Их используют для разделения 1 молока (цельного) на сливки и обрат (обезжиренное молоко). Аппараты состоят из трех основных частей: привода, барабана, приемно-выводного устройства.
Электрические сепараторы-сливкоотделители в качестве привода имеют мотор-редуктор или один электродвигатель, на ручных сепараторах используется редуктор с рукояткой.
Характеристики
Тип файла документ
Документы такого типа открываются такими программами, как Microsoft Office Word на компьютерах Windows, Apple Pages на компьютерах Mac, Open Office - бесплатная альтернатива на различных платформах, в том числе Linux. Наиболее простым и современным решением будут Google документы, так как открываются онлайн без скачивания прямо в браузере на любой платформе. Существуют российские качественные аналоги, например от Яндекса.
Будьте внимательны на мобильных устройствах, так как там используются упрощённый функционал даже в официальном приложении от Microsoft, поэтому для просмотра скачивайте PDF-версию. А если нужно редактировать файл, то используйте оригинальный файл.
Файлы такого типа обычно разбиты на страницы, а текст может быть форматированным (жирный, курсив, выбор шрифта, таблицы и т.п.), а также в него можно добавлять изображения. Формат идеально подходит для рефератов, докладов и РПЗ курсовых проектов, которые необходимо распечатать. Кстати перед печатью также сохраняйте файл в PDF, так как принтер может начудить со шрифтами.















