14800 (648552), страница 2
Текст из файла (страница 2)
Для фермерских хозяйств, которые не специализируются на молочном скотоводстве, повышенный интерес представляют сепараторы с ручным приводом. Работа на них не требует больших усилий, и достаточно безопасна, в ней могут принимать участие и дети.
Небольшие по размерам и массе, простые в эксплуатации и надежные в работе, эти машины — незаменимые помощники в хозяйстве: за 30 мин работы можно получить от 3 до 6 кг сливок различной жирности и 18—22 кг обезжиренного до 0,05 %-ной жирности молока (обрата). В процессе сепарирования сливки и обрат очищаются и от механических примесей, оставшихся в молоке после процеживания.
Краткие технические данные ручных сепараторов приведены в табл. 1.
Таблица 1
Технические характеристики ручных сепараторов-сливкоотделителей
| Характеристика | «Зорька» | «Плава» | «Урал» | «Сатурн» | «Волга» |
| Производительность, л/ч | 30 | 50 | 50 | 50 | 100 |
| Частота вращения барабана, мин-1 Масса, кг | 1140 6,5 | 9500 8 | 9700 8 | 10000 5-10 | 9200 22 |
Сепаратор-сливкоотделитель «Плава-2» (с ручным приводом) предназначен для разделения цельного молока на сливки и обезжиренное молоко (обрат) с одновременной очисткой от загрязнений.
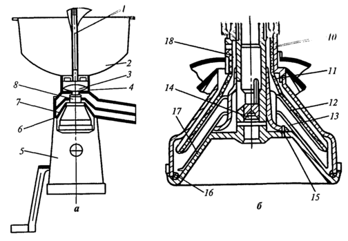
Сепаратор, показанный на рис. 53, а, состоит из приводного механизма, барабана и приемно-выводного устройства.
В корпусе привода размещается шестеренный механизм, собранный на отдельном кронштейне, который крепится к корпусу тремя винтами и герметизирован прокладкой. Вращение барабана передается от приводной рукоятки через шестерни и веретено.
Шестерни смазываются за счет разбрызгивания масла из масляной ванны.
Веретено регулируют по высоте посредством шайб. Основной рабочий орган сепаратора — барабан. Он состоит из основания 17 (рис. 5, б), тарелкодержателя 13 с пакетом тарелок, уплотнительного кольца, крышки 10 и гайки 9.
Рис. 5. Сепаратор-сливкоотделитель «Плава-2» (a) и барабан сепаратора (б):
1 — кран; 2 — приемник молока; 3 — поплавок; 4 — поплавковая камера; 5 — механизм привода; 6 — приемник обрата; 7 — приемник сливок; 8 — барабан; 9 — гайка; 10 — крышка; 11 — разделительная тарелка; 12 — промежуточная тарелка; 13 — тарелкодержатель; 14 — пробка; 15 — штифт; 16 — кольцо; 17— основание; 18 — винт
Разделение молока на сливки и обрат происходит в барабане. Молоко через кран молокоприемника и поплавковую камеру, попадая внутрь барабана, распределяется в межтарельчатом пространстве, где разделяется на сливки и обрат. Под действием центробежной силы обрат как более тяжелая часть отбрасывается к периферии барабана, а сливки оттесняются к его оси. Поток обрата выбрасывается из барабана в приемник обрата, а сливки - в приемник сливок.
Перед эксплуатацией сепаратора его узлы тщательно протирают, освобождают от масла, а элементы, соприкасающиеся с молоком, промывают горячей водой.
Приводной механизм сепаратора прикрепляют к рабочему месту при помощи шпильки и гайки, правильность установки проверяют уровнем. Затем в картер станины заливают машинное масло в количестве 100 - 150 г.
При сборке барабана на тарелкодержатель вначале укладывают тарелку с выдавленными шипиками, а потом тарелку без шипиков и т. д. через одну. При сборке барабана обращают внимание на необходимость совпадения рисок, одна из которых нанесена на верхнем торце основания, а другая - на торце гайки. Собранный барабан устанавливают на веретене так, чтобы штифт барабана вошел в паз веретена, поле чего на станину ставят приемник обрата с приемником сливок. Поворачивают барабан рукой за гайку, чтобы убедиться в легкости его вращения и в отсутствии задеваний за посуду. Перед заполнением молокоприемника продуктом кран устанавливают в положение «Закрыто». Выступ ручки должен совпадать с меткой «3» на отражателе.
Для сепарирования применяют свежее процеженное молоко температурой 30—40 °С. Повышение температуры отрицательно сказывается на качестве продукции, так как при этом хотя и улучшается обезжиривание, но жировые шарики дробятся, что уменьшает их способность к сбиванию при получении масла. В случае повышения температуры при очистке молока в плазме могут раствориться механические примеси.
Можно сепарировать и холодное молоко. Однако, чтобы добиться высокой степени обезжиривания, нужно примерно вдвое уменьшить производительность сепаратора.
Барабан раскручивают до рабочей частоты вращения (65 - 75 мин-1) плавно, без рывков. Оптимальную частоту вращения рукоятки определяют визуально по маслоуказателю, который при этом заполняется маслом до середины стекла. По достижении указанного значения открывают кран в молокоприемнике, и начинается процесс разделения молока.
При одной и той же производительности жирность сливок можно изменить при помощи регулировочного винта на барабане сепаратора.
Если нужны густые сливки, винт ввертывают, для получения более жидких сливок — вывертывают. Положение винта изменяют ключом.
Перед остановкой сепаратора убеждаются в прекращении выхода сливок и обрата, продолжая вращать рукоятку. Если эти продукты не поступают из приемников, то заливают в приемник молока не менее 1 л обрата для частичного извлечения из барабана остатков сливок.
После остановки сепаратора разбирают барабан, моют его горячей водой, протирают и просушивают.
Для экстренной остановки сепаратора при наличии молока в приемнике закрывают кран последнего.
Технические характеристики сепаратора-сливкоотделителя «Плава-2»
Производительность, л/ч 50
Частота вращения барабана, мин-1 (при частоте
вращения рукоятки 65—75 мин-1) 10 000+800 Число тарелок в барабане 11—13
СПИСОК ЛИТЕРАТУРЫ
-
Белехов И.П., Четкий А. С. Механизация и автоматизация животноводства. — М.: Агропромиздат,1991.,
-
Конаков А. П. Техника для малых животноводческих ферм. Тамбов: ЦНТИ, 1991.
-
Сельскохозяйственная техника для интенсивных технологий. Каталог. - М.: АгроНИИТЭИИТО, 1988.
-
Техника для малых ферм и семейного подряда в животноводстве. Каталог. —М.: Госагропром, 1989.
10















