125048 (631329), страница 6
Текст из файла (страница 6)
• генерации дополнительного излучения при воздействии измеряемого физического фактора;
• изменения отражательной или поглощательной способности при изменении показателя преломления или при нарушении полного внутреннего отражения.
В автоматизированном производстве контроль качества обработанной поверхности осуществляется с помощью датчиков шероховатости, принцип действия которых основан на рассеянии светового луча.
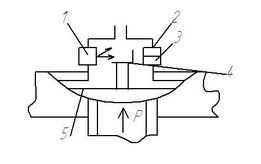
Оптические методы довольно широко используются для измерения давлений. Схема приведена на рис. 6. Между светодиодом 7 и двумя фотоприемниками 2 и 3 размещена шторка 4, перекрывающая поток излучения, который падает на один из фотоприемников 2 или 3. Шторка 4 жестко установлена на эластичной мембране 5, воспринимающей измеряемое давление. Для того чтобы произвести перекрытие светового потока между светодиодом 1 и фотоприемниками 2 и 3, достаточно перемещения шторки 4 на доли миллиметра.
Рис. 6. Схема простейшего оптического датчика давления
Общим недостатком названного способа оптического измерения скорости потока является то, что, будучи помещенными в поток жидкости, датчики вызывают возмущения этого потока. Подобных искажений удается избежать, применяя бесконтактные методы измерений, основанные на использовании лазера (применяя так называемые лазерные анемометры).
Суть лазерных методов состоит в том, что луч лазера разделяется в полупрозрачном зеркале на два луча, которые фокусируются в одной точке в пределах прозрачного участка трубопровода. Пройдя через жидкость, рассеянный ею свет попадает на фотоумножитель, где преобразуется в напряжение, пропорциональное измеряемому расходу жидкости.
21. Электромагнитные преобразователи
Основные принципы работы
Электромагнитные преобразователи представляют собой один или несколько контуров, по которым могут протекать электрические токи, находящиеся в магнитном поле.
Электромагнитные преобразователи характеризуются такими параметрами как величина и направление токов, протекающих через контур, потокосцепление и индуктивность. Выходной величиной для таких преобразователей могут быть индуктивность, электромагнитная сила и индуктируемая в контуре ЭДС.
Рис. 1. Схемы электромагнитных преобразователей
Рис. 1а – принципиальная схема индуктивного преобразователя с ферромагнитным сердечником. Индуктивность L зависит от положения сердечника, что и является входной величиной датчика. Преобразователи, выходная величина которых зависит от внешнего магнитного поля, называются магнитомодуляционными.
Рис. 1б - принципиальная схема магнитоупругого преобразователя. Под действием приложенной силы происходит деформация ферромагнитного сердечника, в результате чего изменяется его магнитная проницаемость. Такие преобразователи часто используются для измерения сил и давлений.
Рис. 1в – такие преобразователи называются магнитоэлектрическими и используются в измерительных системах электромеханических приборов.
Рис. 1г - ферромагнитный сердечник втягивается в контур (катушку) с током таким образом, чтобы индуктивность контура была минимальной. Сила втягивания при этом пропорциональна квадрату силы тока. Такие преобразователи используются в электромагнитных измерительных приборах.
Рис. 1д - показано, как применяют ферромагнитные магнитопроводы, чтобы усилить электромагнитное поле и сконцентрировать его в определенной области. Через обмотку 1 проходит переменный ток, а в рамке 2 наводится ЭДС, величина которой зависит от угла поворота этой рамки.
В промышленности применяют индуктивные преобразователи с переменной величиной зазора (для измерения перемещений от долей микрона до нескольких миллиметров), с переменной площадью зазора (для измерения перемещений до 15...20 мм) и с подвижным цилиндрическим сердечником (индуктивные преобразователи соленоидного типа для измерения перемещений до 2000 мм).
Существуют также индуктивные преобразователи трансформаторного типа. Такие преобразователи представляют собой устройства, в которых входное перемещение изменяет величину индуктивной связи между двумя системами обмоток, из которых одна питается базовым переменным током, а с другой снимается выходной сигнал.
Такой преобразователь нашел широкое применение для измерения деформаций и усилий.
Положительным качеством индуктивных преобразователей является то, что они имеют большой по мощности сигнал на выходе и могут использоваться без усилителя. Индуктивные преобразователи широко используются в устройствах активного контроля размеров обрабатываемой детали, особенно при чистовых методах обработки.
Вихретоковые и магнитоупругие преобразователи
Принцип действия вихретоковых преобразователей заключается в изменении индуктивности и взаимоиндуктивности катушек при приближении к ним проводящего тела.
Существует три типа вихретоковых преобразователей:
-
накладные (рис. 3а);
-
экранные (рис. 3б);
-
щелевые (рис. 3в).
Вихретоковый преобразователь состоит из катушки, магнитное поле которой искажается при приближении проводящей пластины или проводящего покрытия.
Подобные преобразователи используются для контроля линейных размеров и толщины тонких пластин и покрытий, а также для обнаружения внутренних дефектов и всякого рода трещин, отслоений, царапин и раковин.
Для вихретоковых преобразователей характерны относительно низкая чувствительность и наличие погрешностей, обусловленных изменениями электрических свойств проводящего тела.
Для построения датчиков неэлектрических величин в машиностроении также используется физическое явление изменения магнитной проницаемости ферромагнитных тел под действием приложенной к ним механической нагрузки (растяжение, сжатие, изгиб, кручение). На этом основано построение так называемых магнитоупругих преобразователей.
Магнитоупругие материалы характеризуются относительной упругой чувствительностью S, которая равна
Sμ=(Δ/μ)/δ
где Δ/μ — относительное приращение магнитной проницаемости; δ — механическое напряжение в ферромагнитном материале, вызвавшее данное приращение магнитной проницаемости.
Все магнитоупругие преобразователи делятся на две группы.
К первой группе относятся преобразователи, в которых измеряется магнитная проницаемость чувствительного элемента в одном направлении.
В преобразователях второй группы измеряется изменение магнитной проницаемости, происходящее сразу в двух взаимно перпендикулярных направлениях.
Магнитоупругие преобразователи используются для измерения сил, давлений, крутящих моментов. Обладают высокой надежностью, так как не содержат подвижных частей и могут измерять как статические, так и динамические нагрузки.
Вращающиеся трансформаторы и резольверы, линейные и круговые индуктосины
Устройством, служащим для преобразования угла поворота одной катушки по отношению к другой в сдвиг фазы одного переменного синусоидального напряжения по отношению к фазе другого переменного синусоидального напряжения такой же частоты, является так называемый вращающийся трансформатор.
Вращающийся трансформатор представляет собой индукционную микромашину по типу двухфазного асинхронного двигателя с фазным ротором. Синусно-косинусный вращающийся трансформатор называется также резолъвером.
Другим распространенным типом датчиков, используемых для измерения программируемых координатных перемещений в станках с ЧПУ, являются так называемые линейные и круговые индуктосины.
Линейный индуктосин состоит из двух шкал, одна из которых устанавливается на подвижном, а другая на неподвижном узлах станка.
















