125048 (631329), страница 5
Текст из файла (страница 5)
В основе работы тензорезисторов лежит явление тензоэффекта, заключающееся в изменении сопротивления проводников и полупроводников при их механической деформации. Тензорезисторы бывают разных размеров, и их минимальная длина равняется примерно 0,025 см.
Тензорезисторы закрепляются на поверхности исследуемого образца или монтируются в материал, деформация которого измеряется. Они способны измерять деформации порядка 1 мкм.
Тензорезисторы могут быть трех различных типов: проволочные, фольговые и полупроводниковые. Проволочные тензодатчики могут быть наклеиваемыми и ненаклеиваемыми, а полупроводниковые — наклеиваемыми или диффузионными.
Терморезисторы, термопары и магниторезистивные датчики
Терморезисторы — это разновидности параметрических резистивных датчиков, меняющие свое сопротивление в соответствии с изменением измеряемой температуры.
Терморезисторы бывают двух разновидностей: полупроводниковые и металлические.
Существует два способа измерения температуры с помощью терморезисторов:
-
Температура определяется окружающей средой.
2. Температура определяется условиями охлаждения терморезистора, нагреваемого постоянным по величине током. Такая схема применяется, например, для построения датчиков потока жидкости или газа, теплопроводности окружающей среды, плотности окружающего газа .
17. Пьезоэлектрические датчики
Физические явления при пьезоэффекте
Механическое воздействие, приложенное определенным образом к пьезоэлектрическому кристаллу, порождает в нем электрическое напряжение. Это явление называется прямым пьезоэффектом. И наоборот, электрическое напряжение, приложенное к пьезоэлектрическому кристаллу, вызывает его механическую деформацию, что представляет собой обратный пьезоэффект.
Пьезоэффект обладает знакочувствительностью. Пьезоэлектричество наблюдается как в монокристаллических материалах, например в кварце, турмалине, ниобате лития, сегнетовой соли и др., так и в поликристаллических материалах, например в титанате бария, титанате свинца, цирконате свинца и др.
Физические явления, происходящие при пьезоэлектрическом эффекте, рассмотрим на примере широко известного пьезокристаллического материала — кварца, как показано на рис. 1.
Чтобы получить хорошие пьезоэлектрические свойства, кварцевые кристаллы следует точно ориентировать. Природные формы кристаллов также ограничиваются простейшими конфигурациями, например пластинками или дисками.
Рис. 1. Схемы продольного (а) и поперечного (б) сжатия и сдвига (в) в кристалле кварца
Деформация ячейки не влияет на электрическое состояние вдоль оси Y. Здесь сумма поляризационных векторов в силу симметрии равна нулю.
Образование поляризационных зарядов на гранях, перпендикулярных оси X, под воздействием силы, направленной по этой оси X, называется продольным пьезоэффектом.
Эффект образования электрических зарядов на гранях, перпендикулярных механически нагружаемым, называется поперечным пьезоэффектом.
При равномерном нагружении кристалла со всех сторон (например, при гидростатическом сжатии) кристалл кварца остается электрически нейтральным. Кристалл кварца остается также электрически нейтральным при механическом нагружении, действующем вдоль оси Z, перпендикулярной осям X и Y. Эта ось называется оптической осью кристалла.
При механическом воздействии сдвига, как показано на рис. 1, в, геометрическая сумма проекций векторов Р2 и Р3 на ось X оказывается равной третьему вектору направленному вдоль оси X, и на гранях, перпендикулярных оси X, поляризационных зарядов не возникает. Однако проекции векторов Р2 и Р3 на ось Y между собой не равны, и на гранях, перпендикулярных оси У, возникает заряд.
Кроме естественных кристаллов, подобных кварцу или турмалину, для получения пьезоэффекта может быть использована также и пьезокерамика.
Конструктивные принципы построения пьезодатчиков
Достоинствами пьезоэлектрических преобразователей являются их малые габариты, надежность в работе, простота конструкции, возможность измерения переменных, в том числе высокочастотных, величин, очень высокая точность преобразования механических напряжений в электрический сигнал.
18. Эффект Холла и его использование для построения датчиков
Преобразователь, использующий эффект Холла, является преобразователем, базирующимся на магнитных эффектах, и применяется для измерения напряженности магнитного поля. Эффект Холла в разной степени имеет место у всех материалов. Сущность эффекта Холла показана на рис. 3.
Если пластина полупроводника единичной толщины помещается в магнитное поле с напряженностью В, а вдоль нее течет ток величиной I и при этом вектор напряженности электрического поля составляет прямой угол с вектором напряженности магнитного поля, то на движущиеся внутри этой полупроводниковой пластины носители заряда (электроны и ионы), образующие электрический ток, будет действовать сила, направленная вдоль плоскости их движения и перпендикулярная вектору напряженности магнитного поля. Это значит, что движение носителей заряда будет отклоняться от прямолинейного и на боковых гранях пластины возникнет разность потенциалов Uo, определяемая выражением:
U0=KHIB
Рис. 3. Эффекта Холла
С их помощью можно измерять угловые и линейные перемещения, электрические токи и др.
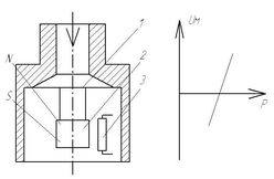
Рис. 4а – принципиальная конструктивная схема датчика давления на основе эффекта Холла.
При повышении давления Р постоянный магнит 2, размещенный на упругой мембране 1 датчика, перемещается относительно чувствительного элемента 3, основанного на эффекте Холла. В результате на обкладках датчика возникает выходное напряжение UH порядка 0,5 В, в определенных пределах пропорциональное входному перемещению. Линейная часть статической характеристики датчика показана на рис. 4б.
Рис. 4 Датчик давления, основанный на эффекте Холла
19. Емкостные преобразователи
Физические принципы построения емкостных преобразователей
Сущность работы емкостных измерительных преобразователей заключается в изменении под действием измеряемой физической величины их электрической емкости, что, в свою очередь, отражается на величине их входного сигнала.
Электрическая емкость конденсатора, образованного параллельными пластинами, определяется по формуле
С=εoεn(n-1)(A/a)
где n-число пластин; A - площадь одной стороны пластины; d — толщина диэлектрика, расположенного между пластинами; ε0, - относительная диэлектрическая проницаемость этого диэлектрика; εn - диэлектрическая проницаемость вакуума, т.е. вполне определенная константа.
Для измерений смещений менее 1 мм применяют емкостные преобразователи с изменяющимся расстоянием между пластинами. Для измерения смещений, превышающих 1 мм, чаще всего используются преобразователи с изменяющейся площадью перекрытия пластин.
Емкостные преобразователи могут быть использованы как для статических, так и для динамических измерений, но применяются главным образом в стационарных условиях для проведения стендовых исследований и прецизионных измерений физических величин.
Конструктивные принципы построения емкостных датчиков механических величин
Емкостные датчики широко применяются для измерения таких механических величин как вибрации, перемещения, скорости, ускорения, усилия, крутящие моменты и давление.
Распространенным устройством, преобразующим акустические колебания окружающей воздушной среды в соответствующие электрические сигналы, является емкостный микрофон рис. 6.
Рис. 6. Конструктивная схема емкостного микрофона
Конструктивная схема емкостного микрофона, который содержит размещенные в корпусе 1 мембрану 2 из электропроводящего материала, неподвижную пластину 3, установленную на диэлектрике 4, и демпфирующий слой 5. При изменении акустического давления мембрана 2 деформируется и изменяется ее расстояние до пластины 3. В результате происходит изменение электрической емкости микрофона, что и используется.
Конструктивные принципы построения емкостных датчиков уровня жидкости
Различают два случая: когда жидкость, уровень которой измеряется и регулируется, является диэлектриком и когда эта жидкость является проводником.
На рис. 10 изображена конструктивная схема измерения уровня жидкости, являющейся диэлектриком, с помощью емкостного преобразователя.
Рис. 10. Конструктивная схема емкостного измерения уровня жидкости-диэлектрика
Конструктивные принципы построения емкостных датчиков параметров среды
Емкостные датчики широко применяются для измерения различных параметров окружающей среды. Одним из самых важных параметров такого рода является давление жидкости или газа.
20. Оптоэлектронные преобразователи
Основные свойства оптического излучения
Оптоэлектроника сочетает в себе оптические и электронные методы измерений. На основе оптоэлектронных преобразователей созданы датчики давления, силы, перемещения, скорости, акустических параметров, напряженности электрического и магнитного полей.
Оптическое излучение представляет собой электромагнитные волны в диапазоне длин волн от 0,001 до 1000 мкм. Этот диапазон длин волн принято делить на три поддиапазона — ультрафиолетовую область, область видимого света и область инфракрасного излучения.
Для описания оптических явлений используются три системы величин: энергетическая, световая и квантовая.
Одночастотный поток называют монохроматическим.
Если волны отдельных излучений, из которых состоит поток, находятся в одной и той же фазе по отношению друг к другу, то такой поток называют когерентным.
Когда световой поток проходит через границу раздела двух сред, то его направление меняется, происходит так называемое преломление света
Существует два основных метода измерения параметров оптического излучения: метод радиометрии и метод фотометрии.
Метод радиометрии позволяет определять энергию оптического излучения путем ее поглощения и преобразования в соответствующем датчике с последующим определением изменения температуры.
Метод фотометрии основан на зрительном ощущении изменений видимого света, и основным чувствительным элементом в этом случае является человеческий глаз.
Источники и приемники излучения
Естественным источником светового излучения является солнце. Широко применяются лампы накаливания с вольфрамовой нитью.
В настоящее время все более широкое применение получают лазерные источники излучения. Лазеры бывают газовыми, твердотельными и полупроводниковыми. Наибольшее распространение получили газовые лазеры, характеризующиеся монохроматичностью и поляризованностью излучаемого ими когерентного света.
Приемники излучения можно разделить на две группы: интегральные и селективные. К интегральным относятся приемники излучения, базирующиеся на преобразовании энергии излучения в температуру независимо от длины его волны. К селективным относятся фотоэлектрические преобразователи, настраиваемые на ту или иную определенную длину волны излучения. К ним относятся преобразователи, использующие явления внутреннего и внешнего фотоэффекта: фоторезисторы, фотодиоды, вакуумные и газонаполненные фотоэлементы, фотоумножители и т.п.
Существуют приемники излучения, выполненные в виде полоски из двух различных металлов, образующих термопару. Существуют также приемники излучения, выполненные в виде полоски или стержня из металла или полупроводника, который изменяет свое сопротивление в зависимости от температуры (болометр).
Волоконная оптика
В качестве источников света чаще всего используют светодиоды и полупроводниковые лазеры, а в качестве приемников — полупроводниковые фотодиоды.
В основе передачи светового сигнала по оптическому волокну лежит явление полного внутреннего отражения.
Основные конструктивные схемы оптоэлектронных преобразователей
В механообрабатывающем производстве и в соответствующих исследованиях наиболее удобно применять амплитудную модуляцию оптического излучения.
Может быть осуществлена за счет:
• ослабления светового сигнала в среде при изменении коэффициента поглощения;
• изменения поперечного сечения оптического канала;
















