123024 (631321)
Текст из файла
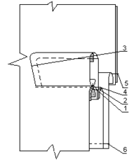
1. В виде сборочных схем представьте сравнительную характеристику методов обработки бокового прорезного кармана с двумя обтачками в зависимости от вида одежды (пальто, пиджак, брюки, легкое платье) и используемых материалов.
Карманы намечают тремя линиями (одной вдоль и двумя поперек в концах кармана). В карманах, в которых обтачки притачивают сложенными вдвое, карманы размечают четырьмя линиями (двумя вдоль и двумя поперек). Расстояние между продольными линиями равно удвоенной ширине двух рамок (в готовом виде).
Карман в пальто обрабатывается так, чтобы толщина ткани не пролегала, подзор притачивается на подкладки, используются доливики.
В пиджаке так же используют доливика, но обтачки можно использовать сложенные вдвое, т.к. ткань тоньше.
В брюках доливики не используются, а срезы все закрываются подкладкой, подзор можно настрочить на подкладку.
В платьях доливики не используются, вместо подкладочной ткани в мешковине используют основную ткань, верхний срез можно закрыть бейкой из подкладки, обтачки складываются вдвое.
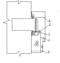
2. В виде сборочных схем представьте сравнительную характеристику методов обработки боковых и верхних прорезных карманов с листочками в мужской верхней одежде с учетом свойств ткани (волокнистого состава, толщины и др.).
В изделиях из толстых и рыхлых тканей к переду притачивается только наружная часть листочки, а к внутренней притачивается мешковина, вторую часть мешковины притачивают к переду. Концы листочки настрачивают перед одной или двумя строчками, или пришивают потайными стежками.
В изделиях из тонких тканей, концы листочки могут быть втачными, при такой обработке нужен подзор из основной ткани, концы листочек не обрабатывают.
3. В виде сборочных схем представьте различные способы обработки накладных карманов в женской верхней одежде в зависимости от конструкции и вида материала.
В изделиях из тонких материалов карманы обрабатывают без подкладки, из костюмных и пальтовых тканей с подкладкой.
Верхний край кармана обрабатывается в зависимости от формы, прямой - простой подгибкой или листочкой, фигурный – обтачкой, можно настрочить на карман паты, клапаны в зависимости от модели, можно обработать подрезы и складки.
4. В виде сборочных схем представьте различные способы обработки боковых карманов мужских брюк. Охарактеризуйте особенности их обработки с учетом свойств ткани (волокнистого состава, толщины и др.).
Возможна обработка боковых карманов с применением обметочного оборудования или в чистый край (в более дорогих изделиях).
В зависимости от ткани применяются разные обработки, в более плотных тканях все припуски разутюживают. В изделиях из сыпучих тканей срезы окантовывают или обтачивают.
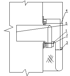
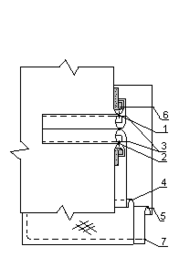
5. В виде сборочных схем представьте различные способы обработки задних карманов мужских брюк. Укажите отличительные особенности их обработки.
Обработка заднего кармана брюк аналогична обработке прорезного кармана, только без доливика, доливиком служит мешковина, нить основы в мешковине должна проходить поперек детали. Мешковина карманов обрабатывается так, чтобы лицевая сторона ткани была обращена на изнанку брюк, а не внутрь кармана.
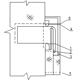
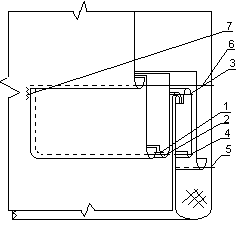
6. В виде сборочных схем представьте способы обработки основных видов внутренних карманов в мужской верхней одежде. Укажите особенности обработки внутренних карманов.
Внутренние карманы в мужских пиджаках обрабатывают в подкладке до ее соединения с верхом, наиболее распространенными являются карманы в рамку с обтачками из основной ткани. Карманы, возможно, обработать как непосредственно на подкладке, так и в выступе подборта, в этом случаи подборт окантовывают, а карман обрабатывают как обычно. Листочки и обтачки могут быть как из подкладки, так и из основной ткани. Возможны так же накладные карманы, которые просто настрачивают на подкладку.
7. Дайте сравнительную характеристику методов обработки и сборки бортовой прокладки в зависимости от применяемой технологии, вида одежды, особенностей конструкции изделий. Дайте рекомендации по выбору пакетов материалов для предложенных технологий обработки.
Бортовая прокладка в верхней одежде служит каркасом для переда, обеспечивает сохранение формы переда во время носки, отвесное положение бортов, прочность пришивки фурнитуры.
В качестве прокладок применяют нетканые материалы, ткани с п/э порошковым покрытием, клеевую х/б ворсованную ткань разреженной структуры.
Прокладки могут состоять из одного, двух, трех слоев.
В изделиях с отлетной подкладкой срезы прокладки обметывают. В мужских изделиях помимо основной части, плечевой накладки применяют накладку и столбик из волосяной ткани в области груди и полоску под петли.
Б/п отличаются по своей конструкции в зависимости от конструкции изделия, могут быть с вытачками или рельефными швами. Различные материалы для б/п подбирают в зависимости от материала верха, чем плотнее ткань тем плотнее материалы б/п.
Соединение переда с б/п выполняют ручным способом либо на спец машине, без натяжения и ослабления ткани верха. Вытачки, рельефные швы прикрепляют к бортовой прокладке машинным или ручным способом.
Также используют клеевой способ соединения с помощью утюга или пресса со специальными подушками (в более тонких тканях).
В изделиях с застежкой до верху лацканы не стегают. При обработке бортов в чистый край дополнительно для более прочного закрепления края во время стежки лацканов прокладывают строчку вдоль борта длиной 5-5см, для прикрепления б/п к переду.
Сборка бортов в изделиях из тканей с повышенным содержанием лавсана применяется только машины беспосадочного шва, а по краю бортов используют не кромку, а коленкоровую прокладку, которую заранее настрачивают на б/п, обтачивание бортов производят вместе с б/п, б/п заранее высекают из края борта на 0,9см
8. В виде сборочных схем представьте различные способы обработки бортов в пальто в зависимости от вида застежки, свойств материала верха и наличия отделочной строчки.
В обработке бортов различают в чистый край, с отделочной строчкой, с цельновыкроеным подбортом. Борта без отделочной строчки можно закрепить либо клеевой паутиной, либо вспушкой, можно так же настрочить шов притачивания на подборт. По виду застежек борта различают: с потайной застежкой, с воздушными петлями, двубортная и однобортная застежки, В двубортной застежке борт обрабатывается более широким подбортом, в застежке с воздушными петлями, сначала обтачивают петли, соединяют их с бортом, а потом его обтачивают подбортом, в потайной застежке подборт обрабатывают особым способом.
9. Охарактеризуйте основные отличительные особенности обработки и соединения с изделием воротников в мужской и женской верхней одежде. Приведите сборочные схемы обработки воротников в мужских пиджаках и пальто с учетом свойств материалов.
Для обработки воротников в мужских изделиях в качестве нижнего воротника в пиджаках применяют нетканые материалы, они хорошо формуются, что дает возможность при незначительных затратах времени на ВТО придать воротнику форму, обеспечивающую хорошую посадку на фигуре. В качестве прокладки нижнего воротника применяют термоклеевую бортовую прокладочную ткань, прокладка выкраивается меньше н.воротника по отлету и концам на 0,5см и по линии раскепа на 1см. Дополнительную клеевую прокладку выкраивают из клеевого коленкора в виде полоски, проходящей вдоль линии втачивания воротника в горловину раскепов, полоска не доходит до концов воротника на 0,5см, ширина полоски 2,5-3см. Соединяют в.воротник с н.воротником по отлету накладным швом, настрачивая н.воротник на верхний с помощью зигзагообразной строчки ш-ш=1см, концы можно обработать обычной строчкой, шов в.воротника подрезают, концы выправляют, настрачивают зигзагом на н.воротник.
Для обработки воротников в женских изделиях, н.воротник дублируют термоклеевым материалом или выстегивают х/б тканью (прокладка меньше воротника), н.воротник соединяют с в.воротником лицевыми сторонами. И обтачивают по концам и отлету (Ш-0,5-0,7см), строчка не должна заходить на прокладку воротника, при обтачивании в.воротник посаживают в углах, шов обтачивания разутюживают, в толстых материалах высекают оставляя припуск 0,2-0,3см, воротник выворачивают, настрачивают шов обтачивания на н.воротник по отлету если нет отделочной строчки или прокладывают клеевую паутинку, настрачивают на шов обтачивания углы воротника выправляют, выметывают образуя кант из в.воротника ш-0,1-0,2см, приутюживают на прессе. В изделиях из х/б и шелковых тканей, края воротника строчат без предварительного выметывания; строчку выполняют после соединения воротника с изделием.
При соединении воротников с изделием, сначала соединяют плечевые срезы изделия. В зависимости от ткани можно использовать соединение накладным швом (в толстых тканях и в мужских изделиях), стачным швом в (тонких и костюмных тканях).
Накладным швом - в воротник складывают с подбортами лицевыми сторонами внутрь притачивают к подбортам, швы раскепов разутюживают, нижний воротник накладывают на изделие по намеченным линиям и настрачивают строчкой зигзаг. На перед н.воротник настрачивают вместе с бортовой прокладкой, а на спинке – с притачной к ней полоской ткани, в.воротник приметывают к нижнему, создавая припуск на сгиб стойки, швы соединения в.воротника с подбортами прикрепляют к шву горловины строчкой или клеевым способом. Н.воротник в остальной ее части настрачивают на горловину строчкой зигзаг.
Стачным швом- В.воротник притачивают к подбортам по линии раскепов. Н.воротник втачивают в горловину изделия ш-ш-0,7-1 см, швы раскепов и втачивания н.воротника в горловину разутюживают. В.воротник приметывают к нижнему, притачивают в.воротник к правому подбоорту так же как и к левому, раскепы стачивают со стороны воротника, н.воротник втачивают в горловину со стороны н.воротника, края бортов и воротников выметывают, образуя где нужно кант.
Характеристики
Тип файла документ
Документы такого типа открываются такими программами, как Microsoft Office Word на компьютерах Windows, Apple Pages на компьютерах Mac, Open Office - бесплатная альтернатива на различных платформах, в том числе Linux. Наиболее простым и современным решением будут Google документы, так как открываются онлайн без скачивания прямо в браузере на любой платформе. Существуют российские качественные аналоги, например от Яндекса.
Будьте внимательны на мобильных устройствах, так как там используются упрощённый функционал даже в официальном приложении от Microsoft, поэтому для просмотра скачивайте PDF-версию. А если нужно редактировать файл, то используйте оригинальный файл.
Файлы такого типа обычно разбиты на страницы, а текст может быть форматированным (жирный, курсив, выбор шрифта, таблицы и т.п.), а также в него можно добавлять изображения. Формат идеально подходит для рефератов, докладов и РПЗ курсовых проектов, которые необходимо распечатать. Кстати перед печатью также сохраняйте файл в PDF, так как принтер может начудить со шрифтами.
















