123024 (631321), страница 2
Текст из файла (страница 2)
10. В виде сборочных схем дайте характеристику обработки и соединения с изделием воротников в женской верхней одежде с учетом возможных конструктивно – технологических решений (пиджачного типа, шаль, стойка).
-
Обработка воротника Шаль
Продублировать нижний воротник, подборта, верхний воротник.
Нижний воротник втачать в горловину, швы разутюжить.
Верхний воротник притачать к подбортам, швы разутюжить.
Борта и воротник обтачать одновременно, швы разутюжить.
-
Обработка воротника Пиджачного типа.
В изделиях из тонких тканей, без подкладки:
Продублировать нижний воротник.
Соединить нижний и верхний воротники и обтачать.
Обтачать борта подбортами, до горловины.
Втачать нижний воротник в горловину.
Притачать верхний воротник к подбортам.
Швы втачивания нижнего воротника и притачивания верхнего воротника от концов до плечевых швов разутюжить, остальную часть шва горловины заутюживают в сторону нижнего воротника.
Швы соединения в/воротника с подбортами прикрепить к шву втачивания нижнего воротника.
Край стойки воротника между плечевыми швами подгибают внутрь и настрачивают на расстоянии 1-2 мм от края.
-
Обработка воротника Стойка
Обработать стойку (продублировать и обтачать).
Н/воротник лицевой стороной сложить с изнанкой изделия, совмещая надсечки, втачать со стороны н/воротника швом ш-1см.
Шов отогнуть в сторону воротника.
Срез в/воротника подогнуть внутрь на 9мм и настрочить на расстоянии 1мм от сгиба, закрывая шов втачивания.
Проложить по краю воротника отделочную строчку.
.
11. Представьте различные способы обработки низа рукавов в верхней одежде швом в подгибку, шлицами, манжетами.
Низ рукавов обрабатывают с клеевыми (в изделиях из плащевых или х/б тканей) или неклеевыми прокладками из нетканых материалов (флизелина) или х/б ткани (бязи, коленкора) и без прокладок.
12. Дайте общую характеристику возможных конструктивно – технологических решений обработки подкладки и соединения её с верхом в женской верхней одежде. В виде сборочных схем представьте различные способы соединения подкладки и утепляющей прокладки с верхом по борту, низу изделия, низу рукава, воротнику.
При обработке подкладки в женских изделиях, обрабатывается вешалка или применяется спец. лента, обрабатываются внутренние карманы боковые вытачки на переде стачивают, начиная от пройм, срезы спинки стачивают начиная от горловины, в изделиях с притачной подкладкой по среднему шву спинки оставляют не стаченый участок длиной 30-35см, на расстоянии 1-15см от горловины. Стачивают боковые срезы, совмещая надсечки, при необходимости в правый боковой срез вставляют полодержатель, притачивают подкладку к подбортам, стачивают плечевые срезы, посаживая спинку, в изделиях с отлетной подкладкой без утеплителя срезы обметывают. Подкладку уточняют по низу, в изделиях со шлицей прорезают отверстие для шлицы. Подкладку рукавов втачивают в проймы подкладки. Соединяется верхний воротник с подкладкой, вставляя вешалку. Обрабатывают низ подкладки и шлица.
13. Дайте общую характеристику возможных конструктивно – технологических решений обработки подкладки и соединения её с верхом в мужской верхней одежде. В виде сборочных схем представьте различные способы соединения подкладки и утепляющей прокладки с верхом по борту, низу изделия, низу рукава, воротнику.
Перед соединением подкладки в мужских изделиях задние плечевые накладки приметывают к верху. Существует несколько способов соединения подкладки с верхом;
-
машинный способ соединения подкладки с верхом по бортам, низу и шлице до соединения плечевых срезов.
-
Комбинированный способ, при индивидуальном изготовлении изделий, т.е. с обработкой нижних углов подкладки вручную (при наличии отделочной строчки по низу изделия). Подкладку притачивают к подбортам, к припуску на подгиб низа, на обработку сторон шлицы, не доходя до низа на 2-2,5см, подкладку вывертывают, приметывают к верхнему воротнику по проймам к рукавам, плечевым срезам, в непритаченных углах бортов и шлицы подкладку заметывают подшивочными стежками.
-
Подкладку к бортам притачивают на машине, а по низу, боковым швам и сторонам шлицы – подшивают вручную. Боковые срезы подкладки пришивают к боковым швам верха за срез спинки, отступив от проймы и не доходя до низа 8-10см. Подгибают внутрь и подшивают срезы подкладки спинки по шлице. Нижний срез подкладки уравнивается, подгибается и подшивается к припуску по низу изделия.
14. Укажите отличительные особенности изготовления мужских сорочек. В виде сборочных схем представьте прогрессивные методы обработки всех узлов мужских сорочек.
Обработка каждой мужской сорочки зависит от количества деталей, их формы, видов отделок. Для типовой технологии обработки характерна такая последовательность:
-заготовка деталей воротников, манжет, карманов, других мелких деталей
-обработка переда
-обработка спинки
-обработка рукавов
-стачивание плечевых срезов
-соединение воротника с горловиной
-втачивание рукавов в проймы
-соединение манжет с рукавами
-застрачивание низа сорочки
-обметывание петель
-пришивание пуговиц
-ВТО
15. Представьте прогрессивные методы обработки всех узлов женских платьев.
Женское платье различают как по ассортименту, так и по конструкции деталей, всевозможно применяются отделки. Обработка основных деталей состоит из обработки срезов и вытачек, выполнения различных швов, соединения частей основных деталей, обработки отделочных деталей и их соединение с основными деталями. Соединение осуществляют стачным швом вразутюжку или взаутюжку с обработкой срезов различными способами в зависимости от вида ткани. Срезы обрабатывают в крое или после соединения деталей. Часто применяют окантовывание срезов, в качестве отделки.
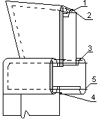
16. В виде сборочных схем представьте различные методы ремонта бортов в верхней одежде в зависимости от степени износа. По предложенной модели женского пальто определите степень износа изделия и укажите наиболее рациональный метод ремонта при заданной степени износа. ( Добавить типы степени износа)
Ремонтируют борта путем обтачивания их после предварительной обрезки изношенного края вдоль всей линии борта. При значительной степени износа края борта обрабатывают различными планками или фасонными вставками из отделочных материалов. Обтачные петли ремонтируют вновь выкроенными обтачками.
Степени износа:
-повреждение края борта (переобтачать борт, но уменьшится величина полузаноса! Или окантовать предварительно срезав край борта)
-повреждение края борта и области петель (поврежденную часть планкой или фасонной вставкой, заново обметать петли)
-повреждение обтачных петель( удалить износившиеся обтачки, заново обработать петли новыми обтачками)
-повреждение подборта(замена его полностью)
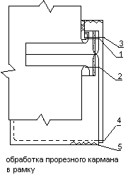
17. В виде сборочных схем представьте различные методы ремонта воротников в верхней одежде в зависимости от степени износа. По предложенной модели мужского пальто определите процент износа изделия и укажите наиболее рациональный метод ремонта при заданной степени износа. ( Как определяется процент износа)
Изношенную стойку воротника заменяют новой из отделочного материала или близкого к основному.(40-50% износа) Изношенный отлет и концы воротника можно обновить, подокнув изношенный отлет внутрь воротника, тем самым укоротив сам воротник если это не возможно то можно настрочить бейку или окантовать его тесьмой,(20-30%износа) при сильном износе воротника, его верхнюю часть лучше заменить воротником из отделочной ткани или близкой к основной.(70-80%износа). Если воротник пострадал полностью его заменяют (100% износа) .
Процент износа определяется условно, исходя из трудоемкости процесса ремонта, а так же использования дополнительных материалов, для замены изношенных участков.
18. В виде сборочных схем охарактеризуйте методы обработки основных узлов в межсезонной одежде.
19. Кратко охарактеризуйте факторы, влияющие на выбор методов обработки и оборудования при изготовлении изделий из трикотажа. Для предложенных эскизов выберите соответствующие трикотажные полотна и методы обработки воротников и застежек. Укажите оборудование для соединения основных деталей каждого из предложенных изделий. (Нарисовать методы обработки воротников и застежек в различных изделиях, указать виды трикотажных полотен для каждого вида изделия)
Выбор методов обработки обусловливается :
-конструкцией изделия
-свойствами трикотажа
-имеющимся оборудованием и приспособлениями
-технологическими режимами и параметрами обработки
-модельными особенностями
Необходимо руководствоваться:
-задачей получения изделий высокого качества
-повышения производительности труда
-наиболее рациональным использованием полотна (ширина швов, величина подгибки, обрезки срезов деталей)
Оборудование:
308 кл- цепные четырехниточные краяобметочные стежки (закрутка)
508М кл- цепные пятиниточные краяобметочные стежки
1276, 1276-1, 1276-2 кл – одноигольные, двухниточныее цепные стежки, для стачивания
1022, 97, 97-а Кл- челночная строчка ( обычная стачивающая машина)
525кл – полуавтомат для выметывания петель
95кл- п/автомат для пришивания пуговиц
876,1076, 1076-1 кл – двух игольные плоскошовные с плоской платформой (подшивка низа)
Виды трикотажных полотен
















