168846 (625207), страница 5
Текст из файла (страница 5)
Электротермическая возгонка фосфора сопровождается образованием больших количеств огненно-жидких шлаковых расплавов, содержащих в среднем 38 – 43% SO2, 2 – 5% Аl2О3, 44 – 48% СаО, 0,5 – 3% Р2О5, 0,5 – 1,0% МgО, 0,5 – 1,0% Fe2О3 и другие компоненты. Только на Чимкентском производственном объединении «Фосфор» их образуется около 2 млн. т/год. Решение проблемы рациональной утилизации фосфорных шлаков является задачей большой государственной важности. Однако оно осложняется особенностями химического состава таких шкалов. Присутствие в них фтора (примерно до 3,6% в виде СаР2), фосфора (примерно до 3,6% в виде Р2О5), серы не дает возможности непосредственно применить для утилизации этих шлаков ряд методов, используемых, в частности, при переработке доменных шлаков. В этой связи в нашей стране были проведены исследования, направленные в основном на переработку фосфорных шлаков в строительные материалы и изделия из них: разработаны процессы получения гранулированных шлаков, шлакового щебня, шлаковой пемзы, минеральной ваты, литых и других строительных изделий и материалов. Использование электротермофосфорных шлаков в стране с этими целями превышает 2 млн. т/год.
Учитывая необходимость утилизации фтора, который в печном процессе в основном переходит в шлак, и применения гранулированного шлака, в ряде случаев целесообразно проводить гидротермическую обработку расплавленных шлаков непосредственно после их получения. Химические реакции, протекающие при взаимодействии расплавленных шлаков с водой или водяным паром, схематично могут быть представлены следующими уравнениями:
CaF2 + H2O + SiO2 2HF + СаО. SiO2,
Ca3P2 + 3H2O + 3SiO2 2РН3 + 2 СаО. SiO2,
СаS + Н2О + SO2 Н2S + СаО. SiO2, (6)
Кроме того, в таких процессах содержащийся в шлаке фосфор образует с кислородом воздуха Р2О5, дополнительные количества которого получаются, возможно, еще и при окислении РН3.
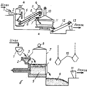
Рис. 7. Схемы производства шлаковой пемзы: a – вододутьевым способом: 1 – шлаковый желоб электропечи; 2 – струйный вододутьевой аппарат; 3 – экран; 4 – газоотводные трубы; 5 – газосборная камера; 6 – пластинчатый конвейер; 7 – валковая дробилка; 8 – наклонная галерея; 9 – разгрузочная камера; 10 – воздуховод; 11 – чашевый охладитель; 12 – транспортер; 13 – приемный бункер дробильно-сортировочного узла; б – бассейновым способом: 1 – шлаковый ковш; 2 – шлаковый желоб; 3 – гидрозатвор; 4 – толкатель; 5 – стационарный бассейн; 6 – откидная стенка; 7 – газосборная камера; 8 – отводная труба; 9 – приямок для шлаковой пемзы; 10 – грейферный захват; 11 – приемный бункер дробильно-сортировочного узла
Перечисленные процессы протекают, например, при переработке расплавленного фосфорного шлака в шлаковую пемзу с применением струйных вододутьевых аппаратов. Для проведения данного процесса не требуется разработки новой аппаратуры, так как для этой цели можно использовать оборудование, проверенное и применяемое при переработке доменных шлаков.
Вспучивание расплавленных фосфорных шлаков для производства шлаковой пемзы вододутьевым способом может быть организовано на установках, выполненных в различных вариантах. Схема одной из таких установок показана на рис. 7, а.
Расплавленный шлак дробят струей воды под давлением в вододутьевом аппарате и дополнительно разрушают при ударе об экран, после чего он попадает на настил пластинчатого конвейера, где вспучивается в результате выделения газов и охлаждается. Застывшие горячие куски шлака конвейером подают в дробилку, где их измельчают примерно до размера 100 мм, После этого шлак охлаждают в чашевом охладителе и транспортером передают на последующую переработку. Выделяющиеся при вспучивании шлака газы отводят из газосборной камеры и галереи через газоотводные трубы.
Наиболее легкую шлаковую пемзу получают при переработке расплавленных шлаков бассейновым способом. Однако сложность герметизации опрокидных бассейнов существующих типов и отвода выделяющихся в них газов и паров заставляет отказаться от их применения для переработки фосфорных шлаков. Для этой цели требуются бассейны иных типов. Так, на рис. 7, б представлена схема получения шлаковой пемзы с применением стационарного бассейна с толкающим разгружателем.
Производство шлаковой пемзы бассейновым способом является высокоэффективным процессом переработки фосфорных шлаков. Экономическая эффективность использования 1 т шлаков в виде шлаковой пемзы по сравнению с керамзитом составляет 10 руб. Вододутьевой способ еще эффективнее.
Гранулированные фосфорные шлаки можно использовать как активную минеральную добавку к цементной шихте до 15%. Их применение в цементной промышленности позволяет снизить расход топлива на 6–7%. Шлакопортландцемент на основе фосфорных шлаков интенсивнее приобретает в изделиях: прочность, которая превышает прочность обычных цементов. Экономическая эффективность замены производства 1 т цементного клинкера производством 1 т гранулированного шлака ориентировочно составляет 7,65 руб. Экономически целесообразным являются и производства из фосфорных шлаков шлакового щебня, минеральной ваты, шлакоситалловых и других изделий.
Использование фосфорных шлаков, таким образом, позволяет повысить рентабельность основного производства и получить дополнительную продукцию без затраты дорогого и дефицитного сырья. При полной утилизации получаемых в стране фосфорных шлаков народному хозяйству может быть обеспечена ежегодная экономия в размере не менее 2 млн. руб.
Возможные пути утилизации фосфорных шлаков не ограничиваются перечисленными направлениями. В США, например, фосфорные шлаки используют для известкования почв. В связи с важностью извлечения редкоземельных элементов при переработке фосфатного сырья в последние годы значительное внимание уделяется вопросам химической переработки фосфорных шлаков с получением ряда ценных продуктов и концентратов редкоземельных элементов.
При выщелачивании шлаков электротермического производства фосфора из апатитового сырья азотной кислотой, например, может быть получен дисперсный диоксид кремния и раствор нитрата кальция, перерабатываемый в известково-аммиачную селитру, используемую в качестве удобрения, с одновременным получением соединений редкоземельных элементов их экстракцией трибутилфосфатом и реэкстракцией водой с последующим осаждением аммиаком в виде гидроксидов. Обработка таких шлаков соляной кислотой обеспечивает возможность получения концентрата редкоземельных элементов, наряду с производством высокочнстого диоксида кремния и товарного хлорида кальция. Проведенные экономические расчеты указывают на возможность существенного увеличения эффективности использования в этих случаях исходного фосфатного сырья. [2]
Комплексное использование фосфатного сырья
Выше отмечалось образование больших масс отходов в процессах обогащения фосфатных руд. Например, на 1 т апатитового концентрата в настоящее время получают 0,6–0,7 т нефелинового концентрата. Одним из важнейших путей утилизации таких отходов является их комплексная переработка в соответствии с разработанной в СССР технологией, обеспечивающей получение ряда ценных и дефицитных продуктов: соды, поташа, цемента, глинозема.
В соответствии с этой технологией нефелиновый концентрат в порошкообразном виде спекают с известняком или мелом:
(Na, К)2О + А12О3. nSiO2 + 2СаСО3 Na2О. К2О. А12О3 +n (2СаО. SiO2) + 2СO2
При последующем выщелачивании спека водой образовавшиеся алюминаты натрия и калия переходят в раствор. Затем водную пульпу подвергают фильтрованию от нерастворимых силикатов кальция, которые направляют в цементное производство, а фильтрат, содержащий N338103, – на автоклавное обескремнивание при давлении 0,6 – 0,7 МПа.
Образующийся осадок после дальнейшего отстаивания пульпы в сгустителе в виде шлама возвращают на спекание, а осветленный раствор подвергают карбонизации газами печей спекания.
Для получения глинозема осадок А1 (ОН)3 отфильтровывают и подвергают кальцинации. В фильтрате (карбонатных щелоках) кроме Nа2СО3 и К2СО3 содержится определенное количество К2SО4 и бикарбонатов натрия и калия, что обусловлено присутствием SO2 в газах печей спекания и режимом процесса карбонизации. Для предотвращения коррозии аппаратуры кислые соли при помощи гидроксида натрия (каустической соды) переводят в углекислые.
Для получения нужного количества щелочей часть карбонатных щелоков подвергают каустификации. Отфильтрованный и промытый шлам, полученный при каустификации, направляют на спекание. Содержащиеся в карбонатных щелоках соли выделяют затем методом политермического разделения, основанным на их различной растворимости при разных температурах (рис. 8).
Карбонатный щелок, нейтрализованный щелочью (для перевода кислых солей в нейтральные), после карбонизации для освобождения от остатков Аl2О3 и выделения осажденного Аl(ОН)3 подают на I стадию упаривания, где из него выделяется 25 – 30% соды. После отделения кристаллов соды маточник №1 смешивают с маточником №2, получаемым на стадии упаривания, и этот раствор охлаждают до 35 °С. В процессе охлаждения в осадок выпадает К2SО4, который затем отделяют от раствора, поступающего на II стадию упаривания, в результате которой выделяют остальные 70–75%. имевшейся в карбонатном щелоке соды. Отделенные на обеих стадиях упаривания осадки соды смешивают и обезвоживают.
Часть маточника №2, не пошедшую на смешение с маточником №1, подают на III стадию упаривания, в результате которой кристаллизуется смесь двойной соли К2СO3. Nа2СО3, Nа2СО3 и К2SО4. Осадок отделяют от суспензии и передают на растворение в нейтрализованном карбонатном щелоке, а жидкую фазу охлаждают для выделения КгСО3-1,5Н2О, который затем отфильтровывают и высушивают. Маточник №3 возвращают на III стадию упаривания и частично выводят из системы в виде поташного раствора (50% К2СO3).
Эксплуатационные затраты на получение перечисленных; продуктов по описанной технологии на 10–15% меньше затрат при раздельном их производстве. Кроме того, при определенных условиях может быть исключен сброс производственных сточных вод.
Разработан и безупарочный способ переработки карбонатных щелоков, при котором путем их карбонизации и высаливания аммиаком можно выделить в осадок в виде NаНСО3 до 97% Nа2СО3 и до 85% К2SО4. Кроме того, по этому способу получается аммиачная вода, являющаяся жидким удобрением.
Значительный интерес представляет разработка процессов совместной переработки нефелина и фосфогипса. В этом случае наряду с получением глинозема, цемента, соды и поташа может быть выделен SО2 с дальнейшим использованием его для получения серной кислоты или серы. Суть процесса может быть выражена уравнением
(Na, К)2О. Аl2O3. 2SiO2 + 2СaSO4 (Na, К)2О. Аl2O3 + 2CaSiO3 + 2SO2 + O2
Наряду с этим могут быть получены цемент и сульфаты калия и натрия. Таким образом, замена известняка на фосфогипс в процессе комплексной переработки нефелина может позволить не только комплексно использовать апатитовое сырье, но и способствовать утилизации твердых отходов производства экстракционной фосфорной кислот [1, 6].
Рис. 8. Схема переработки карбонатного щелока из нефелина
6. Использование отходов пластмасс путем повторной переработки
При всем многообразии способов утилизации промышленных отходов пластмасс и применяемого при этом оборудования общая схема процесса может быть представлена следующим образом:
Предварительная сортировка и очистка измельчение
отмывка и сепарация классификация по видам сушка
конфекцирование и грануляция переработка в изделия
Первая стадия обычно включает сортировку отходов по внешнему виду, отделение непластмассовых компонентов. Вторая стадия – одна из наиболее ответственных в процессе. В результате одно- или двухстадийного измельчения материал достигает размеров, достаточных для того, чтобы можно было осуществлять его дальнейшую переработку.
На следующем этапе дробленый материал подвергают отмывке от загрязнений различными растворителями, моющими средствами и водой, а также отделяют от неметаллических примесей.
Четвертая стадия зависит от выбранного способа разделения отходов по видам пластмасс. В том случае, если отдается предпочтение мокрому способу, сначала производят разделение, а затем сушку. При использовании сухих способов вначале дробленные отходы сушат, а затем уже классифицируют. Высушенные дробленые отходы смешивают при необходимости со стабилизаторами, красителями, наполнителями и другими ингредиентами и гранулируют.
Заключительной стадией процесса использования отходов является переработка гранулята в изделия.
Рис. 9. Схема регенерации пластмассовых отходов: 1 – конвейер для подачи мешков; 2 – дробилки; 3 – воздушный классификатор; 4 – магнитный сепаратор; 5 – промыватель; 6 – конвейер; 7 – центробежные сушилки; 8 – мельница; 9 – экструдер; 10 – таблетирующее устройство; 11 – бункер для таблеток.
На установке в г. Фунабаси (рис. 9) пластмассовые отходы, содержащие до 10% каучука, металла, стекла и других материалов, конвейером / подают на дробилку 2. Измельченные отходы промывают и пневматическим транспортом направляют в воздушный классификатор 3, где отделяется около 3% тяжелых отходов. Далее отходы дополнительно измельчают в дробилке второй ступени и продувают через магнитный сепаратор 4 для удаления оставшихся металлов. Затем измельченные отходы промывают водой и детергентами и сушат в центробежной сушилке 7. Высушенные отходы перемешивают в турбинной мельнице 8 для предотвращения комкования и подают в экструдер 9, где с помощью таблетирующего устройства 10 материал превращается в таблетки [7, 8].
















