168577 (625143), страница 3
Текст из файла (страница 3)
Аппараты второго типа имеют ротор с отверстиями, через которые запыленный газ просасывается в радиальном направлении к оси ротора. Частицы пыли вследствие действия центробежной и кориолисовой сил не могут пройти через отверстия ротора в центральную зону аппарата, отбрасываются на периферию и оседают в пылесборном бункере. К таким аппаратам относятся центробежные пылеотделители Грищенко, Розенкранца и Пречистенского. Недостатками этих аппаратов являются их энергоемкость и высокие окружные скорости ротора, которые необходимы для отделения частиц мельче 10 мкм.
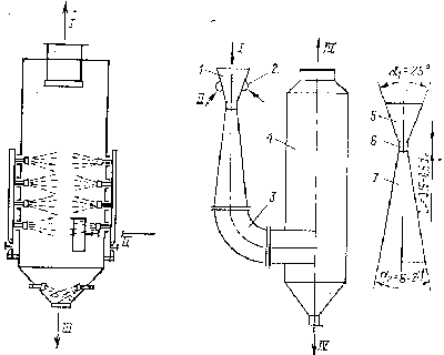
К ротационным аппаратам условно можно отнести вентилятор-пылеуловитель с очисткой газов в спиральной коробке (рис. 11), предназначенный для сухой очистки воздуха от пыли с > 15 мкм. Его также называют дымосос - золоуловитель, так как он находит применение для очистки отходящих газов малых котельных.
Запыленный газ через патрубок 11 поступает и спиральный пылеуловитель 5. В результате криволинейного движения пыль концентрируется в периферийной зоне улитки, откуда через поперечную щель и патрубок 8 отводится вместе с 15 – 19% газа в выносной циклон 9, где окончательно улавливается и скапливается в бункере 10. Из циклона очищенный газ возвращается во входной патрубок 7 крыльчатки 6, установленной для обеспечения необходимого расхода рециркулируемого газа. Перед рабочим колесом 2 дымососа 3 находится радиальное направляющее устройство 4. Крыльчатка 6 и рабочее колесо дымососа установлены на одном валу 1. Регулировка производительности дымососа осуществляется односторонним клапаном 12, смонтированным во входном патрубке 11 спирального пылеуловителя 5 [4].
3. Мокрые пылеуловители
3.1 Циклоны с водяной пленкой
В сухих циклонах частицы пыли, отброшенные под воздействием центробежной силы к стенкам аппаратов, могут быть вынесены наружу вследствие радиального стока, поперечных циркуляций и подсоса воздуха из пылесборного бункера. В случае применения жидкой пленки на внутренних стенках циклона явления так называемого вторичного уноса пыли устраняются. Кроме того, конструкция становится более компактной, так как появляется возможность применить схему прямоточного циклона.
Корпус циклона типа ЦВП (рис. 12) представляет собой цилиндр 5, к нижней и верхней части которого касательно по ходу вращения потока присоединены патрубки 2 и 8 для подвода запыленного и отвода очищенного газов. Внутренняя стенка орошается водой, стекающей по ней в виде пленки. Водоподающие сопла 6 установлены в верхней части касательно (с наклоном 30 вниз) к внутренней поверхности циклона по направлению вращения газового потока. Такое расположение сопел обязательно, так как предотвращает образование брызг и вынос капель воды из аппарата. Вода подводится к соплам через кольцевой коллектор 7. К нижней части цилиндра циклона припарен конус, к которому на фланце присоединяется гидрозатвор в виде конического патрубка 1 или ковша-мигалки. На входном патрубке 2 имеется подвод воды к соплам 3 для периодического смыва пылевых наростов, образующихся на границе сухой и смоченной поверхности. На верхней плоскости патрубка 2 имеется смотровой люк с легко снимающейся крышкой.
Типовые циклоны ЦВП имеют два исполнения – основное и скоростное.
В скоростном сечение входа при помощи вставки 9 сужено в два раза и, соответственно, входная скорость газа в нем вдвое выше, чем в основном
Рис. 12. Устройство циклона с водяной пленкой типа ЦВП в скоростном (а) и основном (б) исполнении и номограмма для определения гидравлического сопротивления
У скоростных ЦВП степень выноса = 100 — или остаточная концентрация пыли ориентировочно вдвое меньше, чем у ЦВП основного исполнения.
Вода для орошения внутренней поверхности цилиндра ЦВП подается под давлением 0,02 – 0,025 МПа из уравнительного бачка с шаровым клапаном. Для наблюдения за работой сопел в верхней крышке цилиндра имеются два застекленных люка 10 [4].
3.2 Ротационные мокрые пылеуловители
Аппараты, в которых контакт газа с водой (каплями, струями, пленкой) происходит вследствие вращения ротора вентилятора или специального ротора, называют ротационными мокрыми пылеуловителями.
В научно-технической литературе описан ряд типов мокрых пылеуловителей с роторами различной конструкции. К ним можно отнести дезинтеграторы, мокрые ротоклоны и механические скрубберы с вращающимися перфорированными дисками. Однако мокрые аппараты со сложными роторами не нашли широкого применения в отечественной пылеочистной технике [4].
3.3 Скрубберы
В начале развития отечественной пылеочистной техники скрубберами (рис. 13, 14) называли пылеуловители в виде емкостей (башен, камер) полых или с насадками (неправильной формы – кусков угля, камней, гальки или с определенными геометрическими формами – колец, реек), а также с полками и тарелками, на которые подается орошающая жидкость (вода). Полые и насадочные скрубберы в зависимости от спутного или противоположного направления движения газа и жидкости делятся па прямоточные или противоточные аппараты. К такого типа устройствам можно отнести орошаемые газоходы и промывные камеры вентиляционных систем.
Эффективность полых орошаемых скрубберов по сравнении с другими мокрыми пылеуловителями невелика. Они обеспечивают высокую степень очистки только при улавливании частиц пыли крупнее 10 мкм. Насадочные скрубберы с орошаемым насыпным слоем для целей очистки газов от пыли в настоящее время применяют редко, потому что трудно регенерировать слой при образовании в нем пылевых отложений.
Их применяют в основном в процессе теплообмена и очистки воздуха (газов) от вредных газовых примесей.
Скрубберы Вентури известны уже более 70 лет. Патенты на это устройство появились в первом десятилетии нашею века. Интенсивное изучение этого пылеуловителя происходило во многих исследовательских организациях. Это породило различные названия одного и того же аппарата: скруббер Вентури, труба Вентури, турбулентный газопромыватель, труба-коагулятор, коагуляционный мокрый пылеуловитель и др.
Принцип действия скрубберов Вентури (рис. 14) основан на столкновении частиц пыли с диспергированной жидкой фазой вследствие разности их скоростей и под влиянием интенсивной турбулентности газового потока.
X
Возможность различного подхода к выбору их формы, методов водоподачи, улавливания отработавшей жидкой фазы, компоновки трубы и каплеуловителя, а также соединения скрубберов в группы и батареи привела к чрезвычайному многообразно видов этого аппарата. Остановимся более подробно только на типовых устройствах, широко апробированных в отечественной пылеулавливающей технике.
Труба-коагулятор состоит из воздухопроводящего патрубка, конфузора 5, горловины 6, диффузора 7 и водоподающих устройств. Основная подача воды осуществляется через сопло с отбойником, установленное по оси трубы в зоне конфузора. В целях предотвращения отложений шлама на границе сухой и мокрой поверхности конфузора предусмотрена дополнительная подача воды в виде пленки, равномерно стекающей из водяной камеры. Вода в камеру подводится через патрубок 3 и полукольцевой коллектор с двумя штуцерами, приваренными к корпусу камеры.
Каплеуловитель 4 представляет собой циклон типа ЦВП. Он состоит из корпуса с воздухоподводящим патрубком и воздухоотводящей улитки. К фланцу в нижней части корпуса крепится гидрозатвор для отвода шлама. На гидрозатворе имеется штуцер подвода воды для взмучивания осевшего шлама. Для периодической промывки внутренних стенок в верхней части корпуса установлены сопла. Вода к ним подается через резиновые трубки, присоединенные к кольцевому коллектору [4, 5].
3.4 Ударно-инерционные пылеуловители
Простейший тип пылеуловителя ударно-инерционного действия – это камера (яма) с водой и с установленным ортогонально зеркалу воды патрубком, через который поступает запыленный воздух. Воздушный поток, ударяясь о зеркало поды, резко изменяет направление, а частицы пыли по инерции отбрасываются на ее поверхность. Такого типа пылеуловители применялись на заре пылеочистной техники.
С начала 60-х годов в промышленности стали применять высокоэффективные ударно-инерционные пылеуловители, которые также представляют собой камеру с водой (рис. 15).
Камера разделена на два отсека фигурной перегородкой, не доходящей до дна резервуара. В перегородке имеется частично затопленная щель, через которую воздух может перетекать из первого отсека во второй. Запыленный воздух входит в первый отсек через патрубок, ударяется о водную поверхность и при перетекании в чистый отсек увлекает с собой некоторый слой воды. Благодаря этому запыленный поток интенсивно контактирует со струями, каплями и пленками воды.
Отработавшая вода отбрасывается на водную поверхность чистого отсека, уровень которой регулируется устройством. Часть капель, увлекаемая очищенным потоком воздуха, улавливается каплеуловителем. Такая схема действия аппарата обеспечивает самооборот воды, которая может рециркулировать до заданных величин осадка пыли в резервуаре или концентрации шлама, удаляемого через отвод. Очищенный воздух, пройдя каплеуловитель, удаляется центробежным вентилятором, установленным на пылеуловителе [4,5].
Рис. 15. Аппараты ударно-инерционного типа: а – ударно-инерционый пылеуловитель; б – пылеуловитель ПВМ; в – скруббер Дойля; I – запыленный газ; II – очищенный газ; III – вода; IV – шлам.
3.5 Пенные аппараты
Пенные аппараты обычно делятся по способу отвода жидкости с решетки на два основных типа: с переливными устройствами и с так называемыми провальными решетками (рис. 16).
Аппараты с переливными решетками не получили широкого применения в пылеочистной технике вследствие зарастания решетки пылевыми отложениями. Поэтому в настоящее время их используют в основном и процессах тепломассообмена.
Аппараты, в которых вся жидкость «проваливается» сквозь решетку, в настоящее время принято называть противоточными. Их можно применять в качестве пылеуловителей.
В зависимости от скорости газа vг в полном сечении аппарата F устанавливаются различные гидродинамические режимы. Первый режим при vг = 0,2 0,6 м/с, называемый режимом смоченной решетки, характеризуется весьма малым количеством жидкости на решетке. При барботажном режиме гидравлическое сопротивление резко понижается, и на решетке образуется слой жидкости, через которую барботируют пузырьки газа. Переход от барботажного режима к пенному происходит при vг = 0,7 1,3 м/с. При vг = 0,8 2,2 м/с на решетке наблюдается пенный режим, сопровождающийся образованием турбулизированной пены, в которой происходит непрерывное разрушение, слияние и образование новых газовых пузырьков. Дальнейший рост скорости газа приводит к прорыву газовых струй, колебанию слоя пены и образованию так называемого волнового режима.
















