166541 (625044), страница 2
Текст из файла (страница 2)
а=РА/РВ – относительная летучесть компонента А (иногда а называют коэффициентом разделения).
Для смеси, состоящей из n компонентов, например, А,В,С,D, на основе законов Рауля и Дальтона имеем:
yA=(РA/Р)хA; yB=(РB/Р)хB; yC=(РC/Р)хC; yD=(РD/Р)хD (1.8)
Поскольку
P=PAxA+PBxB+PCxC+PDxD+…=
(1.9)
то для любого j-го компонента
yj=PjXj/
(1.10)
Разделив числитель и знаменатель правой части уравнения (1.10) на величину РА:
yj=аjXj/
, где (1.11)
аA=РА/РВ; ав=РВ/РА; аC=РС/РА и т.д.
Зависимость давления насыщенного пара от температуры хорошо описывается эмпирическим уравнением Антуана:
lnРА=А–В/(Т+C), где (1.12)
А – постоянная, не зависящая от температуры;
В и С – константы, определяемые по справочникам;
T – абсолютная температура.
Уравнение (1.12) описывает температурную зависимость давлений паров в интервале температур до нескольких десятков градусов и при давлениях, не слишком близких к критическим.
Реальные жидкие смеси могут значительно отклоняться от закона Рауля. Если зависимость полного давления (или сумма парциальных давлений) паров от состава жидкой смеси проходит выше линий, характеризующих те же зависимости для идеальных смесей (см. рис. 1.3), то такое отклонение называют положительным, если ниже – отрицательным отклонением от закона Рауля. Эти отклонения определяются изменением активности молекул в растворе, диссоциацией, гидратацией и др. Степень отклонения реальной системы от закона Рауля выражают величиной коэффициента активности
:
pA=PAxA
(1.13)
Для смесей с положительным отклонением от закона Рауля
>1; для смесей с отрицательным отклонением –
<1.Определение значений
часто затруднительно, поэтому диаграммы P–х обычно строят по экспериментальным (справочным) данным.
Рис. 1.3. Диаграмма P–x для смеси с положительным отклонением от закона Рауля (пунктиром показаны соответствующие линии для идеального раствора).
1.2. Основные технологические схемы для проведения разрабатываемого процесса
Процессы ректификации осуществляются периодически или непрерывно при различных давлениях: при атмосферном давлении, под вакуумом (для разделения смесей высококипящих веществ), а также под давлением больше атмосферного (для разделения смесей, являющихся газообразными при нормальных температурах).
1.2.1 Периодическая ректификация
Периодически действующие ректификационные установки применяют для разделения жидких смесей в тех случаях, когда использование непрерывнодействующих установок нецелесообразно.
О
дин из возможных вариантов установки показан на рис. 1.4.
Рис. 1.4. Схема установки для проведения периодической ректификации:
1 – куб; 2 – колонна; 3 – дефлегматор; 4 – делитель потоков; 5 – холодильник; 6 – сборники.
Исходную смесь периодически загружают в куб – кипятильник 1, где доводят до кипения. Образующиеся пары поднимаются по колонне 2, в которой происходит противоточное взаимодействие этих паров с жидкостью (флегмой), поступающей из дефлегматора 3. Часть конденсата после делителя потока возвращается в колонну в виде флегмы, другая часть – дистиллят Р – через холодильник 5 собирается в сборниках 6,7 в виде отдельных фракций. Процесс ректификации заканчивают обычно после того, как будет достигнут за данный средний состав дистиллята.
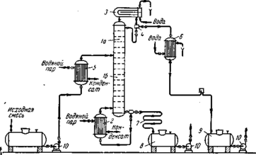
1.2.2 Непрерывная ректификация
Рассмотрим, как реализуются указанные выше условия в ректификационных колоннах непрерывного действия (см. рис. 1.5), которые наиболее широко применяются в промышленности.
Рис. 1.5. Схема непрерывно действующей ректификационной установки:
1 – ректификационная колонна (а – укрепляющая часть, б – исчерпывающая часть); 2 – кипятильник; 3 – дефлегматор; 4 – делитель флегмы; 5 – подогреватель исходной смеси; 6 – холодильник дистиллята (или холодильник–конденсатор); 7 – холодильник остатка (или нижнего продукта); 8,9 – сборники; 10 – насосы.
Ректификационная колонна 1 имеет цилиндрический корпус, внутри которого установлены контактные устройства в виде тарелок или насадки. Снизу вверх по колонне движутся пары, поступающие в нижнюю часть аппарата из кипятильника 2, который находится вне колонны, т.е. является выносным, либо размещается непосредственно под колонной. Следовательно, с помощью кипятильника создается восходящий поток пара. Пары проходят через слой жидкости на нижней тарелке, которую будем считать первой, ведя нумерацию тарелок условно снизу вверх.
Пусть концентрация жидкости на первой тарелке равна х1 (по низкокипящему компоненту), а ее температура t1. В результате взаимодействия между жидкостью и паром, имеющим более высокую температуру, жидкость частично испаряется, причем в пар переходит преимущественно низкокипящий компонент. Поэтому на следующую (вторую) тарелку поступает пар с содержанием низкокипящего компонента у1>х1.
Испарение жидкости на тарелке происходит за счет тепла конденсации пара. Из пара конденсируется и переходит в жидкость преимущественно высококипящий компонент, содержание которого в поступающем на тарелку паре выше равновесного с составом жидкости на тарелке. При равенстве теплот испарения компонентов бинарной смеси для испарения 1 моль низкокипящего компонента необходимо сконденсировать 1 моль высококипящего компонента, т.е. фазы на тарелке обмениваются эквимолекулярными количествами компонентов.
На второй тарелке жидкость имеет состав x2, содержит больше низкокипящего компонента, чем на первой (х2>x1), и соответственно кипит при более низкой температуре (t2
Таким образом, пар, представляющий собой на выходе из кипятильника почти чистый высококипящий компонент, по мере движения вверх все более обогащается низкокипящим компонентом и покидает верхнюю тарелку колонны в виде почти чистого низкокипящего компонента, который практически полностью переходит в паровую фазу на пути пара от кипятильника до верха колонны.
Пары конденсируются в дефлегматоре 3, охлаждаемом водой, и получаемая жидкость разделяется в делителе 4 на дистиллят и флегму, которая направляется на верхнюю тарелку колонны. Следовательно, с помощью – дефлегматора в колонне создается нисходящий поток жидкости.
Жидкость, поступающая на орошение колонны (флегма), представляет собой почти чистый низкокипящий компонент. Однако, стекая по колонне и взаимодействуя с паром, жидкость все более обогащается высококипящим компонентом, конденсирующимся из пара. Когда жидкость достигает нижней тарелки, она становится практически чистым высококипящим компонентом и поступает в кипятильник, обогреваемый глухим паром, или другим теплоносителем.
На некотором расстоянии от верха колонны к жидкости из дефлегматора присоединяется исходная смесь, которая поступает на так называемую питающую тарелку колонны. Для того чтобы уменьшить тепловую нагрузку кипятильника, исходную смесь обычно предварительно нагревают в подогревателе 5 до температуры кипения жидкости на питающей тарелке. Питающая тарелка как бы делит колонну на две части, имеющие различное назначение. В верхней части 1а (от питающей до верхней тарелки) должно быть обеспечено, возможно, большее укрепление паров, т. е. обогащение их низкокипящим компонентом с тем, чтобы в дефлегматор направлялись пары, близкие по составу к чистому низкокипящему компоненту. Поэтому данная часть колонны называется укрепляющей. В нижней части 1б (от питающей до нижней тарелки) необходимо в максимальной степени удалить из жидкости низкокипящий компонент, т.е. исчерпать жидкость для того, чтобы в кипятильник стекала жидкость, близкая по составу к чистому высококипящему компоненту. Соответственно эта часть колонны называется исчерпывающей. В дефлегматоре 3 могут быть сконденсированы либо все пары, поступающие из колонны, либо только часть их соответствующая количеству возвращаемой в колонну флегмы. В первом случае часть конденсата, остающаяся после отделения флегмы, представляет собой дистиллят (ректификат), или верхний продукт, который после охлаждения в холодильнике 6 направляется в сборник дистиллята 9. Во втором случае несконденсированные в дефлегматоре пары одновременно конденсируются и охлаждаются в холодильнике 6, который при таком варианте работы служит конденсатором-холодильником дистиллята. Жидкость, выходящая из низа колонны также делится на две части. Одна часть направляется в кипятильник, а другая – остаток (нижний продукт) после охлаждения водой в холодильнике 7 направляется в сборник 8. Преимущества непрерывной ректификации по сравнению с периодической: условия работы установки не изменяются в ходе процесса, что позволяет установить точный режим, упрощает обслуживание и облегчает автоматизацию процесса; отсутствуют простои между операциями, что приводят к повышению производительности установки; расход тепла меньше, причем возможно использование тепла остатка на подогрев исходной смеси в теплообменнике.
Благодаря перечисленным преимуществам в производствах крупного масштаба применяют главным образом непрерывную ректификацию, периодические процессы ректификации находят применение лишь в небольших, неравномерно работающих производствах.
1.2.3 Экстрактивная и азеотропная ректификация
Экстрактивную ректификацию используют обычно для разделения смесей близкокипящих компонентов, характеризующихся низкой относительной летучестью. Разделение таких смесей приходится проводить в колоннах с очень большим числом теоретических тарелок и высоким расходом пара из–за необходимости поддерживать большое флегмовое число. Схема установки для проведения экстрактивной ректификации представлена на рис.1.6.
Рис. 1.6. Схема установки для экстрактивной ректификации бинарной смеси:
1 – колонна для экстрактивной ректификации; 2 – колонна для разделения продукта В и экстрагирующего компонента С; 3 – насосы; 4 – кипятильники; 5 – конденсаторы.
Исходную смесь, состоящую из компонентов А и В, подают на тарелку питания колонны 1 для экстрактивной ректификации. Несколько выше тарелки питания вводят разделяющий агент С. Низкокипящий компонент отбирают в виде дистиллята, а смесь высококипящего компонента В и разделяющего компонента С из нижней части колонны 1 направляют на разделение в колонну 2. Разделяющий компонент, отбираемый в виде кубового остатка, возвращают на орошение колонны 1.
При азеотропной ректификации (см. рис. 1.7) исходную азеотропную смесь подают на тарелку питания колонны, которая орошается, сверху разделяющим агентом С. Расход разделяющего агента в основном зависит от состава исходной смеси. Так, при азеотропной ректификации расход разделяющего компонента увеличивается с повышением в исходной смеси концентрации тех компонентов, которые отбираются в дистиллят. При экстрактивной ректификации, наоборот, расход разделяющего компонента возрастает при увеличении в исходной смеси концентрации компонентов, отбираемых в виде кубового остатка.
Рис. 1.7. Схема установки для азеотропной ректификации: 1 – колонна; 2 – конденсатор; 3 – отстойник; 4 – кипятильник
Наиболее сложной задачей при использовании методов экстрактивной и азеотропной ректификации является выбор разделяющего компонента, который должен удовлетворять следующим требованиям:
1)обеспечивать, возможно, большее повышение коэффициента относительной летучести разделяемых компонентов;
2)достаточно легко регенерировать;
1>















