150991 (621525)
Текст из файла
Содержание
Введение
1. Исходные данные
2. Принципиальная схема котельного агрегата
3. Теплотехнический расчет котельного агрегата
3.1 Расчет процесса горения топлива в топке котла
3.2 Расчет процесса горения и ht – диаграмма продуктов сгорания топлива
3.3 Тепловой баланс котельного агрегата
3.4 Упрощенный эксергетический баланс котельного агрегата
4. Тепловой расчет котла – утилизатора
4.1 Выбор типа котла – утилизатора
4.2 Расчет поверхности теплообмена котла – утилизатора
4.3 Термодинамическая эффективность работы котла – утилизатора
4.4 Графическая зависимость по исследовательской задаче
4.5 Термодинамическая эффективность совместной работы котельного агрегата с котлом – утилизатором
5. Схема котла – утилизатора
6. Схема экономайзера
7. Схема воздухоподогревателя
8. Схема горелки
Заключение
Литература
Введение
Наука, изучающая процессы получения и использования теплоты в различных производствах, а также машин и аппаратов, предназначенных для этих целей, называется теплотехникой.
В настоящее время роль теплотехники значительно возросла в связи с необходимостью экономного использования топливно – энергетических ресурсов, решения проблем охраны окружающей среды и создания безотходных технологий.
Принятый Федеральный закон “Об энергосбережении” (№ 28 – ФЗ от 03.04.1996 г.) предусматривает комплекс мер, в том числе по подготовке кадров, направленных на координальное изменение ситуации в области энергоиспользования. В реализации этого закона большая роль отводится специалистам любого технического профиля, чем и объясняется особая актуальность теплотехнической подготовки соответствующих инженерных кадров, в том числе и технологических специальностей.
Оценка потенциала энергосбережения свидетельствует о возможностях российской экономики к 2010 г. сократить потребность в энергоресурсах в результате роста эффективности их использования в размере 350…360 млн.т условного топлива при ожидаемом энергопотреблении на уровне 1050 млн. т у.т..
Нефтеперерабатывающая, нефтехимическая и химическая промышленности являются наиболее энергоемкими отраслями народного хозяйства. В себестоимости производства отдельных видов продукции в этих отраслях промышленности на долю энергетических затрат приходится от 10 до 60 %, например, на переработку 1 т нефти затрачивается 165 – 180 кг условного топлива.
Энергетическое хозяйство НПЗ и НХЗ включает собственно энергетические установки (ТЭЦ, котельные, компрессорные, утилизационные, холодильные, теплонасосные установки и др.), энергетические элементы комбинированных энерго-, химико-технологических систем (ЭХТС), производящих технологическую и энергетическую продукцию.
В данной работе на примере котельного агрегата рассматриваются методы расчета процесса сжигания и расхода топлива, КПД, теплового и эксергетического балансов. Экономия топлива при его сжигании является одной из важнейших задач в решении топливно-энергетической проблемы.
Вопросы экономии топлива и рационального использования теплоты решаются в курсовой работе применением в схеме установки экономайзера, воздухоподогревателя, котла – утилизатора.
1. Исходные данные
28
14 МПа
550 °С
100°С
175 °С
1,20
21 т/ч
Δα=0,25
СО 0,10
CH4 98,00
C2H6 0,40
С3Н8 0,20
N2 1,30
Исследовательская задача
Используя аналитические выражения построить зависимость влияния температуры окружающего воздуха t0 (t0=0…250 °С с шагом 50 °С) на КПД брутто котельного агрегата.
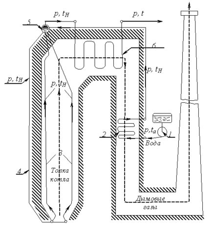
2. Принципиальная схема котельного агрегата [1]
Рисунок 1 – Принципиальная схема котельного агрегата
В котельном агрегате вода подается питательным насосом 1 в подогреватель ( водяной экономайзер) 2, где за счет теплоты дымовых газов (показаны пунктиром) подогревается до температуры кипения
. Из экономайзера вода попадает через барабан 5 и опускные трубы 4 в систему испарительных трубок 3, которые расположены в топке котла. В испарительных трубках в результате подвода теплоты от продуктов горения часть воды превращается в пар. Образовавшаяся пароводяная эмульсия возвращается в барабан 5, где разделяется на сухой насыщенный пар и воду, которая опять возвращается в испарительный контур. Полученный таким образом сухой насыщенный пар из верхней части барабана поступает в пароперегреватель 6, где за счет теплоты горячих дымовых газов перегревается до требуемой температуры перегретого пара
.
Таким образом, процесс получения перегретого пара состоит из трех п последовательных стадий: подогрев воды до температуры кипения, парообразования и е перегрева пара до требуемой температуры. Все эти стадии протекают при постоянном давлении.
3. Теплотехнические расчеты котельного агрегата
3.1 Расчет процесса горения топлива в топке котла
Коэффициент избытка воздуха за установкой
,
Теоретическое количество воздуха, необходимого для полного сгорания
газообразного топлива
,
м3/м3.
Объем трехатомных газов
,
м3/м3.
Теоретический объем азота
,
м3/м3.
Объем избытка воздуха в топочном пространстве
,
м3/м3.
Объем водяных паров
,
м3/м3.
Объемное количество продуктов сгорания, образующихся при сжигании
топлива
,
. м3/м3.
Плотность топливного газа при нормальных условиях
,
кг/м3.
Массовое количество дымовых газов, образующихся при сжигании газообразного топлива
,
кг/м3.
Определим калориметрическую температуру горения, для чего вычислим энтальпию продуктов сгорания при температуре 1400 и 2000 °С
,
кДж/кг,
кДж/кг.
где
,
,
,
- Средние объемные изобарные теплоемкости углекислого газа, азота, водяных паров и воздуха;
Энтальпию продуктов сгорания
при калориметрической температуре определяем из уравнения теплового баланса топки, для двух случаев
а. с воздухоподогревателем
,
кДж/м3.
где
- физическое тепло топлива, ввиду его малости можно принять
;
- физическое тепло воздуха;
,
кДж/м3.
где
- температура воздуха;
- средняя изобарная объемная теплоемкость воздуха при
;
б. без воздухоподогревателя
,
кДж/м3
Зная
и
по ht – диаграмме определяем калориметрические температуры горения
и
Построили диаграмму
- продуктов сгорания и определили
и
, которые равны
°С и
°С.
Определяем энтальпию уходящих газов
а. с воздухоподогревателем
,
б. без воздухоподогревателя
,
Для этого случая определяем приближенное значение температуры уходящих газов
без воздухоподогревателя из уравнения теплового баланса последнего
,
где 1,295 и 1,293 – плотности дымовых газов и воздуха при нормальных условиях;
- средняя изобарная массовая теплоемкость газов,
принимаем
;
- средняя изобарная массовая теплоемкость воздуха,
принимаем
;
отсюда
,
°С.
3.2 Расчет процесса горения и
- диаграмма продуктов сгорания топлива
Исходные данные содержание компонентов смеси
| CH4 | C2H6 | C3H8 | C4H10 |
| 98.000 | 0,400 | 0.200 | 0.000 |
| C5H12 | H2S | H2 | H2O |
| 0.000 | 0.000 | 0.000 | 0.000 |
| O2 | CO | CO2 | N2 |
| 0.000 | 0.100 | 0.000 | 1.300 |
Q – НИЗШАЯ ТЕПЛОТВОРНАЯ СПОСОБНОСТЬ, кДж/м3 Q = 36700.000
Определяем энтальпию продуктов сгорания
| Т/А | 1.0 | 1.2 | 1.4 | 1.6 | 1.8 |
| 0.0 | 0,000 | 0,000 | 0,000 | 0,000 | 0,000 |
| 100.0 | 1462,075 | 1712,302 | 1962,529 | 2212,756 | 2462,984 |
| 200.0 | 2943,884 | 3446,974 | 3950,063 | 4453,152 | 4956,242 |
| 300.0 | 4482,032 | 5242,573 | 6003,114 | 6763,654 | 7524,195 |
| 400.0 | 6042,497 | 7065,550 | 8088,603 | 9111,656 | 10134,709 |
| 500.0 | 7662,754 | 8955,125 | 10247,495 | 11539,866 | 12832,237 |
| 600.0 | 9316,992 | 10883,935 | 12450,878 | 14017,821 | 15584,763 |
| 700.0 | 11012,272 | 12859,842 | 14707,412 | 16554,982 | 18402,552 |
| 1400.0 | 23754,819 | 27674,749 | 31594,680 | 35514,610 | 39434,541 |
| 1500.0 | 25666,249 | 29893,366 | 34120,483 | 38347,600 | 42574,717 |
| 1600.0 | 27594,377 | 32131,034 | 36667,691 | 41204,348 | 45741,005 |
| 1700.0 | 29542,715 | 34389,814 | 39236,913 | 44084,013 | 48931,112 |
| 1800.0 | 31495,488 | 36655,757 | 41816,026 | 46976,294 | 52136,563 |
| 1900.0 | 33466,855 | 38904,961 | 44343,066 | 49781,172 | 55219,277 |
| 2000.0 | 35445,070 | 41235,243 | 47025,416 | 52815,590 | 58605,763 |
| 2100.0 | 37439,057 | 43544,581 | 49650,105 | 55755,629 | 61861,153 |
| 2200.0 | 39439,580 | 45863,258 | 52286,936 | 58710,615 | 65134,293 |
| 2300.0 | 41440,367 | 48182,919 | 54925,472 | 61668,024 | 68410,576 |
| 2400.0 | 43456,609 | 50520,344 | 57584,079 | 64647,814 | 71711,550 |
| 2500.0 | 45472,713 | 52855,617 | 60238,522 | 67621,427 | 75004,332 |
Характеристики
Тип файла документ
Документы такого типа открываются такими программами, как Microsoft Office Word на компьютерах Windows, Apple Pages на компьютерах Mac, Open Office - бесплатная альтернатива на различных платформах, в том числе Linux. Наиболее простым и современным решением будут Google документы, так как открываются онлайн без скачивания прямо в браузере на любой платформе. Существуют российские качественные аналоги, например от Яндекса.
Будьте внимательны на мобильных устройствах, так как там используются упрощённый функционал даже в официальном приложении от Microsoft, поэтому для просмотра скачивайте PDF-версию. А если нужно редактировать файл, то используйте оригинальный файл.
Файлы такого типа обычно разбиты на страницы, а текст может быть форматированным (жирный, курсив, выбор шрифта, таблицы и т.п.), а также в него можно добавлять изображения. Формат идеально подходит для рефератов, докладов и РПЗ курсовых проектов, которые необходимо распечатать. Кстати перед печатью также сохраняйте файл в PDF, так как принтер может начудить со шрифтами.















