150991 (621525), страница 4
Текст из файла (страница 4)
а. нагревательного участка
,
°С.
б. испарительного участка
,
°С.
в. участка перегрева [1]
,
°С.
Поверхность нагрева котла – утилизатора
а. нагревательного участка
,
м2.
б. испарительного участка
,
м2.
где
- теплота парообразования, определяется по таблицам термодинамических свойств воды и водяного пара в состоянии насыщения пара при
;
в. участка перегрева
,
м2.
Общая поверхность нагрева котла – утилизатора
,
м2.
Длина труб
,
м.
где
- число котлов – утилизаторов;
Строим график изменения температур вдоль поверхности нагрева котла – утилизатора
4.3 Термодинамическая эффективность работы котла – утилизатора
Уменьшение эксергии продуктов сгорания в котле – утилизаторе [1]
,
кДж/с.
Приращение эксергии пара, образующегося в котле – утилизаторе
а. в случае получения перегретого пара
,
кДж/с.
Потери эксергии в котле – утилизаторе
,
кДж/с.
Эксергетический КПД котла – утилизатора
,
.
4.4 Графическая зависимость по исследовательской задаче
Используя аналитические выражения построить зависимость влияния температуры окружающего воздуха t0 (t0=0…250 °С с шагом 50 °С) на КПД брутто котельного агрегата.
Расчетные формулы:
,
,
q3=2.8%.
;
q5=1,28%
;
Составим таблицу:
| t0 |
|
|
|
| h0 | q2 |
|
| 0 | 1,5998 | 1,2987 | 1,4943 | 1,2971 | 0 | 10,00198 | 85,91802 |
| 50 | 1,65005 | 1,29955 | 1,49975 | 1,29875 | 759,1316 | 7,863584 | 88,05642 |
| 100 | 1,7003 | 1,3004 | 1,5052 | 1,3004 | 1525,151 | 5,705784 | 90,21422 |
| 150 | 1,7188 | 1,3021 | 1,51375 | 1,30375 | 2295,391 | 3,536093 | 92,38391 |
| 200 | 1,7373 | 1,3038 | 1,5223 | 1,3071 | 3070,742 | 1,352007 | 94,56799 |
| 250 | 1,8 | 1,30735 | 1,53235 | 1,31215 | 3866,656 | -0,89001 | 96,81001 |
Рисунок 7 - Графическая зависимость по исследовательской задаче
4.5 Термодинамическая оценка эффективности совместной работы котельного агрегата с котлом – утилизатором
Составляем эксергетический баланс котельного агрегата без воздухоподогревателя, но с котлом – утилизатором
,
,
кДж/м3.
или в %
,
.
При использовании котельного агрегата с воздухоподогревателем, эксергия уходящих газов составляет
кДж/м3
или 17,86% - меньше, чем при использовании котла – утилизатора, т.е. работа совершаемая уходящими газами в процессе, в первом случае меньше.
Таким образом, использование котлов – утилизаторов делает работу котельного – агрегата эффективнее и энергетически совершеннее.
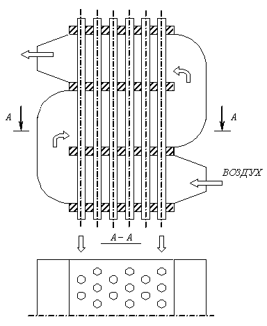
5 Схема котла утилизатора [1]
Рисунок 8- Схема котла – утилизатора
Котлы – утилизаторы типа КУ – 40 устанавливают за нагревательными, мартеновскими, обжиговыми печами, а также используют в химических и других отраслях промышленности. Разработаны для установки в закрытом помещении. Рассчитаны на работу под разряжением. Сейсмичность района установки 6 баллов.
Котлы – газотурбинные, с естественной циркуляцией, с горизонтальным расположением испарительных поверхностей. Внутренний диаметр барабана котла КУ – 2586 мм, толщина стенки обечайки – 16, днищ – 20 мм. Материал обечайки и днищ - сталь 20К. Барабан имеет внутрибарабанное паросепарационное устройство в виде дырчатого листа и жалюзи.
Газ в котле КУ – 40 проходит по 239 дымогарным трубам, диаметр труб 60*3 мм (сталь 20).
К барабану котла крепятся входная и выходная газовые камеры. Внутри входной газовой камеры имеется пароперегреватель с горизонтальным расположением змеевиков. Диаметр труб пароперегревателя котла КУ – 40 – 32*3 мм (сталь 20).
Обмуровка входной газовой камеры многослойная, состоит из слоев шамотобетона, термоизоляционного бетона и матрацев из шлаковаты.
Для очистки поверхностей нагрева дымогарных труб котла предусмотрено обдувное устройство.
Котел снабжен необходимой арматурой, гарнитурой, устройством для отбора проб пара и воды, а также контрольно – измерительного приборами. Питание котлов и сигнализация уровня воды в барабане автоматизированы.
6 Схема экономайзера [1]
Рисунок 9 - Схема экономайзера
Металлоемкий контактный теплообменник дает возможность не только сократить стоимость утилизационной установки, но и обеспечивает глубокое охлаждение уходящих газов ниже точки росы, которая для сгорания природного газа составляет 50 – 60 оС. При этом используется не только физическое тепло уходящих газов, но и теплота конденсации содержащихся в них водяных паров.
Насадкой в контактном экономайзере служат керамические кольца Рашига размером 50*50 мм. Рабочая насадка укладывается высотой 1 м в шахматном порядке. Каплеулавливающая насадка высотой 0,2 м загружается “внавал”. Вода может нагреваться в этих экономайзерах до 50 – 60 оС. Нагретая вода используется для производственных и бытовых нужд.
Аналогичные теплообменники можно применять для утилизации тепла уходящих газов некоторых промышленных печей, сушилок, газовых турбин и других тепловых установок, работающих на природном газе.
7 Схема воздухоподогревателя [4]
Р
исунок 10 - Схема воздухоподогревателя
В настоящее время наибольшее распространение получили стальные трубчатые воздухоподогреватели. Их изготавливают из труб диаметром 43..51 мм и толщиной стенок 1,5..2 мм. Трубы располагают вертикально в шахматном порядке и приваривают к двум трубным решеткам, образуя отдельную секцию, называющую кубом воздухоподогревателя. Воздухоподогреватель собирают обычно из нескольких кубов, соединенных между собой перепускными коробами. Дымовые газы движутся внутри труб, воздух, нагнетаемый вентилятором омывает их снаружи в поперечном сечении.
8 Схема горелки [3]
Рисунок 11- Схема горелки
Для разделенного сжигания мазута и природного газа под котлами применяют комбинированные горелки типа ГМГм. Газообразное топливо через патрубок 3 попадает в кольцевую камеру 4 газораспределительного устройства, состоящего из газовых насадок с отверстиями, через которые часть газа подается в камеру первичного воздуха 6, а часть поступает в зону вторичного воздуха 5. Воздухонаправляющее устройство первичного воздуха состоит из подводящего трубопровода 9 и лопаточного завихрителя с прямыми лопатками. Зона вторичного воздуха образуется подводящем трубопроводом и лопаточным завихрителем с прямыми лопатками под углом 60 оС. Закрутка первичного и вторичного воздуха производится в одну сторону.
Таким образом, в горелках происходит подача газа в массу воздуха мелкими струйками, а также завихрение газовоздушного потока, что обеспечивает качественное и быстрое смешение газа воздуха. Газомазутная горелка снабжена паромеханической форсункой для сжигания мазута, состоящей из корпуса 1, центрального ствола 2 и распыляющей головки 7. Мазут подается по внутренней трубе ствола 2, проходит через распределенную шайбу и поступает в топливный завихритель. Пар подается по наружной трубе 10 и попадает в паровой завихритель в зоне головки форсунки 7. Таким образом достигается паромеханическое распыление топлива. Образовавшаяся взвесь смешивается с необходимым количеством воздуха, после чего поступает в топку, где и сгорает.
Заключение
В данной работе произведен расчет котельного агрегата и котла – утилизатора, применяемых в химической нефтяной промышленности. Эти установки отличаются высокой эффективностью процесса сжигания и расхода топлива.
Приведены диаграммы тепловых потоков и диаграмма Грассмана – Шаргута для эксергетического баланса котельного аппарата, график изменения температур вдоль поверхности нагрева котла – утилизатора.
Также приведен расчет процесса горения на ЭВМ и ht – диаграмма продуктов сгорания топлива. Исследована зависимость влияния температуры подогрева воздуха в воздухоподогревателе на калориметрическую температуру горения топлива и построена графическая зависимость.
Проведен тепловой расчет котла – утилизатора и подобран котел – утилизатор типа КУ – 40.
Сегодня экономические факторы заставляют резко увеличить степень использования добывания топлива. Выгоднее вкладывать средства на увеличение добычи топлива, чтобы продолжать расходовать его с низкой эффективностью, а в разработку технологических процессов, обеспечивающих более экономное его использование.
Список использованной литературы
1. Латыпов Р.Ш. Шарафиев Р.Г. Техническая термодинамика и энерготехнология химических производств: Учебник для вузов. – М.: Энергоиздат, 1988. – 344 с.
2. Чечеткин А.В. Занемонец Н.А. Теплотехника. – М.: Высшая школа, 1986. – 264 с.
3. Алабовский А.Н., Константинов С.М., Недужий И.Н. Теплотехника. – Киев: Высшая школа. 1986. – 256 с.
4. Ривкин С.Л., Александров А.А. Термодинамические свойства воды и водяного пара: Справочник. – М.: Энероиздат, 1984. – 80 с.
5. Роддатис К.Ф., Соколовский Я.Б. Справочник по котельным установкам малой производительности. – М.: Энергия, 1975. – 240 с.
6. Теплотехнический справочник. – М.: Энергия, 1975, 1976.















