150843 (621453), страница 3
Текст из файла (страница 3)
При необходимости и невозможности устранить дефекты подвижной системы, при значительных разбросах тока или напряжения (более 5%) от заданных уставок реле следует разобрать, соблюдая следующие правила.
Реле устанавливают в строго вертикальном положении и выводят указатель шкалы влево за начальную уставку. При повороте указателя на 20—30° влево от первой точки шкалы при затирании подвижной системы, загрязнении или неисправности подпятника или концов оси 5 переход подвижного мостика происходит вяло или с рывком. При разборке отсоединяют провода, идущие к неподвижным контактам, отвертывают два винта и снимают шкалу и подшкальник. Отпаивают наружный конец спиральной пружины от хвостовика и снимают со стойки подвижную систему. Ослабляют стопорные винты, крепящие верхнюю и нижнюю полуоси, опускают верхнюю полуось 4, а нижнюю поднимают, после чего подвижная система легко вынимается. Отвертывают два винта и снимают пружинодержатель 10 с укрепленными на нем указателем и пружиной.
Отвертывают гайки М5, снимают шкалы и вынимают из отверстия в пружинодержателе фасонный винт с шестигранной втулкой 11 и укрепленной пружиной.
Осматривают полуоси реле. Стальную шпильку, запрессованную в латунный цилиндр, очищают от грязи и полируют; поверхность стальной шпильки не должна иметь следов ржавчины, царапин или выбоин. Проверяют соосность латунного цилиндра и стальной шпильки, для этого латунный цилиндр зажимают в патроне ручной дрели и при вращении наблюдают за биением шпильки.
Очищают отверстия для полуосей в латунной П-образной скобе. Полочка ярма должна быть параллельна П-образной скобе и иметь ровный изгиб на всем своем протяжении. Проверяют надежность крепления гасителя колебаний 3 к латунной скобе и изоляционной колодки 7 с подвижным контактом к ярму; надежность закрепления внутреннего конца спиральной пружины в шестигранной втулке. Проверяют, с достаточным ли трением поворачивается шестигранная втулка на фасонном винте. Чистку подвижных и неподвижных контактов выполняют кусочком дерева твердых пород или кожей. Подгоревшие или имеющие выбоины контакты зачищают и полируют воронилом. Пользоваться надфилем, наждачной бумагой или другими абразивными материалами нельзя! Кроме того, недопустимо промывать контакты ацетоном или бензином, так как они образуют плохо проводящий налет.
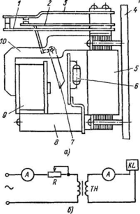
После сборки и всех испытаний следует отрегулировать уставку реле по току (рис. 9, д) и уставку по напряжению (рис. 9, е). Пользуются реостатом 5—10 Ом и лампой 3,5 В, 1 Вт. Срабатывание реле определяют по лампе, возврат — на слух в момент остановки ярма.
Реле времени ЭВ-200. Внешний и внутренний осмотр и состояние контактов выполняют, как это описано для реле РТ и РН.
Траверса 10 (рис. 10) подвижных контактов 20 должна быть надежно закреплена стопорным пиитом 23. На выходной оси 6 часового механизма 16—18 должны быть закреплены колодки на подвижных контактах фиксирующими винтами. Зазор между ярмом и заводным рычагом часового механизма при притянутом ярме и замкнутых на максимальной установке контактов должен быть 0,5—1 мм. Зазор между мгновенными контактами 19 должен быть не менее 1,5 мм. Регулируют зазор подгибанием неподвижных контактных пластинок. Прогиб пластинки переключающего мгновенного контакта должен быть таким, чтобы после замыкающего контакта ярма проходил еще 0,8—1,2 мм, что соответствует контактному нажатию 0,12— 0,18 Н. Провал неподвижных контактов, замыкающих с выдержкой времени, должен быть на любой уставке не менее 0,4 мм. Возвратная пружина должна четко возвращать часовой механизм до упора. В случае необходимости регулируют натяжение пружины.
Исходное положение механизма реле показано на рис. 10, а, когда ведущая пружина 8 растянута (заведена) и удерживается в таком положении тем, что палец 4 упирается в верхнюю часть ярма 2. Палец соединен с пружиной осью 12 и зубчатым сектором 9. При подаче напряжения на обмотку реле 1 ярмо, втягиваясь, сжимает пружину 3 и освобождает палец, зубчатый сектор начинает поворачиваться, вращая сцепленную шестерню 7 и ось 6 вместе с контактной траверсой 10.
Рис. 10. Реле времени ЭВ-200 а — общий вид, б электрическая схема реле, в — схема проверки
Проверяют надежность сцепления остальных деталей механизма — ведущей шестерни 5, храповой шестерни 11 с пружиной, промежуточных шестерен 14, 13 и 15, связанных с часовым механизмом, путем 10-кратного запуска реле и визуального осмотра шестерен.
Выдержка времени реле устанавливается подбором расстояния между начальным положением подвижного 20 и неподвижного 21 контактов или проскальзывающими контактами 22, которые для измерения уставок можно перемещать по шкале. Проверяют действие контактов мгновенного действия 19.
Далее реле подвергают проверке электрических характеристик. Измеряют сопротивление изоляции обмотки при опущенном и втянутом ярме (нажать на хвостовик ярма). Проверяют электрическую прочность изоляции и работу часового механизма. Время срабатывания реле определяют по электрическому секундомеру, включенному по схеме, данной на рис. 10, в. Секундомер имеет две шкалы 0— 1 с и 1 —10 с с ценой деления 0,01 с. Перед измерением включают выключатель SA, затем подают в обмотку реле КТ напряжение, включив рубильник SF. Секундомер Р устанавливают на 0, запускают его. Секундомер работает, отсчитывая секунды до шунтирования его обмотки контактом КТ реле, при заданном направлении, устанавливаемом реостатом R. Напряжение подают плавно и «толчком». Проверяют шкалу реле до минимальной, максимальной и заданной уставки.
При проверке и наладке реле пользуются заводской документацией (техническое описание, инструкция по эксплуатации).
Разброс времени срабатывания проверяют по максимальной отметке шкалы. Продолжительность замкнутого состояния проскальзывающего контакта регулируют. Если при проверке шкалы оказывается, что время на максимальной уставке выходит за « + » или « — » допускаемого, необходимо отрегулировать и затянуть гайку, крепящую шкалу.
Промежуточное реле РП-341 (рис. 11). Сердечник должен быть установлен так, чтобы ярмо свободно вращалось на оси и в притянутом положении упиралось в немагнитную прокладку и полюс сердечника с катушкой. Зазор между ярмом и полюсом сердечника со стороны оси вращения ярма должен быть 0,1—0,2 мм при притянутом ярме (проверяется щупом). Установку положения сердечника производят перемещением его вверх или вниз при отпущенных винтах, крепящих сердечник к скобе. Нажатие подвижного контакта на неподвижный должно быть 0,12— 0,18 Н, а каждой подвижной контактной пластины замыкающего контакта на толкатель — не менее 0,08 Н. Провал контактов при нормальной мощности должен быть не менее 0,3 мм. При опущенном ярме зазор между угольником и подвижной пластиной переключателя контакта нормальной мощности должен быть 0,5—0,8 мм, а между замыкающими контактной нормальной мощности — не менее 0,6 мм.
Рис. 11. Промежуточное реле РП-341: а — общий вид, б — схема регулировки, 1, 2 и 3 — контакты, 4 — основание, Б быстронасыщающийся трансформатор, 6—выпрямитель, 7 — ярмо, 8 — конденсатор, 9 — обмотка реле, 10 — сердечник, R — реостат, ТН — трансформатор нагрузочный, KL — реле
Межконтактный зазор усиленного замыкающего контакта должен быть 1,5—2 мм, размыкающего контакта после срабатывания реле — не менее 2 мм. Для обеспечения переключения без разрыва цепи усиленных замыкающего и размыкающего контактов должен быть зазор 0,5— 0,8 мм между угольником и подвижной контактной пластиной размыкающего контакта в момент замыкания замыкающего контакта. Регулировку при необходимости осуществляют подгибанием угольника, укрепленного на толкателе.
Нажатие усиленного замыкающего контакта после замыкания должно быть не менее 0,5 Н, а нажатие усиленного размыкающего контакта при опущенном ярме — не менее 0,3- Н. Регулировку межконтактных зазоров выполняют подгибанием «язычка» хвостовика ярма, подрегулировки зазоров — подгибанием неподвижных контактных пластин у места закрепления их в колодках (расстояние от места изгиба до колодки должно быть 3—8 мм, радиус изгиба при этом не менее 2 мм). При обесточенном реле хвостовик ярма должен упираться «язычком» в сердечник. Проверяют ток срабатывания и возврата по схеме рис. 11, б и при необходимости регулируют подгибанием переднего хвостовика скобы ярма, упирающегося в сердечник. Проверяют надежность работы контактов при максимальном токе короткого замыкания и дешунтирования электромагнита отключения. Для испытания используют нагрузочный трансформатор мощностью 500 В-А.
Реле газовое РГЧЗ-66. При внешнем осмотре проверяют целостность корпуса, плотность крепления: крана на крышке реле, проходных втулок, пробки в нижней части корпуса. Проверяют целостность смотровых стекол и проходных изоляторов, наличие и состояние прокладок между фланцами реле и трубопроводом, под крышкой реле и коробки зажимов. При внутреннем осмотре проверяют надежность крепления чашек, пластины скоростного элемента, упоров, ограничивающих ход чашек, экранов, контактных пластин токопроводов. Проверяют соблюдение расстояния между подвижными и неподвижными контактами 2—2,5 мм, люфты всех осей реле, которые не должны превышать 0,5 мм. Нажатием рукой на соответствующий элемент реле проверяют легкость хода и отсутствие заедания. Если зазор между рычагом и дном чашки недостаточен, то не будет замыкания подвижного контакта с неподвижным, в этом случае рычаг надо немного выгнуть вверх. При проверке элементов реле от руки одновременно проверяют совместный ход контактов, равный 2 мм. После осмотра реле промывают чистым трансформаторным маслом.
Проверяют усилие размыкания контактов с помощью граммометра, которое должно быть в пределах 0,25—0,3 Н, совместный ход контактов (2—2,5 мм). Проверяют на срабатывание при скоплении определенного объема газа в верхней части реле, наблюдаемого через сигнальное стекло, и при полном исчезновении масла из реле (отключающий элемент).
Для промежуточного реле магнитная система должна быть так отрегулирована, чтобы зазор между ярмом и сердечником не превышал 0,06 мм при притянутом ярме. Проверяют работу магнитной системы контактов, магнитного выключателя, промежуточных реле. Подвижная система контактов должна четко срабатывать при 0,85 величины номинального напряжения. Такого срабатывания не получается при завышенном зазоре между ярмом и сердечником или увеличенном числе витков катушки.
Для тепловых реле должно быть четкое срабатывание при токе 1,5 Іном с выдержкой времени 20 мин, при токе 1,2 Іном и в течение часа при токе 1,05 Іном. Время возврата реле должно быть не более 3 мин после его отключения.















