150843 (621453), страница 2
Текст из файла (страница 2)
Рис. 4. Максимальная токовая защита с независимой выдержкой времени а — принципиальная однолинейная схема, б— характеристика
В радиальных сетях с односторонним питанием максимальную токовую защиту включают с питающей стороны каждой линии. При этом для обеспечения селективности отключения выдержку времени защиты подбирают по ступенчатому принципу, согласно которому у каждой последующей защиты, считая по направлению к источнику питания, выдержку времени принимают на ступень времени больше, чем у предыдущей защиты.
Рассмотрим пример защиты от однофазного короткого замыкания на землю кабельных линий в сети напряжением 6—10 кВ с заземленной нейтралью. На рис. 5,a приведен эскиз применяемого для такой защиты специального трансформатора тока типа ТЗ, а на рис.5,б — схема действия защиты. Действие защиты основано на том, что в нормальном режиме суммарный поток, создаваемый трехфазной системой токов в жилах кабеля, равен нулю. При замыкании на землю одной из фаз кабеля симметрия токов нарушается и возникает магнитный поток, который наведет э. д. с. в обмотке трансформатора тока ТЗ и в цепи реле Т появится ток. Реле срабатывает и дает сигнал о наличии повреждения в данной кабельной линии.
Рис. 5. Защита от замыканий на землю в кабельных сетях а — установка трансформаторов тока типа ТЗ; б — схема действия защиты; 1 — магнитопровод; 2 — кабель; 3 — обмотка
5. Проверка, ремонт и наладка реле
Реле должно быть надежным, обеспечивающим безаварийную работу электрических установок.
Проверять и налаживать реле рекомендуется в лаборатории, используя специальные электрические устройства. Проверку реле начинают с внешнего осмотра: проверяют наличие пломб, целостность кожуха и плотность прилегания его к цоколю, состояние уплотнений, очистка реле.
После снятия кожуха приступают к внутреннему осмотру очищают детали, проверяют затяжку винтов, гаек, кропящих пружин, контакты, подпятники, магнитопроводы, проверяют надежность внутренних соединений; регулируют механическую часть реле; контакты тщательно очищают и полируют воронилом (пользоваться надфилем или абразивными материалами нельзя).
Далее измеряют сопротивление изоляции мегаомметром 1000 М между электрическими частями реле и корпусом, которое должно быть не менее 10 МОм, проверяют уставки. Если обнаружены дефекты, выходящие з
а возможность устранения их в лаборатории, реле заменяют ноным.
Схемы проверки реле должны быть простыми и безопасными. Ниже в виде примера приводятся некоторые из них.
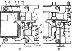
Тепловое реле (вторичное прямого действия) РТП, встроенное в магнитный пускатель (рис. 6, а, б, в). Проверку тепловых расцепителей ТР выполняют по схеме рис. 6, в.
Разборку реле (рис. 6, б) производят в такой последовательности. Отвинтить винты 3, снять шайбы, крышку 4 и нагреватель 9. Вынуть из корпуса две планки. Снять пружину 10, ушко 11 и кнопку 5. Снять пружину 15 и венец 13, 14. Вынуть ось 16, вывернуть винт, снять скобу и контактный мостик 17. Вывинтить четыре винта 18, снять шайбы 19, 20, планку 22 и контактные пластины 21, 23. Вывинтить винты, снять упор 12, вынуть ось 6, снять термоэлемент 8 в сборе и охладитель 7.
Очистить детали от загрязнений. Осмотреть и проверить штангенциркулем износ поверхности контактного мостика, который при износе до 0,5 мм бракуется. Незначительное обгорание или брызги металла на поверхности контактов счищают надфилем. Контактные пластины заменяют новыми, если контактная поверхность изношена на 50%, повреждена резьба.
Термоэлемент (рис. 6, а) заменяют новым, если выгорел или деформировался термобиметалл 1, оборвались жгуты провода 2 в местах приварки.
После сборки реле и устранения дефектов следует: проверить сопротивление изоляции между входом и выходом каждого полюса при разомкнутых контактах, которое должно быть не менее 10 МОм; испытать электрическую прочность изоляции, которая должна выдержать 2500 В в течение 1 мин, не создавая пробоя изоляции или перекрытия по поверхности; проверить время срабатывания реле при
І = 1,21 Ін, которое не должно превышать 20 мин; проверить величину раствора контактов, которые должны быть не менее (1±0,2) мм, и усилие нажатия на контактный мостик, которое должно быть не менее 1,80 Н.
Рис. 6. Тепловое реле ТРП: а — термоэлемент; б— общий вид, в — схема проверки реле; Т1 — автотрансформатор, F—предохранитель, Т2 — трансформатор 220/12(36) В, ТР — тепловые реле, Q1 и Q2 — выключатели, ТА — трансформатор тока
Расцепитель минимального напряжения автоматических выключателей типа АВМ. Расцепитель (рис. 7, а) должен быть отрегулирован так, чтобы при снижении напряжения до 30% номинального и ниже он отключал бы выключатель, а при напряжении 50% и выше — нет.
Рис. 7. Расцепители автомата АВМ минимального напряжения (а) и максимального тока (б)
Регулировка срабатывания расцепителя производится натяжением пружины 1 и регулировочным винтом 7.
Зазор между ярмом 4 и сердечником 2, который образуется выступающей частью заклепки 5, у расцепителей постоянного тока должен быть 0,4—0,5 мм. Зазор между бойком 6 ярма и скобой отключающего валика 8 при притянутом ярме должен быть 1,5—2,5 мм. Зазор регулируется подгибом скобы. При отключенном выключателе между ярмом и сердечником должен быть зазор 0,4—0,8 мм. Для смены или ремонта катушки 3 расцепителя нужно отсоединить провода, снять пружину, ярмо и после этого катушку. После смены катушки регулировочным винтом отрегулировать натяжение пружины и напряжение срабатывания расцепителя.
Расцепитель максимального тока автомата АВМ. Регулирование тока срабатывания максимального расцепителя производится изменением натяжений пружины (рис. 7, б). Для нормальной работы максимального расцепителя необходимо проверить раствор между ярмом 9 и сердечником 10 магнитной системы. Необходима такая длина тяги часового механизма 13, чтобы угол А был равен 45° и метка на колодке 14 находилась напротив метки на корпусе часового механизма, а при отжимании скобы 17 получился бы некоторый зазор и метка на колодке совпала с меткой на корпусе часового механизма; при выходе из зацепления часового механизма между бойком 24 и кулачком 22 отключающего валика 20 и 21 нужен зазор 1-—1,5 мм.
В момент отключения выключателя максимальным расцепителем через рычаг отключающего валика должен оставаться зазор 1,5—2 мм между бойком 23 и кулачком 19. Регулировка зазора осуществляется поворотом кулачков 19 и 22 на отключающих валиках 20 и 21. Отключение выключателя максимальным расцепителем должно наступить раньше, чем ярмо 9 дойдет до упора 11 на сердечнике 10.
Независимый максимальный расцепитель выключателя «Электрон» унифицированный). Расцепитель (рис 8, а) имеет изоляционный корпус 1, катушку 2, ярмо, на котором окроплена катушка, два сердечника, между которыми находится подвижное ярмо 6, валик 7, толкатель 5, упор толкателя 9, пружина 8, связанная с ярмом 11, скоба 3, пружина толкателя 10, пластина 4. У расцепителя в исходном положении ярмо в оттянуто пружиной 8 и к сердечникам не прилегает. При подаче напряжения на катушку расцепителя от полупроводникового блока МТЗ ярмо преодолевает натяжение пружины 8 и притягивается к сердечнику. При повороте ярма поворачивается валик 7, освобождая упор толкателя 9. Толкатель 5 при перемещении вверх под действием пружины 10 поворачивает отключающий валик, и выключатель отключается.
Рис. 8. Расщепители автомата «Электрон» а — максимальный токовый, 6 — минимального напряжения
Расцепитель минимального напряжения выключателя «Электрон». Расцепитель имеет ярмо 14 (рис. 8, б), которое в исходном положении притянуто к сердечникам, так как катушка 2 находится под напряжением, будучи подключена к выводам со стороны питания. При снижении напряжения в защищаемой цепи до 0,7 номинальной величины пружина 12 оттягивает ярмо от сердечника, освобождает упор толкателя 13 путем поворота валика. Толкатель при перемещении вверх под действием пружины 15 выключает выключатель. Необходимо проверять зацепление И, которое должно быть в пределах 0,7—1 мм.
Расцепитель максимально-токовой защиты (МТЗ). Расцепитель состоит из датчика тока (для переменного тока — трансформатора тока), блока сопротивления, полупроводникового блока и расцспителя МГЗ. Реле откалиброваны на заводе-изготовителе на определенную уставку по току и времени.
Блок МТЗ не срабатывает и выключатель не отключается по одной из следующих причин: нарушен контакт в цепи от датчика до блока МТЗ, неисправны трансформаторы тока, обрыв или витковое замыкание катушки максимального расцепителя, неисправность блока МТЗ, нарушение регулировки расцепителя с отключающим валиком. Возможные неисправности: зацепление И упора 9 толкателя за валик 7 мало— необходимо установить зацепление 0,7—1,0 мм (рис. 8, б); при включении минимальный расцепитель отключает выключатель при нормальном напряжении — необходимо проверить цепь катушки и восстановить контакт; при нажатии на кнопку включения электропривод не работает — проверить цепь управления приводом: ярмо реле не притягивается — проверить исправность катушки; выключатель не отключается при срабатывании одного из расцепителей — довести зацепление И до нормы, проверить катушки расцепителей.
Расцепители максимального тока автомата проверяют током нагрузки, присоединив автомат к нагрузочному трансформатору НТ-10 (или аналогичного) и постепенно увеличивая ток нагрузки до срабатывания расцепителя. Трансформатор рассчитан на ток до 10 кА при напряжении 2—4 8 И и мощности 50 кВ-А. Все обнаруженные дефекты подлежат устранению или ремонту.
Реле минимальною напряжения мгновенного действия РНМ с выдержкой времени РНВ и максимального тока мгновенного действия РТМ с выдержкой времени РТВ. Они являются вторичными реле прямого действия, встраиваемыми в привод, в частности ПП-67. При осмотре и ремонте проверяют состояние сердечников, ударников, на которых не должно быть вмятин, глубоких рисок и деформаций. Если таковые есть, их устраняют шлифованием. Проверяют наличие осевых люфтов, которые устраняют регулировочным винтом. Проверяют состояние пружин и механизмов выдержки времени. Неисправные пружины заменяют. Проверяют и испытывают изоляцию обмоток реле. Проверяют места креплений, ослабленные пинты подтягивают. Проверяют четкость и безотказность работы реле при различных уставках тока, напряжения и времени.
Реле вторичные косвенного действия тока РТ и напряжении РН (рис. 9). Проверка реле включает: внешний осмотр, который сводится к очистке от пыли и грязи, проверке наличия пломб, маркировки, плотности прилегании кожуха реле к цоколю, целостности стекол; внутренний осмотр (при необходимости), при котором проверяют отсутствие пыли и посторонних частиц, осмотр деталей, крепление винтов, гаек, неподвижных контактов (17,18), состоящих из заднего гибкого упора 19, переднего упора 20 и бронзовой пластинки с серебряной напайкой 21.
Проверяют трение работы механизма, для чего надо установить указатель на первую уставку шкалы 8 и повернуть ярмо 14 в сторону магнитопровода 1, при этом размыкающие контакты должны разомкнуться, а замыкающие — замкнуться. Отпущенная подвижная система должна четко вернуться в исходное положение.
Рис. 9. Реле вторичные косвенного действия тока РТ и напряжения РН: а — общий вид, б — неподвижные контакты, в — схема устройства реле, г — схема соединений, д — схема испытания реле РТ, е — то же, реле РН; SF — автомат, Т1 — автотрансформатор, Т2 — трансформатор ОСО-0,25, КА — реле тока, KV — реле напряжения, ТА — трансформатор тока, R — реостат, HL — сигнальная лампа
Определяют надежность фиксации упоров (левый упор 16), положение спиральной пружины 12 и крепление ее к хвостовику 13 ярма 14. Проверяют надежность затяжки гайки, обеспечивающей необходимое трение при перемещении указателя 9 по шкале 8. Контактные поверхности (подвижные 6 и неподвижные 17 и 18) очищают воронилом и протирают чистой тряпкой. Пользоваться для этой цели надфилем, бензином или касаться поверхности контактов руками запрещается! Ход контактов до замыкания не должен быть больше 2,5 мм. Угол поворота контактного мостика определяется упорами 16, имеющимися на ярме, и может изменяться посредством подгибания упоров.
Проверяют целостность обмоток 2 и сопротивление изоляции, которая должна быть 50 кОм. Электрическая прочность изоляции должна выдержать 1000 В, 50 Гц в течение 1 мин без перекрытия и пробоя. Проверяют ток (напряжение срабатывания, коэффициент возврата), пользуясь заводской документацией.















