144564 (620633)
Текст из файла
МИНИСТЕРСТВО ОБРАЗОВАНИЯ РЕСПУБЛИКИ БЕЛАРУСЬ
УО «ГРОДНЕНСКИЙ ГОСУДАРСТКЕННЫЙ УНИВЕРСИТЕТ ИМ. Я. КУПАЛЫ»
Кафедра строительных материалов и конструкций
КУРСОВОЙ ПРОЕКТ
по дисциплине «АРХИТЕКТУРА»
Тема: Промышленное здание из крупноразмерных элементов
Цех металлоконструкций
(завода металлоконструкций)
Содержание
-
Исходные данные
-
Генеральный план
-
Объёмно-планировачные решения
-
Конструктивные решения
-
Расчёт бытовых помещений
Список литературы
Исходные данные
-
Цех Металлоконструкций №1.
-
Планировочная схема 4.
А=18м. Б=24м. В=24м. Г=24м.
НА=12,6м. НБ=12,6м. НВ=14,4м. НГ=10,8м.
QA=5т QБ=5т QВ=20т QГ=20т
L=72м
Шаг колонн Дк=6м. Дср=6м.
-
Район строительства город Слуцк.
-
Данные для расчёта бытовых помещений.
- списочный состав рабочих Р= 260чел.
- количество рабочих в максимальной смене С=150чел.
- процент женщин Ж=30%
- количество рабочих, пользующихся душем ПД=50%
-
Состав помещений завода металлоконструкций
-
административно-общественная зона:
-
проходная 12х12м
-
заводоуправление 12х48м
-
административно-бытовой корпус 18х54м
-
производственная зона
-
Цех металлоконструкций №-1 (проект) 90,6х48м
-
Цех металлоконструкций №-2 72х144м
-
Цех металлоконструкций №-3 72х120м
-
обслуживающая зона
-
Инструментальный цех 30х60м
-
ремонтно-механический цех 48х60м
-
склады металла 48х72м
-
склад готовой продукции 30х72м
-
2. Генеральный план
При разработке генплана придерживаемся принципа функционального зонирования площадки с учетом технологических и планировочных связей между зонами и составляющими их зданиями и сооружениями.
Всего на генплане выделяем четыре основные зоны - административно-общественная, производственная (с разделением на секторы основного и сопутствующего производства), обслуживающая, вспомогательно-подсобная (энергетические объекты). При этом соблюдаем следующие требования:
- здания административного, хозяйственного и обслуживающего назначения, а также площадки остановок и стоянок общественного и индивидуального транспорта располагаем со стороны наибольшего движения потоков людей от селитебной территории;
- здания и сооружения с производствами повышенной пожарной опасности располагаем с подветренной стороны по отношению к другим зданиям и сооружениям;
- здания сопутствующего производства размещаем в зоне, соседней с зоной основного производства;
- складские здания и сооружения располагаем с учетом аффективного использования путей для погрузочных и разгрузочных операций;
- основные склады сырья и топлива размещаем около внешних границ промышленной площадки или на ближайших участках за ее пределами;
- энергетические объекты должны быть приближены к основным потребителям при наименьшей протяженности тепло- , газо-, паропроводов и линий электропередачи.
На складах металла применяют мостовые краны, электрические магнитные краны-автопогрузчики и др.
Разрывы между зданиями и сооружениями устанавливайся согласно санитарным и противопожарным нормам. Минимальное расстояние между торцами, а также между 'длинными сторонами и торцами зданий составляет 12 м. Наименьшая величина -противопожарного разрыва= 9м.
К каждому зданию предусматриваем удобные подъезды (не менее двух) и проходы к бытовым помещениям. Ширина проездов для двухстороннего движения - не менее 6 м, одностороннего - 3,5 м. Радиус закругления дорог - 10 м. Ширина тротуаров должна быть кратна 0,75 м, но не менее 2,25 м.
Проектируемый цех металлоконструкций расположен на отведенном под строительство участке в г. Слуцк обл.Минская. Территория свободна от застройки. Участок строительства расположен в непосредственной близости от автомобильной дороги. Главный въезд на территорию предусмотрен с указанной автодороги.
Свободная от застройки территория озеленяется за счет посадки деревьев, кустарников и посева газона.
Спецификация зданий
| наименование | Размеры в плане м | Площадь м2 |
| административно-общественная зона | ||
| проходная | 12х12 | 144 |
| заводоуправление | 12х48 | 576 |
| АБК | 18х54 | 972 |
| производственная зона | ||
| Цех металлоконструкций №-1 | 90,6х48 | 4348,8 |
| Цех металлоконструкций №-2 | 72х144 | 10368 |
| Цех металлоконструкций №-3 | 72х120 | 8640 |
| обслуживающая зона | ||
| Инструментальный цех | 30х60 | 1800 |
| Ремонтно- механический цех | 48х60 | 2880 |
| Склад металла | 48х72 | 3456 |
| Склад готовой продукции | 30х72 | 2160 |
ТЭП Генплана
При проектировании генплана промышленного предприятия определяем следующие технико-экономические показатели.
- Площадь застройки Sуч= 9,8532га
- Площадь занятая зданиями и сооружениями Sзд= 35344м2.
- Плотность застройки Пз=35,84 %
- Протяжённость ограждения Lогр=1248 м.
- Площадь мощёных частей территории Sмощ= 38288м2.
Объёмно-планировочное решение
Объёмно-планировочное решение характеризуется следующими основными пространственными параметрами:
Пролёт (расстояние между продольными модульными осями – принимается кратным 6м); А=18м. Б=24м. В=24м. Г=24м
Шаг (расстояние между поперечными модульными осями – кратно 6м): Дк=6м. Дср=6м.
Высота (расстояние от уровня пола до низа несущих конструкций покрытия на опоре – кратно 0,6м.)
НА=12,6м. НБ=12,6м. НВ=14,4м. НГ=10,8м
Привязка конструктивных элементов здания к модульным осям производим по следующим правилам:
-в одноэтажных зданиях колонны средних рядов располагают так, чтобы геометрические оси сечения нижней части колонн совпали с продольными и поперечными модульными осями. Исключения допускаются в отношении колонн по линиям деформационных швов и перепадов высот;
-в зданиях со стенами из панелей и покрытиями по стропильным фермам (балкам) внешнюю грань колонн совмещают с крайней продольной разбивочной осью, а внутреннюю плоскость стены смещают наружу на 30 мм в следующих случаях:
а) в зданиях без мостовых кранов со сборным железобетонным каркасом при шаге крайних колонн 6 или 12 м, а также в зданиях со стальным или смешанным каркасом при шаге колонн крайнего ряда 6 м;
б) в зданиях с электрическими мостовыми кранами грузоподъемностью до 30 т и сборным ж/б или смешанным каркасом при шаге колонн б м и высоте не более 14,4. м;
в) в зданиях с ручными мостовыми кранами;
-внешнюю грань смещают наружу с крайней продольной разбивочной оси на 250 мм (привязка 250), а между внутренней плоскостью стены и гранью колонн предусматривают зазор 30 мм в следующих случаях:
а) в зданиях без мостовых кранов со стальным или смешанным каркасом при шаге крайних колонн 12 м;
б) в зданиях с электрическими мостовыми кранами при шаге крайних колонн 12 м и в зданиях со стальным каркасом при шаге крайних колонн 6 м;
в) в зданиях с электрические кранами грузоподъемностью более 30 т и сборным ж/б или смешанным каркасом при шаге крайних колонн 6 м и высоте 12 м и более;
г) при наличии проходов вдоль крановых путей;
- колонны и наружные стены из панелей привязывают к крайним поперечным разбивочным осям, а также колонны к средним поперечным осям по линиям поперечных температурных швов в зданиях с покрытиями по стропильным балкам (фермам) следующим образом:
а) в торцах зданий геометрические оси сечения колонн основного каркаса смещают внутрь на 500 мм с крайней разбивочной оси, а внутренние поверхности стен - наружу на 30 мм в той же оси;
б) по линиям поперечных температурных швов геометрические оси сечения колонн смещают на 500 мм в обе стороны от оси шва, совмещаемого с поперечной разбивочной осью ;
в) в зданиях со сборным ж/б каркасом между поперечными температурными швами более, 144 м в швах предусматриваются парные разбивочные оси со вставкой между ними 1000 мм, а геометрические оси сечения колонн смещают на 500 мм с каждой из этих осей.
При устройстве продольных деформационных швов или перепада высот параллельных пролётов на парных колоннах следует предусматривать парные модульные разбивочные оси со вставкой между ними.
В зависимости от размера привязки колонн в каждом из смежных пролетов одинаковой высоты размеры вставок между парными продольными разбивочными осями принимает равными 500, 750 и 1000 мм.
Размер вставки между продольными разбивочными осями по линии перепада высот параллельных пролетов принимается в зависимости от толщины стеновых панелей и вида привязки колонн смежных пролетов. Аналогично назначается размер вставки между парными осями у деформационного шва, устраиваемого в местах взаимно перпендикулярного расположения пролетов друг относительно друга.
Конструктивные решения
Выбор конструктивных элементов и изделий осуществляем исходя из объёмно-планировочных параметров, вида и грузоподъемности кранового оборудования, климатологических характеристик района строительства.
Подбор элементов каркаса и ограждающих конструкций выполняем на основе территориальных каталогов железобетонных и металлических конструкций для промышленного строительства в Белорусской ССР ,ТК1-03.00.89, издания 1990г. В качестве конструктивной основы здания принимаем сборный железобетонный каркас с применением унифицированных элементов и изделий заводского изготовления.
Железобетонный каркас
1. Фундамент
Фундаменты под колонны выполняются монолитными железобетонными, стаканного типа с размерами, полученными в результате расчета в зависимости от инженерно-геологических условий площадки строительства.
Типовые столбовые монолитные железобетонные фундаменты под колонны промышленных зданий состоят из подколонника и одно-, двух- или трехступенчатой плитной части. Обрез фундамента располагается на отметке – 0,15м.
При вскрытии основания целиковый грунт, непосредственно воспринимающий нагрузку, выравнивается и накрывается бетонной подготовкой толщиной 100мм из бетона марки 50. на бетонную подготовку ложится подошва фундамента.
Высота ступенчатой плитной части 0,3м. площадь сечения подколонников принята 1,2х1,2м она выбирается в связи с нагрузкой, передаваемой колонной, и допускаемым удельным давлением грунта.
Зазор между гранями колонн и стенами стакана принят по верху 75мм и по низу 50мм, а между низом колонн и дном стакана 50мм. Заливка стаканов после установки колонн производится бетоном марки 200 на мелком гравии.
Фундамент под смежные колонны в температурных швах делается общий, независимо от числа колонн в узле.
2. Фундаментные балки
Балки предназначены для применения в промышленных каркасных зданиях в качестве фундаментов самонесущих стен. В данном проекте принимаются двенадцатиметровые фундаментные балки. Балки имеют трапецеидальное поперечное сечение со скосами, облегчающими извлечение балок из форм при изготовлении. Конструктивная длина балок выбирается в зависимости от ширины подколонника и местоположения балок (в средних шагах или у температурных швов). Верхняя грань всех балок располагается на 30мм ниже уровня чистого пола.
Балки свободно устанавливают на бетонные столбики необходимой высоты, бетонируемые на уступах фундаментов колонн. Зазоры между торцами балок, а также между концами балок и колоннами заполняют бетоном марки М 100.
3. Колонны
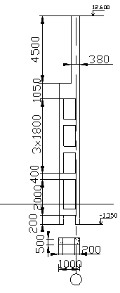
Колонны подбираются с учетом высоты каркаса, грузоподъемности крана и шага колонн. Для секций А и Б с высотой каркаса 12,6м и грузоподъемностью мостового крана 10т принимаем двухветвевые колонны марки КД 11-1 высотой 12,6м ;для секции В с высотой каркаса 14,4м и грузоподъемностью мостового крана 20т принимаем двухветвевые колонны марки КД 11-15 высотой 14,4м ; для секции Г с высотой каркаса 10,8 м и грузоподъемностью мостового крана 20т принимаем двухветвевые колонны марки КД 11-1 высотой 10,8 м Закладные элементы в местах опирания подкрановых балок и стропильных конструкций состоят из стального листа с пропущенными сквозь него анкерными болтами. Для соединения с фундаментом колонна заводится в стакан на глубину до 0,8м.
Рис 1.колонна прямоугольного сеченияK1(КП-15).
Характеристики
Тип файла документ
Документы такого типа открываются такими программами, как Microsoft Office Word на компьютерах Windows, Apple Pages на компьютерах Mac, Open Office - бесплатная альтернатива на различных платформах, в том числе Linux. Наиболее простым и современным решением будут Google документы, так как открываются онлайн без скачивания прямо в браузере на любой платформе. Существуют российские качественные аналоги, например от Яндекса.
Будьте внимательны на мобильных устройствах, так как там используются упрощённый функционал даже в официальном приложении от Microsoft, поэтому для просмотра скачивайте PDF-версию. А если нужно редактировать файл, то используйте оригинальный файл.
Файлы такого типа обычно разбиты на страницы, а текст может быть форматированным (жирный, курсив, выбор шрифта, таблицы и т.п.), а также в него можно добавлять изображения. Формат идеально подходит для рефератов, докладов и РПЗ курсовых проектов, которые необходимо распечатать. Кстати перед печатью также сохраняйте файл в PDF, так как принтер может начудить со шрифтами.
















