144363 (620543)
Текст из файла
1. Исходные данные
-
Плита - ребристая;
-
Ригель сечением - прямоугольным;
-
Пролет - средний;
-
Размер ячейки вдоль -5,9 м, поперек – 6,3 м здания;
-
Количество этажей – 4;
-
Высота этажа – 4,2 м;
-
Нормативная нагрузка от массы:
-
кровли – 1,3 кНм2;
-
пола – 1,5 кНм2;
-
Толщина пола – 11 см;
-
Район проектирования – II;
-
Нормативная временная нагрузка:
-
длительная – 2,8 кНм2;
-
кратковременная – 3,5 кНм2;
-
полная – 6,3 кНм2.
2. Разработка конструктивной схемы сборного перекрытия
Рис. 1 План расположения ригелей и панелей
Длина здания в осях равна произведению продольного размера ячейки на число ячеек вдоль здания.
Ширина здания в осях равна произведению поперечного размера ячейки на число ячеек поперёк здания.
Привязку стен здания и их толщину принимаю 200 и 640 мм (рис. 1).
Для обеспечения жёсткости здания в поперечном направлении и во избежание утяжеления надоконных перемычек принимаю поперечное расположение ригелей по осям простенков и продольное - панелей перекрытия. Номинальная ширина каждой панели принимается одинаковой для всего перекрытия в пределах 1,3…1,7 м, и вычисляется по формуле:
Рис. 2 Поперечное сечение панелей перекрытия
Принимаю bн=1,575 м, hп=350 мм, tп=65 мм. (рис. 2).
3. Проектирование панели сборного перекрытия
3.1 Конструктивная схема
Рис. 3 Ригель прямоугольного сечения, ребристая панель
Ребристая панель устанавливается на прямоугольные ригели поверху и закрепляется сваркой закладных деталей.
3.2 Расчетная схема и нагрузки
Рис. 4 Расчетная схема панели
Поскольку возможен свободный поворот опорных сечений, расчётная схема панели представляет собой статически определимую однопролётную балку, загруженную равномерно распределённой нагрузкой, в состав которой входят постоянная, включая вес пола и собственный вес панели, и временная.
Нормативная нагрузка (кН/м2) от собственной массы панели определяется, как:
, где
ρ = 2500 кг/м3 — плотность железобетона;
Аполн — площадь поперечного сечения панели по номинальным размерам, м2;
Апуст — суммарная площадь пустот в пределах габарита сечения, м2.
Подсчёт нормативных и расчётных нагрузок с подразделением на длительно и кратковременно действующие выполняется в табличной форме.
Таблица 1. Нормативные и расчётные нагрузки на панель перекрытия
| Наименование нагрузки | На 1м2 панели | На 1 погонный метр панели | ||||
| нормативная, кН/м2 | коэффициент надёжности | расчётная, кН/м2 | нормативная, кН/м2 | расчётная, кН/м2 | ||
| 1. Постоянная (длительно действующая) |
|
|
| |||
| а) От собственного веса панели | 2,54 | 1,1 | 2,79 | 4,0 | 4,39 | |
| б) От собственного веса конструкции пола | 1,5 | 1,3 | 1,95 | 2,36 | 3,07 | |
| Итого |
|
| 4,74 | 6,36 | 7,46 | |
| 2. Временная нагрузка |
|
|
|
| ||
| в) Длительно действующая часть нагрузки | 2,8 | 1,2 | 3,36 | 4,41 | 5,29 | |
| г) Кратковременно действующая часть нагрузки | 3,5 | 1,2 | 4,2 | 5,51 | 6,61 | |
| Итого |
|
| 7,56 | 9,92 | 11,9 | |
| Всего |
|
| 12,3 | 16,28 | 19,36 | |
| В том числе длительная нормативная |
|
|
| 10,77 |
| |
3.3 Статический расчет
Для выполнения расчётов по первой и второй группам предельных состояний нужно вычислить следующие усилия:
— изгибающий момент (кН·м) от полной расчётной нагрузки:
— изгибающий момент (кН·м) от полной нормативной нагрузки:
— изгибающий момент (кН·м) от нормальной длительно действующей нагрузки:
— поперечная сила (кН) от полной расчётной нагрузки:
3.4 Расчет по I группе предельных состояний
3.4.1 Исходные данные
Панель перекрытия запроектирована из тяжёлого бетона класса В25, подверженного тепловой обработке при атмосферном давлении.
В зависимости от принятого класса бетона по табл. 12, 13, 18 [1] определяю характеристики бетона, которые свожу в таблицу.
Таблица 2. Характеристика бетона
| Класс бетона на сжатие | Коэффициент условий работы бетона (табл. 15 [2]) γв2 | Расчётные сопротивления для предельных состояний. МПа | Начальный модуль упругости, МПа Еb | ||||
| Первой группы | Второй группы | ||||||
| Rb | Rbt | Rb, ser | Rbt, ser | ||||
| В25 | 1 | 14,5 | 1,05 | 18,5 | 1,6 | 27·103 | |
| 0,9 | 13,05 | 0,95 | — | — | |||
Примечание: при расчёте по первой группе предельных состояний
Rb и Rbt следует принимать с коэффициентом γb2=0.9
Класс арматуры принимаю в соответствии с указаниями п. 2.19 а, б, в и п. 2.24[1]. В зависимости от класса арматуры по таблицам 19, 20, 22, 23, 29 [1] определяю характеристики арматуры и заношу в таблицу.
Таблица 3. Характеристики арматуры
| Класс арматуры, диаметры | Расчётные сопротивления для предельных состояний. МПа | Модуль упругости арматуры, МПа Es | ||||
| Первой группы | Второй группы | |||||
| Rs | Rsw | Rsc | Rs, ser | |||
| А – I | 225 | 175 | 225 | 235 | 210·103 | |
| А – III (10…40 мм) | 365 | 290 | 365 | 390 | 200·103 | |
| Вр – I (4 мм) | 365 | 265 | 365 | — | 170·103 | |
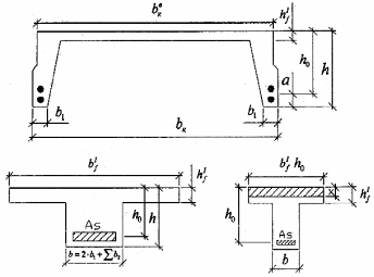
При расчёте прочности нормальных и наклонных сечений поперечное сечение панели приводится к тавровому профилю.
Рис. 5 К расчету прочности нормальных сечений
Вводимая в расчёт ширина полки приведённого сечения
для ребристых панелей не должна превышать:
а) ширину панели поверху
;
б)
,
где
;
в) 12·
+b - для сечений при
(п. 3.16 [1]).
Принимаю
.
Рабочая высота (см) сечения панели:
, где
а — расстояние от наиболее растянутого края сечения до центра тяжести растянутой арматуры панели, принимаю в соответствии с назначенной толщиной защитного слоя по п. 5.5 [1], для ребристых панелей (расположение арматуры в два ряда по высоте) – 50…60 мм.
3.4.2 Расчет прочности нормальных сечений
Расчёт прочности нормальных сечений производится в соответствии с п. 3.16 [1] (рис. 5). Предполагаю, что продольной сжатой арматуры по расчёту не требуется.
Требуемую площадь сечения растянутой арматуры определяю в зависимости от положения нейтральной оси
При соблюдении условия нейтральная линия располагается в полке.
Параметр α0 определяется с учётом свесов полки:
По таблице 7 [2] определяю коэффициент ν = 0,976 и подсчитываю требуемую площадь растянутой арматуры (см2)
По таблице 8 [2] принимаю 4Ø16 А–III AS=8,04 см2
Размещение принятой арматуры должно производиться в соответствии с п. 5.12; 5.18 [1]
После размещения принятой арматуры провожу корректировку значений а и h0:
a = 20+16+16/2 =44 мм
h0 = h – a = 350 – 44 = 306 мм = 30,6 см
Проверка прочности нормального сечения
Характеристики
Тип файла документ
Документы такого типа открываются такими программами, как Microsoft Office Word на компьютерах Windows, Apple Pages на компьютерах Mac, Open Office - бесплатная альтернатива на различных платформах, в том числе Linux. Наиболее простым и современным решением будут Google документы, так как открываются онлайн без скачивания прямо в браузере на любой платформе. Существуют российские качественные аналоги, например от Яндекса.
Будьте внимательны на мобильных устройствах, так как там используются упрощённый функционал даже в официальном приложении от Microsoft, поэтому для просмотра скачивайте PDF-версию. А если нужно редактировать файл, то используйте оригинальный файл.
Файлы такого типа обычно разбиты на страницы, а текст может быть форматированным (жирный, курсив, выбор шрифта, таблицы и т.п.), а также в него можно добавлять изображения. Формат идеально подходит для рефератов, докладов и РПЗ курсовых проектов, которые необходимо распечатать. Кстати перед печатью также сохраняйте файл в PDF, так как принтер может начудить со шрифтами.















