144337 (620518), страница 8
Текст из файла (страница 8)
║P- 8 ║ ┐┌125*8 ║ C245 ║ 39.38 ║ 3.87 ║ 5.46 ║
║C- 1 ║ - ║ - ║ - ║ - ║ - ║
║C- 2 ║ ┐┌63*5 ║ C245 ║ 12.26 ║ 1.94 ║ 2.96 ║
║C- 3 ║ ┐┌63*5 ║ C245 ║ 12.26 ║ 1.94 ║ 2.96 ║
║C- 4 ║ ┐┌63*5 ║ C245 ║ 12.26 ║ 1.94 ║ 2.96 ║
║C- 5 ║ - ║ - ║ - ║ - ║ - ║
╚═══╩═════╩═══╩═════╩═══╩════╝
В столбце табл.5.4 для неравнополочных уголков
первая цифра указывает размер горизонтальной полки в мм.
При вычислении радиусов инерции сечений стержней фермы толщина
фасонок принята равной 10.0 мм.
Результаты расчёта стержней приведенны в табл.5.5.
Таблица 5.5
Результаты конструктивного расчёта стержней фермы
╔════╦═══╦══════╦════════╦════╦════════╦═════╦═════╦═══╗
║Эле- ║Мар- ║Расчёт-║ Гибкость ║Пре- ║Расчётная ║Коэф-║Напря-║Рас-║
║мент ║ка ║ное ║ ║дель-║ длина ║фици-║жение,║чёт-║
║фер- ║эле- ║усилие,╠═════╦═════╣ная ╠═════╦═════╣ент ║ МПа ║ное ║
║мы ║мен- ║ кН ║ в ║ из ║гиб- ║ в ║ из ║про- ║ ║соп-║
║ ║та ║ ║плос-║плос-║кость║плос-║плос-║доль-║ ║ро- ║
║ ║ ║ ║кости║кости║ ║кости║кости║ного ║ ║тив-║
║ ║ ║ ║фермы║фермы║ ║фермы║фермы║изги-║ ║лен.║
║ ║ ║ ║ ║ ║ ║ (м) ║ (м) ║ба ║ ║МПа ║
╠══╬═╬═══╬══╬══╬═╬═══╬══╬═══╬══╬════╣
║ ║В 1 ║ 23.7║183.0║114.1║250.0║ 2.80║ 2.80║ - ║ 25.9 ║240 ║
║верх ║В 2 ║ -361.2║ 97.4║ 67.4║121.2║ 3.00║ 3.00║0.523║264.6 ║270 ║
║ний ║В 3 ║ -361.2║ 97.4║ 67.4║121.2║ 3.00║ 3.00║0.523║264.6 ║270 ║
║пояс ║В 4 ║ -473.5║ 88.5║ 61.5║121.8║ 3.00║ 3.00║0.622║232.8 ║240 ║
║ ║В 5 ║ -473.5║ 88.5║ 61.5║121.8║ 3.00║ 3.00║0.622║232.8 ║240 ║
║ ║В 6 ║ -361.2║ 97.4║ 67.4║121.2║ 3.00║ 3.00║0.523║264.6 ║270 ║
║ ║В 7 ║ -361.2║ 97.4║ 67.4║121.2║ 3.00║ 3.00║0.523║264.6 ║270 ║
║ ║В 8 ║ 23.7║183.0║114.1║250.0║ 2.80║ 2.80║ - ║ 25.9 ║240 ║
╠═╬═══╬════╬═══╬═══╬════╬═══╬═══╬═╬═══╬═══╣
║ниж- ║Н 1 ║ 207.5║234.8║159.0║250.0║ 5.80║ 5.80║ - ║116.4 ║240 ║
║ний ║Н 2 ║ 449.0║242.9║164.5║250.0║ 6.00║ 6.00║ - ║251.9 ║270 ║
║пояс ║Н 3 ║ 449.0║242.9║164.5║250.0║ 6.00║ 6.00║ - ║251.9 ║270 ║
║ ║Н 4 ║ 207.5║234.8║159.0║250.0║ 5.80║ 5.80║ - ║116.4 ║240 ║
╠══╬══╬════╬═══╬════╬═══╬═══╬═══╬══╬═══╬═══╣
║ ║Р 1 ║ -314.6║109.7║ 77.7║136.2║ 4.25║ 4.25║0.480║175.2 ║240 ║
║рас- ║Р 2 ║ 224.5║229.0║178.5║300.0║ 3.50║ 4.38║ - ║246.1 ║270 ║
║косы ║Р 3 ║ -130.1║128.9║110.0║158.3║ 3.56║ 4.45║0.370║206.9 ║240 ║
║ ║Р 4 ║ 36.3║232.4║181.2║300.0║ 3.56║ 4.45║ - ║ 39.8 ║240 ║
║ ║Р 5 ║ 36.3║232.4║181.2║300.0║ 3.56║ 4.45║ - ║ 39.8 ║240 ║
║ ║Р 6 ║ -130.1║128.9║110.0║158.3║ 3.56║ 4.45║0.370║206.9 ║240 ║
║ ║Р 7 ║ 224.5║229.0║178.5║300.0║ 3.50║ 4.38║ - ║246.1 ║270 ║
║ ║Р 8 ║ -314.6║109.7║ 77.7║136.2║ 4.25║ 4.25║0.480║175.2 ║240 ║
╠══╬══╬════╬═══╬═══╬════╬═══╬═══╬═══╬═══╬═══╣
║ ║С 1 ║ - ║ - ║ - ║ - ║ - ║ - ║ - ║ - ║ - ║
║стой ║С 2 ║ -67.6║133.4║109.2║160.0║ 2.59║ 3.24║0.345║199.9 ║240 ║
║ки ║С 3 ║ -53.5║137.1║112.2║168.3║ 2.66║ 3.33║0.327║166.7 ║240 ║
║ ║С 4 ║ -67.6║133.4║109.2║160.0║ 2.59║ 3.24║0.345║199.9 ║240 ║
║ ║С 5 ║ - ║ - ║ - ║ - ║ - ║ - ║ - ║ - ║ - ║
╚══╩══╩═══╩══╩══╩══╩══╩══╩═╩═══╩══╝
5.5. Подбор сечений стержней
Подберем сечения стержней для первой панели.
Таблица5.6.
5.7 Расчет длин швов
Таблица5.8.
5.8 Расчет и конструирование узлов фермы
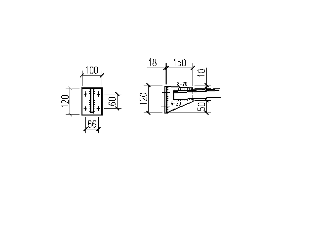
5.8.1 Нижний опорный узел
Толщину фасонок фермы принимаем в зависимости от усилий в опорном раскосе [1, табл. 9.2.]
; фасонка опорного узла
Торцевой лист принимаем толщиной 20 мм и шириной 180 мм, из условия размещения болтов. Напряжение смятия у торца:
где
- величина опорной реакции фермы
Толщина швов крепления опорного раскоса (Р-1) назначаем: на обушке 8мм, на пере 6 мм (их длины приведены в таблице 5.8.) То же для нижнего пояса (Н-1).
По требуемым расчетным длинам швов с учетом конструктивных требований (добавки 1 см длины на непровар и зазор между швами) намечаем графически конфигурацию и размеры опорной части фасонки.
Проверяем опорную фасонку на срез, а также швы ее крепления к торцовому листу (толщину швов назначаем 6мм):
Рис.5.2. Нижний опорный узел фермы
5.8.2 Верхний опорный узел
Рис.5.3. Верхний опорный узел фермы
При проектировании жесткого верхнего опорного узла, толщина фланца принимается
, расстояние между болтами b назначают минимальным и крепление необходимо рассчитать на силу N.
Момент при изгибе фланца определяется как в защемленной балке пролетом b, равным расстоянию между болтами:
напряжение в нем определяется по формуле:
где a и
длина и толщина фланца.
Количество болтов определяется по формуле:
Принимаем 4 болта 16 мм.
Обычно стремятся запроектировать верхний узел так, чтобы линия действия силы N проходила через центр фланца. В этом случае напряжение в швах, прикрепляющих фланец к фасонке, проверяют по формуле:
Шов крепления фланца к фасонке работает на срез и его длину определяют по формуле:
f=0,7, z=1,0, принимается по табл. 34 [5],
wf=wz=1, принимается по п.п. 11.2 [5].
Для сварки принимаем электроды типа Э46 по ГОСТ 9467-75, табл. 55 [5].
Rwf=20 кН/см2, по табл. 56 [5], Rwz=0,45∙Run=0,45∙37=16,7 кН/см2.
см
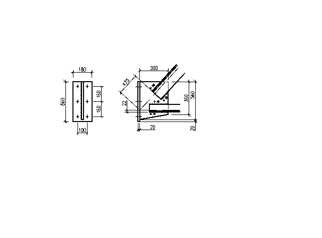
5.8.3 Промежуточный узел
Толщину фасонок фермы принимаем в зависимости от усилий в промежуточном узле [1, табл. 9.2.]
. Промежуточный узел фермы показан на рис. 5.4.
Рис. 5.4. Промежуточный узел фермы
Длина швов, прикрепляющих раскосы и стойки к фасонке, определяются по формулам
;
и приведены в таблице 5.8.
Так как к узлу приложена сосредоточенная нагрузка то швы прикрепляющие накладку (
; сечение накладки 150х10) к поясам воспринимают равнодействующее усилие от сосредоточенной силы и разности усилий в смежных панелях и возникающие напряжения в швах проверяются по формуле:
F – сосредоточенная узловая нагрузка (см. табл.5.1) F=29,16+38,4=67,56кН
Σkш·lш= 0,08· (2·0,25+0,65)=0,12м2 – суммарная площадь швов, крепящих накладку к поясам
Усилие действующее в накладке:
Расчетным усилием для швов, прикрепляющих левые уголки пояса к фасонке, будет большее из:
Расчетным усилием для швов, прикрепляющих правые уголки пояса к фасонке, будет большее из:
Длины швов, прикрепляющих верхний пояс к фасонке приведены в таблице 5.8.
Конструктивно длина швов прикрепляющих пояса к фасонке принята по всей длине фасонки.
6 Расчет подкрановой балки
6.1 Статический расчет
6.1.1 Определение расчетных усилий от колес кранов
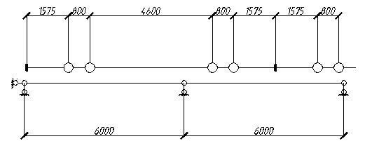
Таблица 6.1. - Технические характеристики крана.
| Пролет балки | Грузоподъемность крана, Qкр | Пролет крана, Lкр | Ширина крана, В | Расстояние между колесами | Давление колес Р1н | Вес тележки, gт | Вес крана, общий | Режим работы | Коэффициент надежности по нагрузке | Коэффициент сочетания |
| м | кН | м | м | м | кН | кН | кН | jf | Кс | |
| 6 | 800 | 21,5 | 9,35 | 1,575 0,8 4,6 0,8 1,575 | 370 | 380 | 1100 | 7к | 1,1 | 0,85 |
Расчетная вертикальная нагрузка от колес при совместном действии двух кранов:
Р=Кд∙jf∙Кс∙Рн=1,1∙1,1∙0,85∙370=380,5 кН,
Здесь Р1н, Р2н – нормативное давление колес; Кд – коэффициент динамичности по п.4.9 /3/.
Расчетная горизонтальная нагрузка на одно колесо крана от торможения тележки
Тк= Кд∙jf∙Кс∙Ткн=1,1∙1,1∙0,85∙14,75=15,1 кН,
Ткн = [(Qкр+gт)/N0]∙f=[(800+380)/4]∙0,05=14,75 кН
Где Qкр – грузоподъемность крана (кН); gт – вес тележки (кН); N0 – число колес на одной стороне крана; f – коэффициент трения (0,05 при гибком подвесе груза).
рис. 6.1. – Схема крановой нагрузки от двух сближенных кранов
При пролете балки 6 м. На ней помещается 4 колеса, но наихудшее положение крана:
рис. 6.2. – Схема определения максимального момента
Для определения положения равнодействующей от этих колес выбирается точка (первое колесо). Положение равнодействующей определяется из условия, что сумма моментов всех сил относительно первого колеса равна нулю. Поэтому расстояние от первого колеса до равнодействующей всех грузов:
6.1.2 Определение критического груза
Ближайшее к равнодействующей колесо считается критическим (колесо №1). Для его определения находят расстояния до этих колес.
6.1.3 Определение расстояний от колес до опор балки
Для определения Мmax необходимо грузы на балке расположить так, чтобы критическое колесо P5 и равнодействующая R находились на одинаковых расстояниях от середины пролета балки. Наибольший момент должен быть под критическим грузом.(см рис 6.2)
6.1.4 Проверка правильности расстановки колес на балке
Проверяем условие:
,
условие выполняется.
6.1.5 Определение наибольшего изгибающего момента
Изгибающие моменты можно определить по эпюре моментов, для чего построим ее (см рис 6.2)
6.1.6 Определение наибольшей поперечной силы
Для определения максимальной поперечной силы загружаем линию влияния поперечной силы на опоре рис. 5.3.
Рис. 6.3. Расчетная схема подкрановой балки при
Значение Qmax определяется линией влияния опорной реакции по формуле:
6.1.7 Определение изгибающего момента и поперечной силы в ПБ от сил торможения
От действия сил торможения тележки в горизонтальной плоскости верхнего пояса ПБ и тормозной балки возникает изгибающий момент и поперечная сила, полученные при расстановках, соответствующих Mmax и Qmax . Поэтому значения моментов и поперечной силы находятся пропорционально отношению силы торможения и вертикального давления.
Момент
















