45710 (607769), страница 3
Текст из файла (страница 3)
диапазон рабочих температур, отдельно может указываться для прокладки и эксплуатации;
допустимое растягивающее усилие;
минимальный радиус изгиба, постоянного и кратковременного;
максимальное раздавливающее усилие;
для самонесущих кабелей – длина пролета и стрела провиса;
внешний диаметр;
погонный вес;
материал внешней оболочки и/или характеристики горючести.
Оптический кабель требует особо бережного отношения при прокладке. Если для медного кабеля нарушение предельно допустимых параметров (усилия, радиус изгиба) приводит, как правило, только к ухудшению характеристик (до обрыва проводников дело доходит редко), то такие «вольности» с оптическим кабелем могут приводить к разрыву (излому) волокна. Для обнаженного волокна особенно опасно сочетание растяжения и изгиба, в кабелях с пустотелым буфером воздействие на волокно смягчается.
Оптический кабель чувствителен к перепадам температур, от которых волокно может трескаться. Для кабелей, выходящих из помещения, нужно принимать во внимание и воздействие градиента температуры: он определяется через разницу температур, которая зимой может достигать и 50-60 °С, и толщину стен. Если градиент выше допустимого, волокно может треснуть.
Для работы в условиях высокого уровня радиации требуется специальный кабель. От высокого уровня радиации волокно может мутнеть, в результате чего возрастет затухание сигнала в кабеле. Сверхмощное облучение (ядерный взрыв) приводит к резкому возрастанию затухания, которое экспоненциально снижается до допустимого за время, исчисляемое десятками минут.
Оптические соединители
Оптические соединители предназначены для постоянного или временного, разъемного или неразъемного соединения волокон. Основные параметры соединителя – вносимые потери и уровень обратного отражения. Для минимизации потерь необходимо точное взаимное позиционирование соединяемых волокон, что особенно сложно достичь для одномодовых волокон. Важной характеристикой соединителей является диапазон рабочих температур – тепловое расширение компонентов соединителя влияет на точность позиционирования со всеми вытекающими последствиями. Качество соединений сильно связано со стоимостью соединителей или необходимого оборудования, поэтому идеального соединителя на все случаи жизни нет.
Неразъемные соединители
Самое лучшее постоянное неразъемное соединение волокон обеспечивает сварка – вносимые потери < 0,05 дБ (типовое значение 0,01 дБ для ММ и 0,02 дБ для SM), обратные отражения < -60 дБ. Перед сваркой волокна освобождают от защитного буфера и специальным инструментом скалывают кончики. Качественно выполненная операция обеспечивает довольно гладкую поверхность скола, перпендикулярную к оси волокна. Подготовленные концы закрепляют в сварочном аппарате, который осуществляет точное позиционирование волокон по трем координатам. Позиционирование выполняется автоматически или вручную, под наблюдением через микроскоп. После точного совмещения стык сваривается электрической дугой. Место сварки из-за внутренних напряжений становится довольно хрупким. От излома его защищают специальной термоусадочной трубочкой, которую надевают на один из концов до сварки, а потом надвигают на стык и нагревают. Главный недостаток сварки –zнеобходимость использования дорогого оборудования и источника электроэнергии на месте работы. Сварка в основном применяется при прокладке длинных линий, где большое количество стыков ставит жесткие ограничения на вносимое затухание и надежность соединения.
Для неразъемного (постоянного или временного) соединения волокон без использования сварки применяют механические соединители – сплайсы (splice). Сплайсы фиксируют волокна в требуемом положении и обычно допускают многоразовое использование.
Разъемные соединители
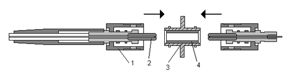
Для разъемного соединения двух волокон на их концы устанавливают коннекторы (connector), они же вилки, которые вставляют в соединительные розетки (receptacle), изображенные на рис. 9.
Коннектор имеет два функциональных элемента – корпус 1 и наконечник 2. Наконечник (ferrule), закрепляемый на волокне, обеспечивает его центровку в розетке. От материала, из которого изготовлен наконечник, зависит качество коннектора – уровень вносимых потерь. Лучшим материалом считается керамика – допуски при ее обработке минимальны, затем идет нержавеющая сталь, самые дешевые коннекторы имеют пластмассовый наконечник. Волокно закрепляется в наконечнике либо с помощью эпоксидного клея (традиционный способ), либо с помощью обжима соответствующей детали коннектора. Выступающий кончик волокна скалывают и полируют. Полировка необходима для того, чтобы стыкуемые волокна в наконечниках могли как можно ближе придвигаться друг к другу, а шероховатости поверхностей не вносили бы дополнительных потерь. Наконечник закрепляется в корпусе коннектора либо неподвижно, либо относительно свободно. Корпус обеспечивает закрепление кабеля и фиксацию коннектора в розетке. “Плавающее” закрепление наконечника защищает сам оптический стык от механических воздействий на корпус коннектора и кабель.
Рис. 9 Разъемное соединение
Розетка состоит из корпуса и центрирующей вставки. Корпус розетки 3 обеспечивает ее крепление на панели и фиксацию коннекторов. Вставка 4 обеспечивает точное взаимное позиционирование наконечников коннекторов. Материал вставки – керамика или бронза – влияет на качество соединителя, им определяется точность позиционирования наконечников.
По типу соединяемых волокон разъемы делятся на одномодовые и многомодовые. Для одномодовых требуется более высокая точность позиционирования (из-за малого диаметра сердцевины волокна). Здесь для наконечников коннекторов и центрующих вставок розеток обычно используют керамику, которую можно обрабатывать с меньшими допусками. В таких коннекторах часто применяют “плавающий” наконечник, чтобы внешние механические воздействия не приводили к нарушению позиционирования. Некоторые типы коннекторов выпускают с внутренним диаметром наконечника 125, 126 и 127 мкм, что связано с допуском на наружный диаметр оболочки волокна. При сборке таких коннекторов подбирают наконечник с минимальным диаметром, который удается надеть на конкретное волокно. Этим достигается наибольшая точность центровки. Для снижения уровня обратных отражений применяют наконечники с полировкой PC и АРС. По этим причинам одномодовые коннекторы дороже многомодовых вариантов коннекторов того же типа. Одномодовые коннекторы можно использовать и для многомодового волокна, но это слишком дорого.
Цветовая маркировка (по TIA/EIA-568A): многомодовые коннекторы и адаптеры (розетки) – бежевые, одномодовые — синие.
По количеству соединяемых волокон коннекторы делятся на одинарные (симплексные), дуплексные (двойные) и многоканальные.
В оптических коннекторах используются разные механизмы фиксации. Поворотные фиксаторы — байонетные (ST) или винтовые (FC) — не позволяют получать дуплексные конструкции с высокой плотностью портов. Гораздо удобнее фиксация “тяни-толкай” (push-pull), применяемая в разъемах SC (одиночных и дуплексных).
Типы коннекторов
В отличие от электрических разъемов, из которых в сетях применяется в основном один тип (RJ-45), оптических коннекторов существует великое множество, что не способствует удешевлению оптических технологий. Разъемы различаются размерами, формой, способом фиксации коннектора, количеством соединяемых волокон, простотой установки и требуемым для этого инструментом. При кажущейся простоте этих изделий они имеют высокую цену, обусловленную необходимостью применения прецизионной механической обработки деталей из специальных материалов для получения стабильных и повторяемых характеристик при работе в заданном диапазоне температур с гарантированным числом циклов соединений.
Коннекторы ST – одиночные, с байонетной фиксацией, диаметр наконечника 2,5 мм. Потери 0,2-0,3 дБ. Технология установки – клеевая или обжимная. Стандартами СКС допускаются, если уже используются в существующих линиях, но не рекомендуются для новых инсталляций.
Коннекторы ХТС – вариант ST с технологией обжима Light Crimp (только для ММ).
Коннекторы SC и SC Duplex – одиночные и дуплексные, диаметр наконечника 2,5 мм. Потери 0,2-0,3 дБ. В дуплексном варианте два одиночных коннектора объединяются общим зажимом или соединяются защелками. Фиксация “тяни-толкай”. Технология установки – клеевая или обжимная (Light-Crimp – только для ММ). Стандарты СКС рекомендуют этот тип для использования в кабельной сети здания.
Коннекторы FC и FC/PC – одиночные, с резьбовой фиксацией, диаметр наконечника 2,5 мм. Потери 0,2-0,3 дБ. Наконечник “плавает” относительно корпуса и оболочки кабеля. Устойчивы к вибрациям и ударам. Эффективны для SM-волокна, применяются в бортовых системах, кабельном телевидении, дальней связи.
Коннекторы FDDI – дуплексные, диаметр наконечника 2,5 мм. Фиксация с помощью двух боковых пружинящих защелок. Коннектор довольно громоздкий и дорогой. В основном применяется в аппаратуре FDDI. Система ключей предотвращает неправильное использование портов.
Рассмотренные выше коннекторы по сравнению с электрическими довольно громоздки, они не позволяют обеспечить высокую плотность портов на распределительных панелях и активном оборудовании. В TIA/EIA при разработке новой редакции стандарта 568 была предпринята попытка покончить с многообразием коннекторов и определить единый малогабаритный абонентский дуплексный соединитель, вписывающийся в габариты малогабаритной розетки RJ-45. Однако принять единый из нижеследующих так и не удалось.
Коннектор MT-RJ – малогабаритный дуплексный, имеет двухволоконный наконечник с закрепленными и отполированными фрагментами волокна. Фиксируется защелкой, предназначен для проводки внутри здания. Для оконцовки необходимо лишь зачистить кабель, сколоть волокна и зафиксировать их, как в сплайсе CoreLink. Выпускается для одномодовых и многомодовых (50/125 и 62,5/ 125) волокон. Уровень обратных отражений -44 дБ.
Коннектор OptiSPEED LC – улучшенный малогабаритный дуплексный вариант SC. Фиксация аналогична RJ-45. Потери 0,1-0,2 дБ, обратные отражения -20 дБ для ММ и -40 дБ для SM.
Коннектор OPTI-JACK – дуплексный, диаметр наконечника 2,5 мм, фиксация аналогична RJ-45. Потери 0,19 дБ SM и 0,16 дБ ММ, обратные отражения -20 дБ для ММ и -(40-45) дБ для SM.
Коннектор SCDC и SCQC – дуплексный и 4-канальный, наконечники 2,5 мм, фиксация аналогично SC.
Коннектор VF-45 – дуплексный, для выравнивания волокон используется V-образный профиль. Дешевый и простой в установке, потери 0,3 дБ, обратные отражения -20 дБ.
Розетки, адаптеры, аттенюаторы
Для каждого из вышеперечисленных типов коннекторов выпускаются розетки с различными вариантами крепления (резьба, фланец, защелки и т. п.). Для соединения разнотипных коннекторов применяют переходные розетки, среди которых распространены SC-ST SC-D-ST, SC-FC.
FM-адаптеры (Female-Male – вилка-розетка) представляют собой комбинацию коннектора и розетки со вклеенным отрезком волокна. Предназначены для защиты приемников и излучателей измерительной аппаратуры от механических повреждений при многократных подключениях-отключениях.
Адаптеры для обнаженного волокна применяют для временной оконцовки волокна (при тестировании). Они имеют коннектор с отполированным фрагментом волокна и подпружиненный фиксатор волокна. При нажатии на кнопку фиксатор открывается, и в адаптер можно ввести предварительно сколотое волокно. По отпускании кнопки волокно фиксируется. Адаптеры обеспечивают уровень вносимых потерь 1 дБ.
Аттенюаторы выполняются в виде розеток (фиксированные и регулируемые) или FM-адаптеров (только фиксированные).
Сетевые технологии
Варианты для оптоволоконных соединений имеют все классические и современные сетевые технологии. Каждая из них имеет характерные особенности: длину волны, режим передачи (MM/SM), ограничения на затухание и время распространения сигнала, требования к полосе пропускания, тип используемых коннекторов.
Ethernet 10/100/1000 Мбит/с
Для технологии Ethernet (10 Мбит/с) стандартный оптический коннектор, типа ST. Для технологии Fast Ethernet (100 Мбит/с) и Gigabit Ethernet (1000 Мбит/с) в основном применяют коннекторы SC, в более современной аппаратуре используют компактный MT-RJ.
IEEE 802.3
Стандарт 802.3 для оптической среды при скорости 10 Мбит/с, предусматривает длину волны 850 нм (ММ). Существуют и фирменные устройства на 1310 нм, используемые как с SM, так и с ММ. Предполагается введение альтернативного коротковолнового (850 нм) стандарта lOOBaseSX для связи ММ-волокном на короткие расстояния. Gigabit Ethernet имеет оптические версии с разной длиной волны: lOOOBaseSX -850 нм (MM), lOOOBaseLX - 1300 нм (MM/SM), lOOOBaseLH (предполагаемая) - 1310 или 1550 нм (SM). Лазерные передатчики портов Gigabit Ethernet при работе с ММ-волокном вызывают эффект дифференциальной модовой задержки.
Token Ring
Фирма IBM первоначально использовала ММ-волокно 100/140 нм. Стандарт 802.5 определяет ММ-волокно, длину волны 850 нм. В “фирменных” решениях используется и SM-волокно, 1310 нм. Оптические порты имеются в ряде хабов. Для соединения обычных портов существуют устройства TRC (Token Ring converter) и TRX (Token Ring extender).















