45710 (607769)
Текст из файла
Волоконно-оптические линии связи
Введение
Хотя и существуют сети, которые для передачи данных применяют радиопередачу и другие виды беспроводных технологий, но подавляющее большинство ЛВС в качестве передающей среды используют кабель. Чаще всего это кабель с медной жилой для переноса электрических сигналов, но оптоволоконный кабель со стеклянным сердечником, по которому передаются световые импульсы, начинает приобретать все большую популярность. В силу того, что оптоволоконный кабель использует свет (фотоны) вместо электричества, почти все проблемы, присущие медному кабелю, такие как электромагнитные помехи, перекрестные помехи (переходное затухание) и необходимость заземления, полностью устраняются.
Передача информации по оптическим линиям связи имеет всего лишь 50-летнюю, но весьма бурную историю. В основе оптической передачи лежит эффект полного внутреннего отражения луча, падающего на границу двух сред с различными показателями преломления. Световод представляет собой тонкий двухслойный стеклянный стержень, у которого показатель преломления внутреннего слоя больше, чем наружного. Световод, управляемый источник света и фотодетектор образуют канал оптической передачи информации, протяженность которого может достигать десятков километров. Световоды пропускают свет с длиной волны 0,4-3 мкм (400-3000 нм), но пока практически используется только диапазон 600-1600 нм (часть видимого спектра и инфракрасного диапазона). История оптоволоконной передачи началась с коротковолновых (около 800 нм) систем. По мере совершенствования технологий производства излучателей и приемников уходят в сторону более длинных волн — через 1300 и 1500 к 2800 нм, передача которых может быть эффективнее. Высокая частота электромагнитных колебаний этого диапазона (1013-1014 Гц) дает потенциальную возможность достижения скорости передачи информации вплоть до терабит в секунду. Реально достижимый предел скорости определяется существующими источниками и приемниками сигналов — в настоящее время освоены скорости до нескольких гигабит в секунду.
Структура оптического волокна. Устройство световода
Устройство световода иллюстрирует рис. 1. Внутренняя часть световода называется сердцевиной (иногда переводят как “ядро”), которая представляет собой нить из стекла или пластика, внешняя – оптической оболочкой волокна, или просто оболочкой (cladding) являющаяся специальным покрытием сердцевины, отражающим свет от ее краев к центру.
В зависимости от траектории распространения света различают одномодовое и многомодовое волокно. Многомодовое (многочастотное) волокно (MMF – Multi Mode Fiber) имеет довольно большой диаметр сердцевины - 50 или 62,5 мкм при диаметре оболочки 125 мкм или 100 мкм пои оболочке 140 мкм. Одномодовое (одночастотное) волокно (SMF – Single Mode Fiber) имеет диаметр сердцевины 8 или 9,5 мкм при том же диаметре оболочки. Снаружи оболочка имеет пластиковое защитное покрытие (coating) толщиной 60 мкм, называемое также защитной оболочкой. Световод (сердцевина в оболочке) с защитным покрытием называется оптическим волокном.
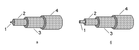
Рис. 1 Оптоволокно в буфере: а – одномодовое, б – многомодовое
1 – сердцевина
2 – оптическая оболочка
3 – защитное покрытие
4 – буфер (необязательный)
Оптоволокно в первую очередь характеризуется диаметрами сердцевины и оболочки, эти размеры в микрометрах записываются через дробь: 50/125, 62,5/125, 100/140, 8/125, 9,5/125 мкм. Наружный диаметр волокна (с покрытием) тоже стандартизован, в телекоммуникациях в основном используются волокна с диаметром 250 мкм. Применяются также и волокна с буферным покрытием или просто буфером (buffer), диаметром 900 мкм, нанесенным на первичное 250-мкм покрытие.
Одномодовое и многомодовое волокна
Как уже отмечалось, существует два типа оптоволоконного кабеля: одномодовый и многомодовый. Основное отличие между ними заключается в толщине сердечника и оболочки. Одномодовый световод обычно имеет толщину порядка 8/125 микрон, а многомодовое волокно 50/125 микрон. Эти значения соответствуют диаметру сердечника и диаметру вместе взятых: сердечника и оболочки.
Световой луч, распространяющийся по сравнительно тонкому сердечнику одномодового кабеля, отражается от оболочки не так часто, как это происходит в более толстом сердечнике многомодового кабеля. Для передачи данных в последнем применяется полихромный (многочастотный) свет, а в одномодовом используется свет только одной частоты (монохромное излучение), отсюда они и получили свои названия. Сигнал, передаваемый одномодовым кабелем, генерируется с помощью лазера, и представляет собой волну, естественно, одной длины, в то время как многомодовые сигналы, генерируемые светодиодом (LED – Light Emitted Diode), переносят волны различной длины. В одномодовом кабеле затухания сигнала (потери мощности сигнала) практически исключены. Это и ряд выше перечисленных качеств позволяют одномодовому кабелю функционировать с большей пропускной способностью по сравнению с многомодовым кабелем и преодолевать расстояния в 50 раз длиннее.
С другой стороны, одномодовый кабель намного дороже и имеет сравнительно большой радиус изгиба по сравнению с многомодовым оптическим кабелем, что делает работу с ним неудобной. Большинство оптоволоконных сетей используют многомодовый кабель, который хотя и уступает по производительности одномодовому кабелю, но зато значительно эффективней, чем медный. Телефонные компании и кабельное телевидение, тем не менее, стремятся применять одномодовый кабель, так как он может передавать большее количество данных и на более длинные дистанции.
Режимы прохождения луча
Распространение света в волокне иллюстрирует рис. 2. Для того чтобы луч распространялся вдоль световода, он должен входить в него под углом не более критического относительно оси волокна, то есть попадать в воображаемый входной конус. Синус этого критического угла называется числовой апертурой световода NA.
Рис. 2 Ввод света в оптоволокно
1 – входной косинус
2 – осевая мода
3 – мода низкого порядка
4 – мода высокого порядка
5 – критический угол
В многомодовом волокне показатели преломления сердцевины и оболочки различаются всего на 1-1,5 % (например, 1,515:1,50) При этом апертура NA – 0,2-0,3, и угол, под которым луч может войти в световод, не превышает 12-18° от оси. В одномодовом же волокне показатели преломления различаются еще меньше (1,505:1,50), апертура NA – 0,122 и угол не превышает 7° от оси. Чем больше апертура, тем легче ввести луч в волокно, но при этом увеличивается модовая дисперсия и сужается полоса пропускания.
Числовая апертура характеризует все компоненты оптического канала — световоды, источники и приемники излучения. Для минимизации потерь энергии апертуры соединяемых элементов должны быть согласованными друг с другом.
Строго говоря, распространение сигнала в оптоволокне описывается уравнениями Максвелла. В большинстве случаев можно пользоваться приближением геометрической оптики. Если рассматривать распространение сигнала с позиций геометрической оптики, то световые лучи, входящие под различными углами, будут распространяться по различным траекториям (рис. 3). Более высоким модам соответствуют лучи, входящие под большим углом, они будут иметь большее число внутренних отражений по пути в световоде и будут проходить более длинный путь. Число мод для конкретного световода зависит от его конструкции: показателей преломления и диаметров сердцевины и оболочки, а также и длины волны.
Рис. 3 Распространение волн в световодах: а – одномодовом, б – многомодовом со ступенчатым профилем, в – многомодовом с градиентным профилем
1 – профиль показателя преломления
2 – входной импульс
3 – выходной импульс
Световой импульс, проходя по волокну, из-за явления дисперсии изменит свою форму – “размажется”. Различают несколько видов дисперсии: модовая, материальная и волноводная. Модовая дисперсия присуща многомодовому волокну и обусловлена наличием большого числа мод, время распространения которых различно. Материальная дисперсия обусловлена зависимостью показателя преломления от длины волны. Волноводная дисперсия обусловлена процессами внутри моды и характеризуется зависимостью скорости распространения моды от длины волны.
Мощность и потери сигнала
Мощность оптического сигнала измеряется в логарифмических единицах дБм (децибел к милливатту): уровню 0 дБм соответствует сигнал с мощностью 1 мВт. Потери (loss) сигнала в каком-либо элементе являются затуханием. Тогда большее затухание будет соответствовать и большим потерям сигнала.
По мере распространения луча происходит его затухание, вызванное рассеянием и поглощением. Поглощение – преобразование в тепловую энергию – происходит во вкраплениях примесей; чем чище стекло, тем эти потери меньше. Рассеяние – выход лучей из световода – происходит в изгибах волокон, когда лучи более высоких мод покидают волокно. Рассеяние происходит и в микроизгибах, и на прочих дефектах поверхности границы сред.
Рис. 4 График зависимости затухания от длины волны
Для волокна указывают погонное затухание (дБ/км), и для получения значения затухания в конкретной линии погонное затухание умножают на ее длину. Затухание имеет тенденцию к снижению с увеличением длины волны, но при этом зависимость немонотонна, что видно из рис. 4. На нем видны окна прозрачности многомодового волокна в областях с длинами волн 850 мкм и 1300 мкм. Для одномодового волокна окна находятся в диапазонах около 1300 и 1500-1600 мкм. Естественно, что с целью повышения эффективности связи аппаратура настраивается на длину волны, находящуюся в одном из окон. Одномодовое волокно используется для волн 1550 и 1300 нм, при этом типовое погонное затухание составляет 0,25 и 0,35 дБ/км соответственно. Многомодовое волокно используется для волн 1300 и 850 нм, где погонное затухание — 0,75 и 2,7 дБ/км.
В оптической передаче самые сложные задачи связаны с концами и стыками волокон. Это генерация световых импульсов и ввод их в волокно, прием и детектирование сигналов, и просто соединение отрезков волокон между собой. Луч, падающий на торец волокна, входит в него не весь: он частично отражается обратно, часть проходящей энергии рассеивается на дефектах (шероховатости) поверхности торца, часть “промахивается” мимо конуса, принимающего свет. То же самое происходит и на выходе луча из волокна. В итоге каждый стык вносит потери проходящего сигнала (типовое значение 0,1-1 дБ), а уровень отраженного сигнала может находиться в пределах – 15-60 дБ.
Пропускная способность
В большинстве современных технологий информация по световодам передается с помощью импульсов в двухуровневой дискретной форме (есть сигнал – нет сигнала), аналога полярности электрического сигнала здесь нет. Информационная пропускная способность линии определяется ее полосой пропускания и принятой схемой кодирования. Полоса пропускания определяется как максимальная частота импульсов, различимых приемником. Полоса пропускания волоконной линии ограничивается из-за явления дисперсии, поэтому она зависит от длины. Особенно это заметно на многомодовом волокне.
Для многомодового волокна ширина полосы пропускания BW (МГц) связана с длиной L (км) через параметр, называемый полосой пропускания – А (МГц*км). Для одномодового волокна полоса пропускания зависит от молекулярной дисперсии и ширины спектра источника SW.
По полосе пропускания А можно определить максимальную частоту, при которой импульсы будут еще различимыми после прохождения через световод заданной длины. Можно решить и обратную задачу – определить максимальную длину световода, пропускающего импульсы заданной частоты. Коэффициент А приводится в спецификации на волокно и указывается для конкретной длины волны. Современные многомодовые кабели имеют А=160-500 МГц*км. Что касается современных одномодовых кабелей и лазерных излучателей, то они обеспечивают полосу пропускания порядка 1 ГГц при длине линии 100 км.
Эффективность использования полосы пропускания определяется принятой схемой кодирования. В технологии FDDI (и 100BaseFX), например, применяется физическое кодирование по методу NRZI, при котором один бит передается за один такт синхронизации. Это означает, что каждые 4 бита полезной информации кодируются 5-битным символом, передаваемым за 5 тактов. Таким образом, коэффициент использования полосы пропускания составляет 4/5=0,8, и для передачи данных со скоростью 100 Мбит/с требуется обеспечить передачу импульсов с частотой (полосой) 125 МГц.
В технологиях современных поколений используется когерентное излучение с модуляцией частоты или фазы сигнала. При этом достигается пропускная способность, измеряемая гигабитами в секунду при длине в сотни километров без регенерации. Другое направление — солитоновая технология, основанная на передаче сверхкоротких (10 пс) импульсов-солитонов. Эти импульсы распространяются без искажения формы, и в идеальной линии (без затухания) дальность связи не ограничена при гигабитных скоростях передачи. Для этих технологий, пока не имеющих отношения к локальным сетям, пропускная способность линии определяется иными способами.
Источники и приемники излучения
В качестве источников излучения используются светодиоды и полупроводниковые лазеры. Светодиоды (LED – Light Emitted Diode) являются некогерентными источниками, генерирующими излучение в некоторой непрерывной области спектра шириной 30-50 нм. Из-за значительной ширины диаграммы направленности их применяют только при работе с многомодовым волокном. Самые дешевые излучатели работают в диапазоне волн 850 нм (с них началась волоконная связь). Передача на более длинных волнах эффективнее, но технология изготовления излучателей на 1300 нм сложнее и они дороже.
Лазеры являются когерентными источниками, обладающими узкой спектральной шириной излучения (1-3 нм, в идеале – монохромные). Лазер дает узконаправленный луч, необходимый для одномодового волокна. Длина волны – 1300 или 1550 нм, осваиваются и более длинноволновые диапазоны. Быстродействие выше, чем у светодиодов. Лазер менее долговечен, чем светодиод, и более сложен в управлении. Мощность излучения сильно зависит от температуры, поэтому приходится применять обратную связь для регулировки тока. Лазерный источник чувствителен к обратным отражениям: отраженный луч, попадая в оптическую резонансную систему лазера, в зависимости от сдвига фаз может вызвать как ослабление, так и усиление выходного сигнала. Нестабильность уровня сигнала может приводить к неработоспособности соединения, поэтому требования к величине обратных отражений в линии для лазерных источников гораздо жестче. Лазерные источники применяются и для работы с многомодовым волокном (например, в технологии Gigabit Ethernet 1000Base-LX). Спектральные характеристики излучателей изображены на рис. 5.
Характеристики
Тип файла документ
Документы такого типа открываются такими программами, как Microsoft Office Word на компьютерах Windows, Apple Pages на компьютерах Mac, Open Office - бесплатная альтернатива на различных платформах, в том числе Linux. Наиболее простым и современным решением будут Google документы, так как открываются онлайн без скачивания прямо в браузере на любой платформе. Существуют российские качественные аналоги, например от Яндекса.
Будьте внимательны на мобильных устройствах, так как там используются упрощённый функционал даже в официальном приложении от Microsoft, поэтому для просмотра скачивайте PDF-версию. А если нужно редактировать файл, то используйте оригинальный файл.
Файлы такого типа обычно разбиты на страницы, а текст может быть форматированным (жирный, курсив, выбор шрифта, таблицы и т.п.), а также в него можно добавлять изображения. Формат идеально подходит для рефератов, докладов и РПЗ курсовых проектов, которые необходимо распечатать. Кстати перед печатью также сохраняйте файл в PDF, так как принтер может начудить со шрифтами.















