145060 (598825), страница 10
Текст из файла (страница 10)
Рис. 203. Соединение картин стоячим фальцем с помощью кровельных молотков (а) или молотка и бруса-отворотки (б)
В первом случае (рис. 203, а) один молоток используют сначала как скребок гребнегиба, а вторым молотком-ручником сваливают фальц. Затем ручник используется как брусок гребнегиба (упор), а вторым молотком уплотняют фальц. Во втором случае (рис. 203, б) брус-отворотку подставляют к фальцу, молотком сваливают его на скребковую часть. Затем брус-отворотку переставляют так, чтобы брусок упирался в тыльную часть фальца. Молотком кровельщик уплотняет фальц, равномерно ударяя по отогнутой кромке фальца. В последнее время начали применять гребнегибочные машины и приспособления-гребнегибы новых конструкций, позволяющие выполнять эту работу без кровельных молотков.
16. Конструкция современных опалубочных систем
Основные типы опалубок
Опалубку классифицируют по функциональному назначению в зависимости от типа бетонируемых конструкций:
• для вертикальных поверхностей, в том числе стен; • для горизонтальных и наклонных поверхностей, в том числе перекрытий; • для одновременного бетонирования стен и перекрытий; • для бетонирования комнат и отдельных квартир; • для криволинейных поверхностей (используется в основном пневматическая опалубка).
Для бетонирования стен применяют опалубку следующих видов: мелкощитовую, крупнощитовую, блок-формы, блочную и скользящую.
Для бетонирования перекрытий используют мелкощитовую опалубку с поддерживающими элементами и крупнощитовую, в которой опалубочные поверхности составляют единый опалубочный блок, целиком переставляемый краном.
Для одновременного бетонирования стен и перекрытий или части здания используют объемно-переставную опалубку. Для этих же целей применяют горизонтально перемещаемую, в том числе катучую, опалубку, которая может быть использована для бетонирования вертикальных, горизонтальных и наклонных поверхностей.
Разборно-переставная мелкощитовая опалубка состоит из набора элементов небольшого размера площадью до 3 м2 и массой до 50 кг, что позволяет устанавливать и разбирать их вручную. Из элементов опалубки можно собирать крупные панели и блоки, монтируемые и демонтируемые краном без разборки на составляющие элементы. Опалубка унифицирована, применима для самых разнообразных монолитных конструкций с постоянными, переменными и повторяющимися размерами. Наиболее целесообразно использовать опалубку для бетонирования неунифицированных конструкций небольшого объема.
Крупнощитовая опалубка состоит из крупноразмерных щитов и элементов соединения. Щиты опалубки воспринимают все технологические нагрузки без установки дополнительных несущих и поддерживающих элементов. Опалубку применяют для бетонирования протяженных стен, перекрытий и туннелей. Размер щитов равен размеру бетонируемой конструкции: для стен — ширина и высота помещения, для перекрытия — ширина и длина этого перекрытия. В случае бетонирования перекрытий большой площади, когда не представляется возможности уложить и уплотнить бетон конструкции в течение одной смены, перекрытие разбивают на карты. Размеры карты задают технологическим регламентом, на их границах устанавливают металлическую сетку толщиной 2...4 мм с ячейками 10 х 10 мм для обеспечения достаточного сцепления с последующими картами. Крупнощитовая опалубка рекомендуется для зданий с монолитными стенами и перегородками, сборными перекрытиями. Разборно-переставная крупнощитовая опалубка применяется также для бетонирования конструкций переменного поперечного сечения (силосы, дымовые трубы, градирни).
Блочная опалубка — это объемно-переставная опалубка, предназначенная для возведения одновременно трех или четырех стен по контуру ячейки здания без устройства перекрытия. Опалубку монтируют из отдельных блоков с зазорами, равными толщине возводимых стен. Для зданий с монолитными наружными и внутренними несущими стенами и сборными перекрытиями рекомендуется комбинированный вариант: для наружных поверхностей стен — крупнощитовая опалубка, а для внутренних поверхностей и стен — блочная, вертикально перемещаемая и извлекаемая опалубка.
Блок-формы представляют собой пространственные замкнутые блоки: неразъемные и жесткие, выполненные на конус, разъемные или раздвижные (переналаживаемые). Блок-формы применяют для бетонирования замкнутых конструкций относительно небольшого объема не только для вертикальных, но и для горизонтальных поверхностей. Кроме этого они используются для объемных элементов стен, лифтовых шахт, отдельно стоящих фундаментов, колонн и т. д.
Объемно-переставная опалубка состоит из секций П-образной формы и представляет собой горизонтально извлекаемый крупноразмерный блок, предназначенный для одновременного бетонирования стен и перекрытий. При распалубке секции сдвигают (сжимают) внутрь и выкатывают к проему для последующего извлечения краном. Эту опалубку используют для бетонирования поперечных несущих стен и монолитных перекрытий жилых и гражданских зданий. Данный тип продольно перемещаемой опалубки нашел применение в зданиях с монолитными продольными несущими стенами и перекрытиями из монолитного железобетона. Для зданий с простой конфигурацией в плане, большой площадью этажа, плоскими поверхностями фасадов рекомендуются объемно-переставные опалубки — туннельная, вертикально и горизонтально перемещаемые опалубки.
Туннельная опалубка — объемно-переставная опалубка, предназначенная для одновременного возведения двух поперечных и одной продольной стены здания и перекрытия над этими стенами. Туннель может быть образован из двух противостоящих полутуннелей путем соединения их горизонтальных и вертикальных щитов с помощью быстроразъемных замков. Опалубка туннельного типа наиболее часто применяется для зданий с монолитными внутренними стенами, монолитными перекрытиями и навесными фасадными панелями.
Горизонтально перемещаемая опалубка предназначена для бетонирования горизонтально протяженных конструкций и сооружений, а также конструкций замкнутого сечения с большим периметром.
Скользящая опалубка применяется для бетонирования стен высоких зданий и сооружений. Она представляет собой пространственную опалубочную форму, установленную по периметру стен и поднимаемую гидродомкратами по мере бетонирования. Для зданий точечного (башенного) типа большой этажности и с простой внутренней планировкой рекомендуется вертикально извлекаемая опалубка блочного типа или скользящая опалубка.
Пневматическая опалубка — гибкая, воздухонепроницаемая оболочка, раскроенная по габаритам сооружения. Устанавливают опалубку в рабочее положение, создают внутри избыточное давление воздуха или другого газа и бетонируют. Применима такая опалубка для бетонирования сооружений относительно небольшого объема и криволинейных очертаний.
Несъемная опалубка используется для возведения конструкций без распалубливания, создания облицовки, а также тепло- и гидроизоляции. При бетонных работах применяют следующие вспомогательные элементы опалубочных систем. Навесные подмости — специальные подмости, навешиваемые на стены со стороны фасадов с помощью кронштейнов, закрепленных в отверстиях, оставленных при бетонировании стен. Выкатные подмости — подмости, предназначенные для выкатывания по ним туннельной опалубки или опалубки перекрытий при их демонтаже. Проемообразователи — специальная опалубка, предназначенная для формирования в монолитных конструкциях оконных, дверных и прочих проемов. Основные направления повышения технологичности монолитных конструкций и снижения трудозатрат на выполнение комплекса бетонных работ:
• переход на высокоподвижные и литые бетонные смеси с химическими добавками, что снижает до минимума трудозатраты на транспортирование, укладку и уплотнение бетона — снижение ручного труда с 35 до 8%, и одновременно с повышением интенсивности бетонирования значительно снижается относительная себестоимость укладки бетонной смеси; • использование армокаркасов полной готовности, переход от сварных соединений к механическим стыкам — снижение трудоемкости в 1,5...2 раза; • применение инвентарной, быстроразъемной опалубки модульных систем со специальным полимерным антиадгезионным покрытием, исключающим затраты по очистке и смазке палубы; • использование опалубочных систем непрерывного бетонирования, применение несъемных опалубок, снижающих или исключающих трудозатраты на их демонтаж.
Если принять общую трудоемкость возведения монолитных железобетонных конструкций за 100%, то трудозатраты на выполнение опалубочных работ составляют примерно 45...65%, арматурных—15...25% и бетонных —20...30%.
17. Технология погружения готовых свай
Сваи погружают ударом, вибрацией, вдавливанием, завинчиванием, с использованием подмыва и злектроосмоса, а также комбинациями этих методов. Эффективность применения того или иного метода зависит в основном от грунтовых условий.
Ударный метод. Метод основан на использовании энергии удара (ударной нагрузки), под действием которой сваи нижней заостренной частью внедряется в грунт. По мере погружения она смещает частицы грунта в стороны, частично вниз, частично вверх. Ударную нагрузку на оголовок сваи создают специальными механизмами - молотами самых разных типов, основными из которых явл-ся дизельные.
Вибрационный метод. Метод основан на значительном уменьшении при вибрации коэф. Внутреннего трения в грунте и сил трения по боковой поверхности сваи. Благодаря этому при вибрировании для погружения свай требуется усилий в десятки и сотни раз меньше, чем при забивке. При вибрационном методе сваю погружают с помощью специальных механизмов-вибропогружателей. Вибропогружатель, представляющий собой электромеханическую машину вибрационного действия, подвешивают к мачте сваепогружающей установки и соединяют со сваей наголовником. Вибрационный метод наиболее эффективен при несвязных водоносных грунтах. Более универсальным является виброударный способ погружения свай с помощью вибромолота. Они могут самонастраиваться, т.е. увеличивать энергию удара с повышением сопротивления грунта погружению свай.
Погружение свай завинчиванием. Метод основан на завинчивании стальных и ж\б свай со стальными наконечниками с помощью установок, смонтированных на базе автомобилей. Рабочие операции при погружении свай методом завинчивания аналогичные операциям, выполняемым при погружении свай методом забивки или вибропогружением. Только вместо установки и снятии наголовника здесь надевают и снимают оболочки.
С использованием подмыва. Подмывом грунт разрыхляют и частично вымывают струями воды, вытекающими под давлением из нескольких трубок диаметром 38.... 62мм, укрепленных на свае. При этом сопротивление грунта у острия сваи снижается, а поднимающаяся вдоль ствола вода размывает грунт, уменьшая тем самым трение по боковым поверхностям сваи. Применение подмыва не допускается, если имеется угроза просадки близлежащих сооружений, а также при наличии просадочных грунтов.
С использованием электроосмоса. Применяют при наличии водонасыщенных плотных глинистых грунтов, моренных суглинков и глин. Для практической реализации метода погруженную сваю присоединяют к положительному полюсу(аноду) источника тока, а соседнюю с ней погружаемую- отрицательному полюс(катоду) того же источника тока.При включении тока вокруг сваи(анод) снижается влажность грунта, а у погружаемой сваи(катод), наоборот, повышается. После прекращения подачи тока происходит восстановление первонач. сост.грунт-х вод и несущ, способ. свай явл-ся катодами. возрастает. Этот метод позволяет на 25-40% ускорить процесс погружения свай, а также уменьшить нагрузки, необход-ые для погруж-я сваи.
железобетонные монтажные каменные бетонный
18. Разработка грунта экскаваторами непрерывного действия
Экскаваторы непрерывного действия предназначены для отрывки траншей и каналов в грунтах I—IV групп как в городских, так и в полевых условиях. Это землеройные машины на гусеничном или пневмоколесном ходу самоходного, полуприцепного и прицепного типов, которые при своем поступательном движении во время работы разрушают грунт с помощью группы непрерывно движущихся по замкнутому контуру ковшей, скребков или резцов, отрывают позади себя продольную выемку определенных размеров и одновременно эвакуируют грунт в сторону от нее (в отвал или транспортные средства) с помощью конвейера, ротора или шнека. Различают два типа экскаваторов непрерывного действия: цепные и роторные. Рабочим органом цепных экскаваторов является одно- или двухрядная бесконечная цепь, огибающая наклонную раму и несущая на себе ковши, скребки или резцы. У роторных экскаваторов рабочий орган — жесткий ротор, или колесо с ковшами или скребками, вращающееся на роликах. Толщина разрушаемого грунта цепным органом практически постоянна по высоте забоя, роторным — переменной толщины, достигающей максимального значения на уровне оси вращения ротора. В зависимости от условий работы и трудоемкости разработки грунтов скорости передвижения экскаватора и движения рабочего органа подбираются такими, чтобы независимо от глубины траншеи обеспечивалось расчетное наполнение ковшей.
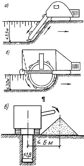
Рис. 4.9. Экскаваторы непрерывного действия а — скребковый одноцепной: 1 — отпал; 2 — трактор; 3 — цепной рабочий орган; 4 — механизм подъема—опускания рабочего органа; 5 — шнек; 6— резцы; 7— скребок;8 — зачистной башмак; б — скребковый двухцепной: 1 — силовая установка; 2 — управление; 3 — гидропривод; 4 — трансмиссия; 5 — механизм подъема и опускания рабочего органа; 6 — конвейер; 7 — лоток; 8 — рабочий орган; в — роторный: 1 — тягач; 2 — рама для монтажа рабочего оборудования; 3,4 — механизмы подъема и привода; 5 — конвейер; 6 — ковш; 7 — ковшовый ротор.
По типу рабочего органа цепные экскаваторы делятся на одноцепные, снабженные резцами и скребками, и двухцепные, между ветвями которых укреплены ковши или скребки с резцами. Скребковые одноцепные экскаваторы (рис. 4.9, а) предназначены для отрывки траншей прямоугольного профиля шириной 0,14...0,4 м, глубиной до 1,7 м в однородных (без каменистых включений) грунтах I — III групп. Производительность таких экскаваторов составляет 60...80 м3/ч. Скребковые двухцепные экскаваторы (рис. 4.9, б) используют для рытья траншей прямоугольного и трапецеидального сечений глубиной до 3,5 м, шириной по дну до 1,1 м и поверху до 2,8 м в талых грунтах I — III групп с включением камней диаметром до 0,2 м и в мерзлых грунтах с глубиной промерзания до 1,2 м. Разработка грунта ведется режущими элементами скребкового типа и транспортирующими заслонками. Для отрывки траншей трапецеидального профиля на рабочем органе экскаватора устанавливают активные цепные откосообразователи. Грунт, отделяемый цепями от целика, обрушивается на дно траншеи, откуда выносится на поверхность транспортирующими заслонками. Для разработки мерзлых грунтов устанавливается сменное рабочее оборудование — ковшовая цепь с зубьями-клыками. Поднятый наверх скребками (ковшами) грунт выгружается на поперечный ленточный конвейер и отводится им в сторону от траншеи (до 3 м). Производительность двухцепных экскаваторов до 220 м3/ч. Роторные траншейные экскаваторы (рис. 4.9, в) разрабатывают траншеи различного сечения в грунтах I — IV групп с включением камней диаметром до 0,3 м, а также в мерзлых грунтах при глубине промерзания до 1,5 м. Ширина траншей поверху до 3,2 м, понизу до 2,1 м, глубина до 2,5 м. Во время поступательного движения трактора и вращательного движения ротора ковши с зубьями непрерывно разрабатывают, поднимают на поверхность и выгружают грунт на ленту поперечного конвейера. Размеры траншей определяются шириной ковшей и степенью заглубления в грунт ротора. Для образования откосов с крутизной до 1 : 0,25 в талых грунтах экскаваторы оборудуются пассивными ножевыми откосниками, в мерзлых грунтах — активными фрезерными уширителями. Производительность роторных экскаваторов до 1200 м3/ч. Экскаваторы-каналокопатели работают по тому же принципу, что и роторные. В отличие от роторных они способны отрывать каналы с пологими откосами (до 1 : 1,5) при ширине понизу до 2,5 м, глубине до 3 м. До установки экскаватора непрерывного действия на трассу необходимо выполнить планировочные работы. Ширина спланированной полосы должна быть не меньше ширины гусеничного хода экскаватора, предназначенного для рытья траншеи. После планировочных работ и разбивки оси траншеи рытье траншеи, как правило, начинают со стороны низких отметок продольного профиля (для удобства водоотлива) и ведут навстречу уклону, при этом отвалы грунта, вынутого из траншеи, следует размещать с одной стороны выемки (преимущественно с нагорной) для защиты вырытой траншеи от стока поверхностных вод и возможности выполнения последующих монтажных работ с другой стороны.
Производство работ экскаваторами непрерывного действия. Разработка грунта экскаваторами непрерывного действия осуществляется по следующей технологии. До начала разработки грунта поверхность земли по трассе траншеи выравнивается бульдозером. Ширина этой полосы должна быть не менее ширины гусеничного хода экскаватора. После планировочных работ и разбивки осей отрывка грунта в траншее, как правило, ведется в сторону повышения рельефа. При этом отвал грунта размещается с одной стороны (преимущественно с нагорной) для защиты траншеи от поверхностных вод. Заданный продольный уклон траншеи и глубину разработки грунта регулируют подъемом или опусканием рабочего органа (ротора или ковшовой цепи) экскаватора (рис.4).
Рис.4. Разработка траншей многоковшовыми экскаваторами черпания а - цепным экскаватором; б - роторным экскаватором; в - поперечный профиль траншеи и временного отвала.
















