124872 (598610), страница 7
Текст из файла (страница 7)
Рис. 2.9. Принципиальные схемы плазмотронов прямого действия (а) и косвенного действия (б):
1 — вольфрамовый электрод; 2 — электроизоляционная втулка; 3 — сопло; 4 — плазменная струя; 5 — изделие, частично разрезанное плазмой.
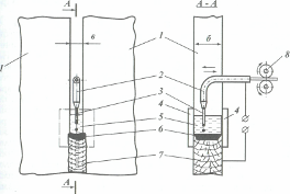
Как же работает плазмотрон? Внутри корпуса плазмотрона имеется камера, в которой расположен вольфрамовый электрод 1 и туда подается под некоторым давлением плазмообразующий газ (аргон, гелий и др.). Нижняя часть корпуса, называемая соплом (3), образует узкий канал для выхода плазмы. Сопло в процессе работы охлаждается проточной водой. Так как при нагреве дуговым разрядом плазмообразующего газа его объем увеличивается в 50—100 и более раз (при одновременной ионизации), создаются высокие, близкие к сверхзвуковым, скорости истечения плазменной струи из сопла. Дуговая плазменная струя — интенсивный источник теплоты, используемый в настоящее время для нагрева, сварки и резки как электропроводных металлов (любых), так и неэлектропроводных материалов, таких как стекло, керамика и др. Чрезвычайно перспективно применение сжатой дуги в наплавочных работах и в процессах напыления (см. ниже главу 4).
Особой областью применения сжатой дуги является нагрев деталей под пайку и термообработку. Сжатую дугу успешно используют в черной металлургии. Здесь мощными плазмотронами осуществляют переплав металлических слитков для получения особо чистого, лишенного вредных примесей металла.
В заключение раздела отметим, что дуговой разряд, открытый В.Б. Петровым в 1802 г., не исчерпал еще всех своих возможностей и областей применения, включая и область сварочного производства.
3.2 Электрошлаковая сварка
Разработка этого принципиально нового процесса была осуществлена в начале 50-х годов прошлого века сотрудниками ИЭС им. Е.О. Патона АН УССР во главе с Г.З. Волошкевичем при творческом содружестве с заводами НКМЗ (Новокраматорский машиностроительный завод), Таганрогским «Красный котельщик».
Важнейшим следствием всех этих работ стало решение проблемы качественной и высокопроизводительной однопроходной сварки металла практически неограниченной толщины. Эффективность процесса оказалась огромной. По новой технологии стали сваривают крупногабаритные детали в судостроении (корпуса, несущие конструкции), в химическом и тяжелом машиностроении (сосуды, станины мощных прессов, валы крупных гидротурбин, прокатное оборудование, реакторные колонны и др.), в котлостроении и мостостроении. Этот процесс нашел применение в наплавочных работах, в ремонтном деле, при сварке арматуры, рельсов. Оказалось, что весьма эффективно различные литые и кованые крупногабаритные детали изготовлять путем соединения отдельных частей с помощью электрошлаковой сварки. Известно, что при расплавлении флюса образуется шлак, который является проводником электрического тока. При пропускании электрического тока через шлак в нем будет выделяться, в соответствии с законом Джоуля— Ленца, теплота. Этот принцип и лежит в основе электрошлаковой сварки (рис. 2.10). Сварка обычно выполняется при вертикальном расположении деталей, собираемых с зазором величиной b.
Рис. 2.10. Схема электрошлаковой сварки:
1 — свариваемые пластины; 2 ~ токоподводящий мундштук; 3 —.электрод; 4 - формирующие ползуны; 5 - шлаковая ванна; 6 - металлическая ванна; 7 — шов; 8 — подающие ролики.
В пространство, образованное свариваемыми кромками деталей / и формирующими ползунами 4, засыпается вначале небольшая порция флюса, затем возбуждается дуга между плавящимся электродом 3 и изделием, что приводит к расплавлению флюса и образованию шлаковой ванны 5 требуемого объема и глубины, дуга при этом гаснет, но сварочный ток вследствие проводимости шлака будет продолжать проходить между электродом 3, погруженным в шлак, и изделием 1, вызывая сильный разогрев шлаковой ванны. За счет тепла шлаковой ванны происходит оплавление свариваемых кромок деталей и расплавление электрода. Расплавленный металл электрода в виде капель и металл расславившихся кромок изделия стекают на дно ванны, образуя ванну расплавленного металла б (металлическую ванну).
По мере расплавления непрерывно подаваемого с помощью роликов 8 через токоподводящий мундштук 2 электрода объем металлической ванны будет возрастать. Одновременно, вследствие интенсивного теплоотвода в свариваемые детали и водоохлаждаемые (медные) ползуны, начнется кристаллизация жидкого металла в нижней части металлической ванны, приводя, таким образом, к формированию монолитного сварного шва 7 одновременно по всей толщине деталей.
Непрерывное плавление электрода и кромок изделия, с одной стороны, и кристаллизация металла ванны, с другой стороны, приводят к непрерывному перемещению металлической и шлаковой ванны вверх, вдоль свариваемых кромок. На протяжении всего цикла сварки шлаковая ванна, находясь над поверхностью расплавленного металла, препятствует его взаимодействию с воздухом. С целью равномерного развара кромок по толщине б и выравнивания температуры ванны по ее объему применяют колебание электрода путем придания ему возвратно-поступательного движения в плоскости зазора (на рис. 2.10 направление колебания показано стрелками). В зависимости от вида электрода и характера его подачи в шлаковую ванну, существует несколько разновидностей электрошлаковой сварки (ЭШС): сварка одной электродной проволокой (без колебаний или с колебаниями), сварка несколькими электродными проволоками (рис. 2,11, а), сварка электродами большого сечения — в виде пластин (рис. 2.11, б) и др.
При сварке пластинчатыми электродами они подаются в шлаковую ванну по мере оплавления и заполнения жидким металлом зазора. За счет увеличения числа пластин можно сваривать детали любой толщины. Из практики известно, что с помощью ЭШС сваривались заготовки толщиной более 2600 мм, имевшие в месте сварки сплошное сечение до 10 м2, массой около 300 т. Наряду с указанными разновидностями ЭШС существуют и другие, такие как ЭШС плавящимся мундштуком, ЭШС с применением порошкообразного или кускового материала, ЭШС с дозированной подачей мощности и т.д.
Рис. 2.11, Разновидности электрошлаковой сварки:
а — сварка тремя электродными проволоками; 6 — электродами большого сечения.
Электрошлаковый процесс успешно применяют не только для сварки, но и для наплавки деталей различной конфигурации: плоской, круглой, конической и т.д. (рис. 2.12).
К несомненным достоинствам электрошлаковой сварки можно отнести следующие:
возможность сварки за один проход изделий практически неограниченной толщины;
высокую производительность сварки толстостенных деталей (толщиной 60 мм и более), превышающую производительность многослойной сварки под флюсом тех же деталей в 5 — 6 раз, а ручной — в 20 — 25 раз;
Рис. 2.12. Схемы использования электрошлакового процесса для наплавки:
а — наплавка плоскостных изделий (листов); б - наплавка цилиндрических поверхностей при горизонтальном расположении цилиндра; в — наплавка цилиндрических поверхностей трубчатым электродом, 1 — изделие; 2 — наплавляемый слой; 3 — охлаждаемый медный ползун; 4 — электрод плавящийся; 5 - шлаковая ванна; 6 - металлическая ванна.
незначительный расход флюса, в 15 — 20 раз меньший, чем при автоматической сварке;
меньшая (в 1,5 — 2 раза) энергоемкость процесса по сравнению с автоматической сваркой под флюсом;
невысокая, в сравнении с многопроходной автоматической сваркой под флюсом, стоимость сварного соединения, обусловленная малым расходом флюса, электроэнергии, упрощением подготовки кромок под сварку;
возможность изготовления уникальных по размерам и массе деталей и получения таким путем сварнолитых, сварнокованых изделий (например, сварнолитые станины тяжелых прессов и прокатных станов, толстостенные сварнокованые цилиндры и др.);
возможность получения сварных соединений высокого качества, лишенных пор, шлаковых включений, трещин, подрезов.
Однако электрошлаковая сварка не лишена и недостатков, к их числу относятся следующие:
применение малой скорости сварки (менее 1 м/ч) при значительном тепловложении приводит к длительному тепловому воздействию на металл и медленному его охлаждению, следствием чего является перегрев металла околошовной зоны с формированием в ней весьма крупного зерна, обладающего сниженными пластическими свойствами и хрупкостью. Крупнозернистая, литая структура образуется и в металле шва. В связи с этим возникает необходимость (особенно при изготовлении ответственных конструкций) после электрошлаковой сварки подвергать изделие специальной термообработке с целью уменьшения размера зерен;
необходимость устанавливать свариваемое соединение в вертикальном положении или близком к этому;
недопустимость остановки сварочного аппарата в процессе выполнения шва, так как тогда неизбежно появление дефектов в месте остановки после сварки этого участка;
необходимость изготовления специальных технологических деталей (планок, формирующих устройств, «стартовых карманов» для наведения шлаковой ванны и др.), требуемых при сборке изделия под сварку.
Электрошлаковая сварка легла в основу разработки ряда новых технологий, выходящих за рамки сварочного производства, которые впоследствии получили общее название — электрошлаковая технология, включающая сегодня около 20 технологических процессов (см. далее гл. 4).
3.3 Контактная и прессовая сварка
Контактная сварка — наиболее старый и высокопроизводительный процесс получения неразъемных соединений металлов — была открыта и впервые применена для соединения металлов в 1856 г. английским физиком Уильямом Томсоном (Кельвином). Позднее, в 1877 г. тот же способ сварки предложил, независимо от своего предшественника, Э. Томсон из США. Если У. Томсон и Э. Томсон создали контактную стыковую сварку сопротивлением, то в 1877 г. уже в России Н.Б. Бенардос стал изобретателем контактной точечной сварки.
В СССР контактную сварку стали внедрять в довоенные годы главным образом в автомобильную промышленность, используя, в основном, зарубежный опыт (США), Затем, в период первых пятилеток последовала организация производства мощных контактных машин улучшенной конструкции. В этой работе особую роль сыграл сварочный комбинат Оргаметалл, в последствии преобразованный в ЦНИИТМАШ, а после 1936 г. - завод «Электрик», где создавались контактные машины разного профиля, в том числе для шовно-стыковой сварки труб, для стыковой сварки автомобильных колес, для рельефной сварки и многое другое. В эти же годы для точечной и стыковой контактной сварки нашел применение в качестве источника энергии разряд конденсаторов, осуществлена точечная сварка узлов авиаконструкций из низкоуглеродистой стали и многих других элементов конструкций из различных материалов. Однако слабость производственной базы сварочного машиностроения в довоенные годы не позволила реализовать многие ценные технологические разработки в области контактной сварки. В период Великой Отечественной войны решением одной из серьезных задач в области контактной сварки было повышение стабильности качества точечных соединений. В последующие годы многое сделано по разработке, усовершенствованию и внедрению в производство нового оборудования и технологии по контактной сварке, например, для сварки стыков рельсов, многоточечной сварки каркасных конструкций в вагоностроении, автомобилестроении, с/х машиностроении, точечной и стыковой сварки деталей летательных аппаратов, энергетических установок, в массовом производстве сварных труб различного назначения и т.д.
Расширилась и научно-исследовательская база по контактной сварке. Кроме ЦНИИТМАШа, завода «Электрик», Института электросварки им. Е.О. Патона, такие работы осуществлялись и продолжаются в МВТУ им. Баумана, ВНИИЭСО, Институте металлургии им. Байкова и многих других научно-исследовательских институтах и в высших учебных заведениях.
Образование "неразъемного соединения при контактной сварке происходит в результате нагрева металла проходящим электрическим током и пластической деформации зоны соединения под действием сжимающего усилия.
Количество тепла, выделяемое в металле при протекании через него электрического тока, определяется законом Джоуля – Ленца:
(2.4)
где
— количество тепла, кал;
— ток, А;
— сопротивление на пути тока, Ом;
— время прохождения тока, с.
Так как наибольшее сопротивление протекающему току возникает в контакте между свариваемыми деталями (рис. 2.13), место контакта и прилегающие к нему участки металла разогреваются наиболее интенсивно и приобретают повышенную пластичность, последующее механическое сдавливание (или осадка) деталей завершает процесс сварки.
Рис. 2.13. Схемы контактной стыковой (а) и точечной (б) сварки:
1, 2 — свариваемые детали (стержни — а; листы — б); 3 — токоподводы; 4 — трансформатор; 5 — ядро сварной точки.
Таким образом, любая машина для контактной сварки должна иметь, кроме электрической, и механическую часть. Учитывая, что все металлы обладают большой электропроводностью, но малым удельным сопротивлением, для быстрого их нагрева и компенсации неизбежных потерь тепла, в контактных машинах пользуются большими сварочными токами (от тысячи до сотен тысяч ампер и более), но очень малым напряжением, составляющим всего несколько вольт. Такой принцип трансформирования энергии осуществляется в понижающем трансформаторе, питающем контактную машину и конструктивно составляющим с ней единое целое.
















