122987 (598560), страница 2
Текст из файла (страница 2)
Для ГРП, питающего сеть низкого давления, оптимальная производительность принимается в пределах 1500-2000м3/ч при оптимальном радиусе действия 0,5-1 км с учетом этих показателей количество ГРП определяется по формуле:
(7.20)
где
- суммарный часовой расход газа через городские ГРП;
F –газифицируемая площадь, включая площадь проездов, м2
1 га = 1000м2
- оптимальный радиус действия ГРП, принимается в пределах 500-1000м.
Полученное количество ГРП, а также их фактические нагрузки и местоположения уточняют по условиям планировки города и расположения отдельных кварталов. Каждый ГРП должен размещаться как можно ближе к центру нагрузки газоснабжаемой территории. Как правило, данный центр не совпадает с геометрическим центром обслуживаемой ГРП территории. Это связано с различным потреблением газа отдельными зонами, входящими в радиус действия ГРП. Необходимо стремиться размещать ГРП ближе к зонам повышенной нагрузки.
7.2.1 Подбор оборудования ГРП
Подбор оборудования ГРП выполняется на основании данных о давлении газа в точке подключения ГРП и требуемом давлении на выходе, требуемой пропускной способности ГРП с учетом развития системы газоснабжения, условий работы газораспределительной системы (прилож.11, 12, 13). При выборе оборудования следует учесть, что нормальная работа регулятора обеспечивается при условии, когда его максимальная пропускная способность не более 80%, а минимальная не менее 10% от расчетной пропускной способности при заданных входном и выходном давлениях.
Как правило, наиболее выгодным решением является применение шкафных и блочных газорегуляторных пунктов и устройств заводского изготовления, что сокращает затраты на строительно-монтажные работы.
Подбор шкафных и блочных ГРП и ГРУ выполняется на основании тех же данных, что и оборудования по техническим характеристикам или паспортным данным.
Выбранное решение должно быть обосновано, технические характеристики (пропускная способность при рабочем давлении, максимальное входное давление, пределы регулирования) приводятся в пояснительной записке.
Требуемая пропускная способность ГРП:
(7.21)
где -
суммарный максимальный часовой расход газа населенным пунктом (табл.1.1);
1,2 – коэффициент увеличения пропускной способности для нормальной работы регулятора (20%).
При несовпадении табличных данных расчетным, пропускная способность ГРП уточняется:
- при другой плотности газа
QГРП = 0,855 Qт/√с
- при другом давлении газа на входе в ГРП
QГРП = Qт с1/с1т
где QГРП – фактическая пропускная способность ГРП;
Qт – табличное значение пропускной способности;
с1 и с1т – давление на входе в ГРП, проектируемое и табличное соответственно.
7.3 Выбор системы газоснабжения и трассировка газораспределительных систем
Системы газоснабжения представляют собой сложный комплекс сооружений. На выбор системы газоснабжения города оказывает влияние факторов, прежде всего: размер газифицируемой территории, особенности ее планировки, плотность населения, число и характер потребителей газа, наличие естественных и искусственных препятствий для прокладки газопроводов (рек, дамб, оврагов, железнодорожных путей, подземных сооружений и т. п.). При проектировании системы газоснабжения разрабатывают ряд вариантов и производят их технико-экономическое сравнение. В качестве окончательного варианта принимают наиболее экономичный вариант, по сравнен с другими.
При разработке курсового проекта, для системы газоснабжения района города или небольшого населенного пункта, рекомендуется принять одноступенчатую тупиковую или кольцевую систему газоснабжения.
Все газопроводы, входящие в газораспределительную сеть, условно разбиваются на транзитные и распределительные. Транзитные газопроводы предназначены для передачи газа из одного района населенного пункта в другой. Распределительные газопроводы служат для подачи газа непосредственно потребителям.
К внутреннему газооборудованию жилых домов и промышленных предприятий относятся внутридомовые и промышленные газопроводы, газовые приборы и установки для сжигания газа.
Газораспределительная система выбирается с учетом источников, объема и назначения газоснабжения, размера и планировки населенного пункта.
На основании генерального плана выполняется схема прокладки газопроводов, на схеме указываются проектные газопроводы, их диаметр, ответвления от газопроводов, а также отмечаются устанавливаемые отключающие устройства. При выборе места заложения газопровода учитываются характер проезда и застройки, число вводов, конструкция дорожного покрытия, наличие путей электрифицированного транспорта и подземных сооружений, удобства эксплуатации газопровода и т.д.
По результатам выполненных расчетов на расчетной схеме указываются диаметры, длины, расчетные расходы и потери давления по участкам газопроводов.
7.4 Гидравлический расчет газопроводов низкого давления
При проектировании трубопроводов для транспорта газа выбор размеров труб осуществляется на основании их гидравлического расчета, имеющего целью определить внутренний диаметр труб для пропуска необходимого количества газа при допустимых потерях давления.
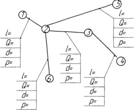
7.4.1 Расчет тупиковых газопроводов низкого давления
Рис.7.1. Расчетная схема тупиковых газопроводов низкого давления
Расчетная схема выполняется без масштаба. Распределительная сеть разбивается на участки. Границами участков являются точки, в которых резко меняется расход газа (присоединение ответвлений, точки подключения крупных потребителей), а также точки разделяющие участки большой протяженности (≥ 400 м) на более короткие.
Расчетный расход газа для распределительной тупиковой сети определяется по формуле:
Qр= 0,55Qпут+Qтр (7.22)
Путевой расход газа на участках сети определяется по формуле
Qпут = QудЧlуч, м3/ч, (7.23)
где lуч – длина каждого участка.
Удельный расход газа Qуд=
/Уl, м3/ч м (7.24)
где
- максимальный часовой расход газа квартирами, мелкими отопительными установками и мелкими коммунальными предприятиями.
Уl- сумма длин участков всей распределительной сети, м.
Транзитный расход газа определяется как сумма путевых расходов последующих участков и транзитных расходов крупных предприятий коммунально-бытового назначения, котельных, промышленных предприятий потребляющих газ низкого давления. При определении расходов по участкам газопровода он суммируется с путевым. Результаты определения расчетных расходов по участкам сети сводятся в таблицу 1.2.
Таблица 1.2
| № участка | Удельный расход Qуд, м3/ч м | Путевой расход Qпут, м3/ч | 0,55 Qпут | Транзитный расход Qтр, м3/ч | Расчетный расход Qр, м3/ч |
Примечание: определение путевых расходов по участкам сети целесообразнее начинать с самого удаленного участка.
Для дворовых сетей таблица определения расходов аналогична таблице для расчета внутридомового газопровода.
По расчетному расходу и удельным потерям давления с помощью таблиц для гидравлического расчета или номограммы (прилож.21) определяется диаметр газопровода, уточняются удельные потери давления.
Расчетные потери давления газа от ГРП до наиболее удаленного прибора, ∆рр, принимают не более: суммарные – 1800 Па;
на уличные и внутриквартальные сети – 1200 Па;
на дворовые и внутридомовые – 600 Па.
Удельные потери давления для самой протяженной магистрали определяются по формуле:
∆руд=
, Па/м (7.25)
где ∆руд – удельные потери давления, Па/м.
- расчетные потери давления газа в уличных и внутриквартальных газопроводах;
- сумма длин участков самой протяженной магистрали распределительной сети;
1,1 – коэффициент, учитывающий потери давления газа в местных сопротивлениях (10% от потерь давления на трение).
Потери давления газа на участке определяется по формуле:
∆р= ∆руд·lуч, Па (7.26)
Диаметры участков газопровода являются оптимальными в том случае, если выполняется условие:
д= (∆рр-УрЯ)/ ∆рр≤0,1 (7.27)
где УрЯ – суммарные потери давления от ГРП до самой удаленной точки распределительной газовой сети;
∆рр – расчетные потери давления.
При несоблюдении условия диаметры газопровода корректируются.
При расчете ответвлений из расчетного перепада давлений, ∆рр, вычитают сумму потерь давления на общих участках и подбирают диаметры труб для остальных участков на полученную при этом разность.
Результаты расчетов заносятся в таблицу 1.3.
Таблица 1.3
| № участка | Длина участка, м | Расчетная длина участка, 1,1lуч, м | Расчетный расход газа Qр, м3/ч | Диаметр газопровода (по номограмме), мм | Удельные потери давления руд, Па/м | Потери давления на участке ∆р, Па | д, % | |
| Главное направление | ||||||||
| 1-2 | ||||||||
| 2-3 | ||||||||
| и т.д. | ||||||||
| Итого | ||||||||
| Ответвления | ||||||||
| 2-6 | ||||||||
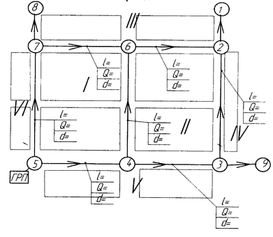
7.4.2 Расчет кольцевых газопроводов
Рис 7.2. Расчетная схема кольцевого газопровода
Нумерацию участков целесообразно выполнить от концевых точек против движения газа вдоль выбранных главных направлений.
Расход газа, приходящий на 1 га застройки
, м3/ч∙га (7.28)
- удельный расход газа;
- сумма максимальных часовых расходов газа квартирами, мелкими отопительными установками и мелкими коммунальными предприятиями, (без учета расхода газа крупными потребителями), м3/ч;
- площадь застройки района, га;
Удельный путевой расход газа для каждого контура сети определяется по формуле :
qi = Qi/Уli, м3/ч∙м (7.29)
















