122987 (598560), страница 3
Текст из файла (страница 3)
где Qi- расход газа квартирами, мелкими отопительными установками и мелкими коммунальными предприятиями, газоснабжаемыми от данного контура, м3/ч;
Уli – суммарная длина питающего контура сети, м
Результаты расчета сводятся в таблицу 1.4.
Таблица 1.4
| Номер контура | Площадь газоснабжаемой территории, S, га | Расход газа, qуд, приходящийся на 1га застройки | Расход газа Qi, м3/ч | Длина питающего контура, li, м | qi, удельный путевой рас-ход, м3/ч·м |
| I | (l4-5+l5-7+l7-6+l4-6) | ||||
| II | (l4-3+l6-2+l3-2+l4-6) | ||||
| III | (l7-6+l6-2) | ||||
| IV | (l3-2+l3-9) | ||||
| V | (l3-4+l4-5) | ||||
| VI | (l5-7) |
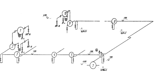
Предварительное распределение потоков в сети выполняется таким образом, чтобы потоки газа двигались к потребителям кратчайшим путем, а точки их встречи располагались противоположно точкам питания. Головные участки, примыкающие к точкам питания, должны быть взаимозаменяемыми, а их расчетные расходы должны пролегать в зонах наибольшего потребления газа. Пример распределения потоков газа см. рис.2.
Расчетные расходы по участкам сети определяются по формуле:
Qр=0,55Qпут + Qтр, м3/ч (7.30)
где Qпут – путевой расход газа на участке, м3/ч
Qпут = lучЧ qiуч, м3/ч (7.31)
Qтр – транзитный расход газа на участке, м3/ч, определяется как сумма путевых расходов всех последующих участков и расхода газа крупным потребителем, подключенным к этом участку.
Расчеты сводятся в таблицу 1.5.
Таблица 1.5
| Участок | Длина участка, м | Удельный расход газа, м3/ч∙м | Расход газа, м3/ч | |||
| Qпут | 0,55 Qпут | Qтр | Qр | |||
| 1-2 | l1-2 | q(III) | l1-2Чqi(III) | - | 0,55Qпут | |
| 2-3 | l2-3 | qi(II)+qi(IV) | Qпут(1-2) | |||
| 9-3 | l3-9 | qi(IV) | l9-3Чqi(IV) | - | ||
| 3-4 | l3-4 | qi(II)+qi(V) | l3-4Чqi(II)+qi(V) | Qпут(1-2)+ Qпут(2-3)+ Qпут(3-9) | ||
| 4-5 | l4-5 | qi(I)+qi(V) | ||||
| 4-6 | L4-6 | qi(I)+qi(II) | ||||
| 2-6 | l2-6 | qi(III)+qi(I) | ||||
| 6-7 | l6-7 | qi(I)+qi(III) | ||||
| 8-7 | l7-8 | qi(III) | ||||
| 7-5 | l7-5 | qi(I)+qi(VI) | ||||
Проверка: расход газа выходящего из ГРП
Qгрп = Qп(5-7)+ Qтр(5-7)+ Qп(5-4)+ Qтр(5-4) (7.32)
Qгрп =
Предварительные расчетные расходы по участкам сети определены верно, если отклонение от максимального часового расхода на район не превышает 10%.
(7.33)
Расчетные потери давления газа от ГРП до наиболее удаленного прибора, ∆pp, принимают не более: суммарные -1800Па
на уличные и внутриквартальные сети -1200Па
на дворовые и внутридомовые – 600Па.
Удельные потери давления основных направлений определяются по формуле:
, Па/м (7.34)
где
- расчетные потери давления газа в уличных и внутриквартальных газопроводах;
1,1 – коэффициент, учитывающий потери давления газа в местных сопротивлениях (10% от потерь давления на трение);
- сумма длин участков по основным направлениям.
,
,
.
Если один участок входит в разные направления, для определения его диаметра принимается меньшее из значений удельных потерь давления.
По расчетному расходу и удельным потерям давления с помощью таблиц для гидравлического расчета (прилож.15,16) или номограмм (прилож.17) определяется диаметр газопровода, уточняются удельные потери давления.
Внутренний диаметр газопровода принимается из стандартного ряда внутренних диаметров трубопроводов: ближайший больший — для стальных газопроводов и ближайший меньший — для полиэтиленовых.
Потери давления газа на участке определяются по формуле :
∆p=∆pуд· ·1,1 lуч, Па (7.35)
Результаты гидравлического расчета сводятся в таблицу 1.6.
Таблица 1.6
| Ко- ль- цо № | Участки кольца | Предварительное распределение | Попра- вочный расход ∆Q, м3/ч | Окончательное распределение потоков | |||||||||||||||||||
| Но- мер | Номер сосед- него кольца | Дли- на уча- стка | Dнх S | Qр м3/ч | ∆p/l, Па/м | ∆p, Па | ∆p/Qр | ∆Qуч, м3/ч | Qр м3/ч | ∆p/l, Па/м | ∆p, Па | ||||||||||||
| I | 5-4 | - | l4-5 | -Qp(5-4) | |||||||||||||||||||
| 5-7 | - | l7-5 | Qp(5-7) | ||||||||||||||||||||
| 7-6 | II | l6-7 | Qp(7-6) | ||||||||||||||||||||
| 4-6 | - | l4-6 | -Qp(4-6) | ||||||||||||||||||||
| Q = У∆p Ч100% У|∆p| | У∆p У|∆p| | У | |||||||||||||||||||||
| II | 4-3 | - | l3-4 | -Qp(4-3) | |||||||||||||||||||
| 3-2 | - | l2-3 | -Qp(3-2) | ||||||||||||||||||||
| 4-6 | I | l4-6 | -Qp(4-6) | ||||||||||||||||||||
| 6-2 | - | l2-6 | -Qp(6-2) | ||||||||||||||||||||
| Q = У∆p Ч100% У|∆p| | У∆p У|∆p| | ||||||||||||||||||||||
Примечание: расходы, направленные по часовой стрелке считать положительными, против часовой стрелки - отрицательными.
Гидравлический расчет кольцевой сети можно считать законченным в случае, когда ошибка Q≤10%, при больших значениях ошибки выполняется увязка кольцевой сети.
Поправочный расход определяется по формуле:
∆Q═∆Qk-∆Qc.k. (7.36)
где ∆Qk - круговой поправочный расход корректируемого кольца;
∆Qc.k- круговой поправочный расход соседнего кольца;
,
- поправка первого порядка, м3/ч
где
- сумма потерь давления в участках кольца, Па;
- сумма
для данного кольца;
- поправка второго порядка, м3/ч.
где
-
смежного с соседним кольцом участка
- поправка первого порядка соседнего кольца,м3/ч
Корректированный расход по участку определяется по формуле:
Qуч.=Qр+∆Q
В случае превышения ошибкой Q допустимых значений, увязка повторяется в той же последовательности.
7.6 Проектирование внутренней системы газоснабжения
В зависимости от функционального назначения объекта, в соответствии с заданием, принимается газовое оборудование, приводятся его технические характеристики. Размещение оборудования в помещениях выполняется с учетом требований нормативных документов.
7.6.1 Гидравлический расчет внутреннего газопровода
На основании принятых решений выполняется расчетная схема внутреннего газопровода. Длины участков определяются по плану здания.
Расчетный расход газа для дворовых и внутренних газопроводов определяется одним из перечисленных методов:
I. как сумма номинальных расходов газа установленных приборов с учетом коэффициента одновременности их действия по формуле:
, м3/ч
где
- коэффициент одновременности работы однотипных приборов или групп приборов (прилож.9);
- номинальный расход газа установленным прибором или группой приборов, определяется по техническим характеристикам приборов, м3/ч (прилож.2, 3, 4)
- количество установленных приборов или групп приборов, шт.
II. как доля годового потребления газа населением квартир с учетом неравномерности потребления газа в год по формуле:
, м3/ч
где
- максимальный коэффициент часовой неравномерности потребления газа за год, (прилож.8)
- годовое потребление газа жильцами квартиры, м3/ч
- количество однотипных квартир.
Рис.3 Расчетная схема внутридомового газопровода
Максимальный часовой расход газа определяется одним из двух методов расчета расхода.
















