63359 (597586)
Текст из файла
1. Оптические кабели и разъемы, их конструкции и параметры.
1.1 ТЕХНИЧЕСКАЯ РЕАЛИЗАЦИЯ ВОЛС
Элементную базу ВОЛС составляют волоконно-оптические кабели, передающие и приемные оконечные устройства (модули), оптические соединители, разветвители, коммутаторы. Именно из этих аппаратурных средств создаются системы оптической связи. Но каждый из названных элементов представляет собой сложное.
1. Это обратное рассеяние, в особенности рассеяние Мандельштама — Бриллюэна, позитивно используется как прецизионный «инструмент» исследования характеристик световода вдоль его длины устройство, в свою очередь состоящее из нескольких комплектующих элементов, свойства и характеристики которых в конечном счете определяют возможности ВОЛС. Эти оптические, опто-, микроэлектронные, оптико-механические элементы (изделия, материалы) также входят в элементную базу ВОЛС.
Оптические волокна. Определяющими в технике ВОЛС являются кварцевые двухслойные волокна трех основных разновидностей: многомодовые ступенчатые и градиентные, а также одномо-довые (рис. 1). В одномодовых волокнах закон изменения показателя преломления внутри сердцевины неважен, поэтому эти волокна, как правило, близки к ступенчатым. Показанный на
Рис. 1 Геометрия и профиль изменения показателя преломления кварцевых двухслойных многомодовых ступенчатых (а), градиентных (б), одномодовых (в) волокон.
Геометрия сердцевины и числовые апертуры кварц-полимерных (г), из многокомпонентных стекол (д) и полимерных (е) световодов рисунке третий наружный слой в механизме светопередачи участия не принимает.
Рис. 2 Ход световых лучей в оптических волокнах с разными коэффициентами преломления
Волоконно-оптический кабель (ВОК). Наиболее широкое распространение получили четыре основные конструкции ВОК (рис. 9.9): повивная, в которой волоконные модули обвиваются вокруг центрального упрочняющего элемента; кабели пучковой скрутки, в которых навивке подвергаются группы (пучки) модулей, предварительно уложенные в трубки; кабели с профильным упрочняющим элементом, в которых волоконные модули свободно укладываются в винтообразные пазы упрочняющего элемента; ленточные кабели, в которых скручиванию подвергаются ленты, содержащие несколько волокон и набранные стопой. Первые две конструкции являются классическими, заимствованными из электротехнической практики.
Рис. 3. Основные разновидности волоконно-оптических кабелей: повивная конструкция (а), кабели пучковой скрутки (б), с профильным упрочняющим элементом (б), ленточный (г): 1 — волоконно-оптический модуль; 2 — упрочняющий элемент; З — защитная оболочка
Независимо от конкретной конструкции основными элементами кабеля (кроме волоконных модулей) являются (на рис. 3 показаны упрощенные варианты): упрочняющие элементы, обычно полимерные, иногда металлические, служащие для придания кабелю необходимой разрывной прочности и разгрузки волокон от растяжения; наружные защитные покрытия, нередко многооболочечные, предохраняющие от проникновения влаги, паров вредных веществ и от внешних механических воздействий; армирующие элементы, повышающие сопротивляемость кабеля радиальным механическим воздействиям; изолированные металлические провода, монтируемые в кабеле наряду с оптическими волокнами и обеспечивающие электропитание ретрансляторов на линии связи; внутренние разделительные слои и ленты, скрепляющие отдельные группы элементов и уменьшающие давление различных элементов конструкции друг на друга; гидрофобный заполнитель, ослабляющий вредное воздействие влаги на оптические волокна.
Обширные исследования световодных кабелей, создание огромного числа разнообразных конструкций, более -чем 15-летний опыт производства и применения этих изделий — все это не привело, однако, к выработке окончательных оптимизированных решений. Появление микронзгибов волокна в составе кабеля, терморассогласование волокна и кабельных материалов, гарантированная защита от воздействия влаги на волокно — эти проблемы по-прежнему далеки от полного разрешения.
Передающие и приемные модули. Назначение передающего модуля (рис. 4) состоит в преобразовании входной информации в виде, электрических сигналов в оптические сигналы, согласованные с каналом передачи (волоконным световодом); при этом модуль должен надежно функционировать при всех возможных изменениях внешних воздействующих факторов (температуры, -влажности, вибрации, колебаний напряжений питания и т. п.).
В устройстве возбуждения сигнал, поступающий через входной электрический разъем, преобразуется в мощные импульсы накачки, превышающие порог генерации лазера. Это устройство может осуществлять и некоторые дополнительные функции: задание постоянного смещения (предпороговая подпитка); придание импульсу накачки специальной формы, обеспечивающей форсирование начала и обрыва генерации; изменение длительности импульса возбуждения по сравнению с поступающим импульсом (например,, для улучшения теплового режима работы лазера) и т. п. В устройство возбуждения могут быть введены и блоки, выполняющие
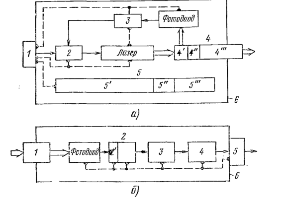
Рис.4. Структурные схемы:
а — передающего модуля (1 — входной электрический соединитель; 2 — схема возбуждения; 3 — схема обратной связи; 4 — оптическое устройство (
— светоделитель;
— согласующие элементы;
—оптический соединитель); 5 — термоэлектрический охладитель (
— активный элемент;
—схема управления;
—датчик температуры); 6 — корпус); 6— приемного модуля (1 — оптический соединитель; 2— усилитель (включая предварительный усилитель
); 3 — схема оптимальной (квазиоптимальной) обработки (фильтр); 4— схема
принятия решения; б — электрический соединитель; в — корпус)
электрические информационные цепи;
цепи питания;
оптические сигналы
совершенно иные функции: аналого-цифровое преобразование сигнала, кодирование, мультиплексирование и др. В этом случае передающий модуль фактически превращается в оконечное устройство линии передачи информации; -его описание выходит за рамки данного рассмотрения. Устройство возбуждения выполняется в виде интегральной монолитной или гибридной микросхемы.
«Центром» передающего модуля является излучатель — именно в нем происходит оптоэлектронное преобразование. Основные излучатели ВОЛС — полупроводниковые инжекционные гетеролазеры на основе соединений
(для диапазона длин волн 0,8 ... 0,9 мкм) и
(1,3... 1,6 мкм). Используются практически все структуры, предназначенные для получения низкого тока накачки и высокой степени когерентности: полосковые лазеры, лазеры с зарощенной структурой, с распределенной обратной связью и сдвоенные лазеры со сколото-связанными резонаторами. Модуль может содержать одновременно несколько лазеров, излучающих на разных длинах волн (для целей спектрального мультиплексирования), в этом случае структурная схема соответственно видоизменяется и усложняется.
Излучение лазера поступает на выходное оптическое устройство, включающее элементы согласования (селективные фильтры или смесители мод; элементы, преобразующие диаграмму направленности излучения к оптимальному для ввода в волокно виду) и оптический соединитель. Часть светового потока лазера с помощью светоделителя (или путем использования внеапертурного излучения) направляется на фотоприемник обратной связи, который через микроэлектронное устройство управления так воздействует на устройство возбуждения к на лазер, чтобы осуществлялась компенсация температурных, деградационных и других изменений мощности на выходе модуля. Для ослабления температурных эффектов в модуль вводится термоэлектрический охладитель, включающий измеритель и схему автоматической регулировки температуры.
Важнейшей частью модуля является корпус, выполняемый обычно в виде плоской прямоугольной металлической коробочки с электрическим и оптическим соединителями на противоположных торцах. В тех случаях, когда предполагается монтаж модуля непосредственно на печатную плату, электрический соединитель заменяется системой выводов.
Для коротких ВОЛС с невысокими скоростями передачи информации удобно вместо лазера использовать светодиоды: это повышает надежность и долговечность передающего модуля, снижает его стоимость, резко упрощает структурную схему. В этом случае термоэлектрические охладители не нужны, исключается также цепь фоточувствительной обратной связи.
Передающие модули на основе полупроводниковых инжекционных излучателей (лазеров и светодиодов) характеризуются всеми достоинствами, присущими этим приборам: малыми габаритными размерами, долговечностью и надежностью, экономичностью, малыми питающими напряжениями, простотой модуляции.
Приемный модуль (рис. 9.10,6) предназначен для обратного преобразования оптического сигнала, поступающего из канала передачи (световода), в электрический и его восстановление до исходного вида; через оптический согласующий элемент (обычно оптический соединитель, а иногда и фокусирующая линза) излучение поступает на чувствительную площадку фотоприемника, в качестве которого практически повсеместно используются фотодиоды: лавинные и с
-структурой. Для спектрального диапазона
= 0,8... 0,9 мкм это кремниевые фотодиоды, для диапазона
= 1,3... 1,6 мкм — фотодиоды на основе германия и главным образом на основе соединений
или
Определенные перспективы для фотоприема в ВОЛС имеют гетерофототранзисторы со сверхтонкой базовой областью и планарные фоторезисторы (на основе кремния, арсенида галлия и др.).
Назначение последующих каскадов структурной схемы рис. 9.10,6 состоит в обеспечении оптимального (или квазиоптимального) приема, т. е. в реализации такого алгоритма, который позволяет получить наилучшие характеристики (порог чувствительности, полоса частот и др.) при неизбежном действии шумов и искажениях. Конкретное исполнение этих каскадов зависит от типа используемого фотоприемника и вида поступающих информационных сигналов (их амплитуды, частоты следования, кода и др.).
Предварительные усилители обычно выполняются в одном из двух вариантов: высокоимпедансный (интегрирующий) усилитель тока (рис. 4) или трансимпедансный усилитель — преобразователь тока в напряжение, охваченный глубокой отрицательной обратной связью (рис. 4). Первый вариант характеризуется наименьшим уровнем шумов и соответственно максимальной пороговой чувствительностью, но вместе с тем и ограниченным динамическим диапазоном, а также сложностью изготовления и индивидуальной настройкой. Для второго варианта, напротив, типичны большой динамический диапазон и широкая полоса частот, но он уступает первому по порогу срабатывания. В широкополосных трансимпедансных усилителях наилучшие шумовые характеристики достигаются при использовании биполярных транзисторов.
Схема обработки сигнала представляет собой специальный электронный фильтр, предназначенный для уменьшения межсимвольной интерференции, т. е. частичного наложения импульсов на выходе усилителя вследствие дисперсионных явлений в световоде и динамических искажений в приемопередающих модулях. В схеме принятия решения (как правило, компараторе) сигнал сравнивается с заданным смещением (порогом) и принимается решение об истинности поступившей информации.
Кроме передающих и приемных модулей в линиях дальней связи необходимы также ретрансляторы, в данном случае активные устройства с оптическими входом и выходом, в которых осуществляется регенерация (восстановление) оптических сигналов по мере их затухания при прохождении по световоду. Практически ретранслятор представляет собой объединение приемного и передающего модулей, т. е. оптоэлектронное устройство с двойным преобразованием энергии вида свет — электричество-—свет. Развитие интегральной оптики и бистабильных оптических устройств обещает привести к созданию ретранслятора ВОЛС, непосредственно оперирующего с оптическими сигналами во всех звеньях.
Характеристики
Тип файла документ
Документы такого типа открываются такими программами, как Microsoft Office Word на компьютерах Windows, Apple Pages на компьютерах Mac, Open Office - бесплатная альтернатива на различных платформах, в том числе Linux. Наиболее простым и современным решением будут Google документы, так как открываются онлайн без скачивания прямо в браузере на любой платформе. Существуют российские качественные аналоги, например от Яндекса.
Будьте внимательны на мобильных устройствах, так как там используются упрощённый функционал даже в официальном приложении от Microsoft, поэтому для просмотра скачивайте PDF-версию. А если нужно редактировать файл, то используйте оригинальный файл.
Файлы такого типа обычно разбиты на страницы, а текст может быть форматированным (жирный, курсив, выбор шрифта, таблицы и т.п.), а также в него можно добавлять изображения. Формат идеально подходит для рефератов, докладов и РПЗ курсовых проектов, которые необходимо распечатать. Кстати перед печатью также сохраняйте файл в PDF, так как принтер может начудить со шрифтами.
















