49786 (597463), страница 10
Текст из файла (страница 10)
Работа системы Photon строится на концепции "трехмерного пространства событий", которая иллюстрируется на рисунке 10.7.
Рисунок 10.7. Движение через пространство событий
Событиями в системе являются как события, инициируемые пользователем (мышью, клавиатурой), так и события, инициируемые процессами. Пространство, через которое движутся события, представляется как набор параллельно размещенных прямоугольных областей. Метафорой, давшей название системе, является движение частицы света (фотона) через ряд стеклянных пластин. На одном конце этого ряда находится корневая область, создаваемая системой, на другом конце - та область, которая представляется пользователю. Процесс, который выполняет какие-либо функции, связанные с интерфейсом, помещает свою область в этот ряд. Каждая область имеет две маски для проходящих через нее событий: маску чувствительности и маску непрозрачности. Установка бита чувствительности для определенного события определяет передачу события для обработки процессу, связанному с областью. Установка для события бита непрозрачности определяет прекращение движения события через пространство. Графические драйверы являются процессами, которые помещают свои области на переднем (ближнем к пользователю) краю ряда. Это обеспечивает также возможность распределенной обработки в сети: приложение с графическим интерфейсом может работать в одном узле сети, а результат его работы отображаться на другом узле. Физический драйвер целевого узел просто помещает свою область на переднем краю пространства событий. Подобным образом обеспечивается и отображение результатов работы приложений QNX в других графических системах: вместо драйвера в пространство событий вставляется область переходника в систему Windows или X Window.
Глава 12. Операционные системы мейнфреймов
12.1 История и архитектура мейнфреймов
Обычно на русский язык термин "мейнфрейм" переводится как "большая ЭВМ универсального назначения". Однако нам представляется, что в настоящее время такое определение уже не является точным. Современные мейнфреймы не универсальны. Они специализированы как компьютеры для обработки больших и сверхбольших объемов данных или как суперсерверы. Название одного из поколений мейнфреймов IBM ESA (Enterprise System Architecture - архитектура систем масштаба предприятия) достаточно точно отражает такую специализацию
Мейнфреймы фирмы IBM [7] имеют почти 40-летнюю историю развития, причем, развитие это протекало эволюционно, во всяком случае, с точки зрения пользователей. При любых изменениях в аппаратной архитектуре каждое следующее поколение мейнфреймов обеспечивало выполнение программного обеспечения, разработанного для предшествующих поколений, почти в полном объеме.
За время существования мейнфреймов неоднократно высказывались и приобретали широкую популярность заявления об их устаревании и скорой кончине, однако, всегда "эти слухи оказывались несколько преувеличенными", и мейнфреймы продолжали существовать и развиваться. В настоящее время в технологиях обработки информации возрастает потребность в существенно централизованных решениях, и новое поколение мейнфреймов оказывается востребованным, как никогда раньше.
Семейство мейнфреймов IBM System/360, появившееся в начале 60-х годов, стало значительной вехой в истории вычислительной техники. Во-первых, это были первые ЭВМ, которые начали выпускаться серийно, а не по индивидуальным проектам, во-вторых, они стали первым семейством ЭВМ, то есть набором моделей с разной производительностью и разной стоимостью, но с переносимостью программного обеспечения с одной модели на другую. Семейство IBM System/360 строилось на базе CISC-процессоров с богатым набором команд и несколькими режимами адресации. Эти процессоры, однако, не поддерживали динамическую трансляцию адресов, поэтому программное обеспечение работало с реальной памятью, привязка адресов осуществлялась при загрузке. (Точнее - во время выполнения, в момент загрузки "базовых" регистров, но загруженная в реальную память программа уже не могла быть перемещена.) Размер адресной шины составлял 24 бит, что позволяло адресовать 16 Мбайт памяти - реальной и виртуальной. Чрезвычайно сильным свойством IBM System/360 явилась архитектура каналов ввода-вывода [8] (см. главу 6 части I). Достоинства мейнфреймов IBM System/360 определили ведущее положение этого семейства на рынке вычислительной техники в течение всех 60-х и начала 70-х годов, и первое время конкуренты IBM, вынуждены были делать собственные компьютеры программно совместимыми с IBM System/360.
Следующим поколением мейнфреймов стало семейство IBM System/370. Принципиальным отличием его от предыдущего поколения явилось введение динамической трансляции адресов. Применялась сегментно-страничная модель трансляции, во всех ОС этого поколения каждому процессу выделялся один сегмент адресного пространства (АП), то есть, процесс обладал собственной виртуальной памятью размером в 16 Мбайт. Однако в этом поколении проявилось некоторая "успокоенность" фирмы IBM. Фирма упустила из виду одно из конкурирующих направлений развития вычислительной техники, а именно - мини-ЭВМ, так называемые, Unix-машины, ведущим производителем которых в то время была фирма Digital Equipment. Нововведений семейства IBM System/370 оказалось недостаточно, чтобы сохранить почти монопольное положение на рынке, и именно тогда возникла первая "легенда о смерти мейнфреймов".
Отличие семейства IBM System/370/XA (eXtended Architecture - расширенная архитектура) от предыдущего поколения было достаточно революционным: адресная шина расширилась до 31 бита, что позволило адресовать виртуальную память до 2 Гбайт (при этом сохранилась совместимость и со старыми 24-разрядными моделями). Другим принципиально важным нововведением расширенной архитектуры явилось введение в подсистему ввода-вывода возможности динамического определения пути к устройствам ввода-вывода и поддержка SMP-архитектуры.
Следующим поколением стало семейство IBM ESA/370. В этом семействе появилась возможность адресовать до 16 2-Гбайтных виртуальных АП. Важнейшим из других возможностей, по-видимому, явилось свойство PR/SM (Partition Resources/System Management), обеспечивающее возможность разбиения (на микропрограммном уровне) ресурсов вычислительной системы на независимые логические разделы. Семейства 370/XA и ESA/370 определили новую специализацию мейнфреймов, однако еще не вывели фирму IBM в абсолютные лидеры.
Дальнейшее развитие мейнфреймов происходило во многом благодаря конкуренции IBM с японскими фирмами (Hitachi, Fujitsu), выпускающими собственные мейнфреймы, программно совместимые с IBM. Новое семейство - IBM ESA/390 интегрировало в себе большое количество нововведений, которые в итоге определили "второе рождение" мейнфреймов. Среди этих нововведений - увеличение регистрового массива, новые средства защиты памяти, новые средства работы с числами с плавающей точкой, оптоволоконные ESCON-каналы, встроенные криптографические процессоры и аппаратная поддержка сжатия данных и, конечно, sysplex - средство комплексирования вычислительных систем. В этом семействе произошел также переход мейнфреймов на CMOS-технологию, что привело к тому, что по размерам и по энергопотреблению они стали сравнимы даже с ПЭВМ.
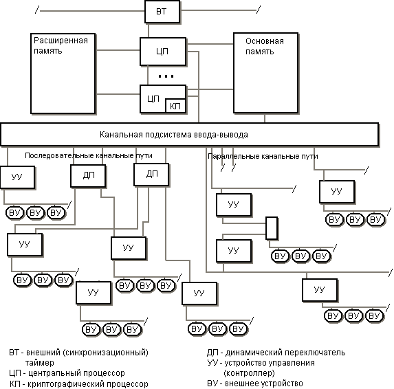
Семейство ESA/390 прочно восстановило позиции мейнфреймов в мире информационных технологий, но дальнейшее развитие требований к обработке данных повлекло за собой и появление нового семейства мейнфреймов - z/900 [40]. Главная особенность новой архитектуры - расширение адресной шины до 64 разрядов. Для понимания функционирования программного обеспечения и ОС мейнфреймов мы приведем некоторые минимальные сведения об аппаратной части z-архитектуры. На рисунке 12.1 показана логическая структура современного мейнфрейма, так называемого z-сервера.
Рисунок 12.1 Логическая структура z-сервера
Основные вычислительные свойства реализуются на симметричной многопроцессорной (до 16 z-процессоров) конфигурации. Однако реально процессоров может быть и больше, так как конфигурация может включать в себя, помимо основных z-процессоров, специализированные сервисные процессоры, криптографические процессоры, процессоры ввода-вывода и т.д. Z-процессор, как и все предыдущие поколения центральных процессоров мейнфреймов, является CISC-процессором. Свойства CISC используются в этой архитектуре в полной мере. Обязательной составной частью z-архитектуры является Лицензионный Внутренний Код (LIC), реализованный на уровне микропрограмм процессора. Интенсивное использование микропрограммирования позволяет включить в систему команд процессора очень мощные команды, обеспечивающие значительную поддержку работы операционных систем и даже конкретных приложений. Одно из различий в моделях z-процессоров состоит в том, реализованы те или иные команды в них аппаратно (в более производительных моделях) или микропрограммно.
Основной аппаратной структурой, в которой фиксируется состояние процессора, является 16-байтное Слово Состояния Программы (PSW - Program State Word). В нем отражается адрес выполняемой команды, состояние задача/супервизор, режим адресации и т.п. Дополнительная информация о состоянии содержится еще в 16 8-байтных управляющих регистрах. В системе имеется 16 8-байтных регистров общего назначения (пара смежных таких регистров может использоваться для представления 16-байтного значения) и 16 16-байтных регистров плавающей точки.
Система имеет основную (оперативную) и расширенную память. Команды и обрабатываемые данные находятся в оперативной памяти. Расширенная память является необязательным компонентом системы. Она используется как дополнительный буфер между оперативной и внешней памятью. Данные могут перемещаться между основной и расширенной памятью постранично - командами PAGE IN и PAGE OUT.
В z-процессоре адрес имеет размер 64 бита, что позволяет работать с адресным пространством (АП) размером 16 эксабайт, однако процессор поддерживает и "старые" режимы адресации - с 31-битным и 24-битным адресом (режим определяется состоянием соответствующих разрядов PSW).
В системе адресации различаются адреса: абсолютные, реальные и виртуальные адреса нескольких типов.
Абсолютный адрес - адрес в реальной памяти, фактический адрес ячейки памяти.
Реальный адрес, как правило, совпадает с абсолютным, кроме реальных адресов, меньших 8 Кбайт. Реальный адрес, меньший 8 Кбайт, преобразуется в абсолютный путем префиксации - добавления к нему значения, записанного в префиксном регистре. Область реальной памяти до 8 Кбайт используется для специальных целей системой прерываний и ввода-вывода, префиксация обеспечивает для каждого процессора в многопроцессорной системе собственную область младших адресов памяти.
Виртуальные адреса различаются четырех типов: первичные, вторичные, домашние и определяемые регистрами доступа. Для виртуальных адресов разного типа по-разному выполняется динамическая трансляция адреса. Режим динамической трансляции задается определенными битами PSW и управляющих регистров. В зависимости от режима, в процессе динамической трансляции адресов используются от двух до пяти управляющих таблиц переадресации (3 таблицы областей, таблица сегментов, таблица страниц). В системе имеется также 16 AR-регистров (регистры доступа). Регистр AR0 содержит указатель на таблицы переадресации для первичного АП. Регистры AR1-AR15 позволяют приложению адресовать еще 15 дополнительных АП.
Защита памяти в мейнфреймах z-архитектуры включает в себя традиционную для многих компьютерных систем изоляцию АП виртуальной памяти, бит защиты от выборки, бит обращения и бит изменения в дескрипторах страниц, а также предусматривает механизм, основанный на применении ключей защиты памяти. Такой ключ приписывается каждой 4-килобайтной странице. В дескрипторе каждого страничного кадра имеется 4-битный ключ доступа, обеспечивающий авторизацию программ при обращении к памяти. Каждая программа имеет свой 4-битный ключ доступа, который при выполнении программы заносится в определенные разряды PSW. При каждом обращении к памяти ключ защиты, который выбирается из PSW, сравнивается с ключом страницы, к которой происходит обращение. Запись разрешается, только при совпадении ключей. Системные (привилегированные) программы выполняются с нулевым ключом защиты, что дает им доступ к любой странице памяти.
Система ввода-вывода основывается на каналах ввода-вывода, описанных нами в главе 6 части I. Однако там мы описали строго иерархическое подключение "канал - контроллер - устройство", которое применялось в ранних реализациях. Современная архитектура мейнфреймов обеспечивает более сложную схему подключений с гибким установлением путей к устройству. Канальная подсистема ввода-вывода управляет потоком данных между основной памятью и устройствами. Как часть операции ввода-вывода, канальная подсистема выполняет проверку доступности канальных путей, выбор одного из доступных путей и инициализацию операции обмена. В системе имеется два типа канальных путей:
Параллельные канальные пути, служащие для поддержки интерфейса ввода-вывода System/360 и System/370; такой путь представляет собой электрические проводные соединения между канальной подсистемой и одним или несколькими контроллерами. До 8 контроллеров и до 256 устройств могут использовать совместно один параллельный путь.
Последовательные канальные пути ESCON и FICON состоят из двух фибероптических кабелей, динамических переключателей и контроллеров. Динамическое переключение может быть выполнено между двумя любыми последовательными канальными путями в этой же или в другой канальной подсистеме. К каждому контроллеру последовательного интерфейса может быть подключено до 256 внешних устройств.
Внешний таймер (ETR - external time reference) обеспечивает синхронизацию часов мейнфреймов, объединенных в тесно связанный комплекс (Parallel Sysplex).
Аппаратные средства z-архитектуры поддерживают программное обеспечение всех предыдущих архитектур мейнфреймов IBM, аналогично и ОС мейнфреймов развиваются эволюционным путем [21]. Эта эволюция происходит по трем параллельным линиям, история которых представлена на рисунке 12.2.
12.2 Операционная система VSE/ESA















